INSIGNIA NS-HTVLGTILT-C TV Wall Mount Installation Guide
Introduction
Congratulations on your purchase of a high-quality Insignia product. Your NS-HTVLGTILT-C represents the state of the art in TV wall mount design and is designed for reliable and trouble-free performance.
IMPORTANT SAFETY INSTRUCTIONS
SAVE THESE INSTRUCTIONS
CAUTION:
- Do not use this product for any purpose not explicitly specified by Insignia.
- Improper installation may cause property damage or personal injury. If you do not understand these directions, or have doubts about the safety of the installation, contact Customer Service or call a qualified contractor. Insignia is not responsible for damage or injury caused by incorrect installation or use.
- This product is designed for use in wood stud, solid concrete, and concrete block walls. DO NOT install into drywall alone.
- The wall must be capable of supporting five times the weight of the TV and mount combined.
- The weight of your TV must not exceed 59 kg (130 lbs.).
- This product contains small items that could be a choking hazard if swallowed. Keep these items away from young children!
Specifications
- Maximum TV weight: 59 kg (130 lbs.)
- Screen size: 47 in. to 90 in. diagonal
- Overall dimensions (H × W): 42.1 × 71.4 cm (16.6 × 28.1 in.)
- Wall-mount weight: 1.7 kg (3.8 lbs.)
- For customer service, call: 1-877-467-4289
Dimensions

Tilt range
For more information, see STEP 7 – Make adjustments.
VESA TV screw hole patterns
Your wall mount works with the following VESA TV screw hole patterns:
| 100 × 100 mm (3.9 × 3.9″) | 300 × 300 mm (11.8 × 11.8″) | 400 × 400 mm (15.7 × 15.7″) |
| 200 × 200 mm (7.9 × 7.9″) | 400 × 200 mm (15.7 × 7.9″) | 500 × 400 mm (19.7 × 15.7″) |
| 300 × 200 mm (11.8 × 7.9″) | 400 × 300 mm (15.7 × 11.8″) | 600 × 400 mm (23.6 × 15.7″) |
Tools needed
You will need the following tools to assemble your new TV wall mount:
Package contents
Parts
Make sure that you have all the hardware necessary to assemble your new TV wall mount:
Hardware
Note: You may not use all the included hardware
| LABEL | HARDWARE | QTY. |
| 03 | M6 × 12 mm screw![]() | 4 |
| 04 | M8 × 16 mm screw![]() | 4 |
| 05 | M8 × 20 mm screw![]() | 4 |
| 06 | M6 × 35 mm screw![]() | 4 |
| 07 | M8 × 35 mm screw![]() | 4 |
| 08 | M8 × 50 mm screw![]() | 4 |
| LABEL | HARDWARE | QTY. |
| 09 | M6/M8 washer | 4 |
| 12 | Spacer (22 mm) | 4 |
| 13 | Spacer (2.5 mm) | 4 |
| 14 | Lag bolt 6.5 × 69.9 mm (1/4 × 2 3/4 in.)![]() | 4 |
| 15 | Washer 6.5 mm (1/4 in.) | 4 |
Concrete installation kit (optional)
If you plan to install your wall mount to a concrete block or solid concrete wall, contact Insignia Customer Support (1-877-467-4289) to order the optional concrete installation kit.
| LABEL | HARDWARE | QTY. |
| C1 | Lag bolt 6.5 × 63.5 mm | 4 |
| C2 | Washer 6.5 mm (1/4 in.) | 4 |
| LABEL | HARDWARE | QTY. |
| C3 | Concrete anchor (Fischer UX 10 x 60R)![]() | 4 |
Installation instructions
STEP 1 – Determine whether your TV has a flat back or an irregular or obstructed back
- Carefully place your TV screen face-down on a cushioned, clean surface to protect the screen from damages and scratches.
- If your TV has a table-top stand attached, remove the stand. See the documentation that came with your TV for instructions.
- Lay the TV brackets, oriented vertically, on the back of your TV.
- Align the screw holes in the TV brackets with the mounting screw holes on your TV.
- Identify which type of back your TV has:
- Flat back: The brackets lay flush against the back of your TV and do not block any jacks. You do not need spacers when assembling the wall mount

- Obstructed back: The brackets block one or more of the jacks on the back of your TV. You will need spacers when assembling the wall mount.

- Irregularly-shaped back: There is a gap between a bracket and some part of the back of your TV. You will need spacers when assembling the wall mount.

- Flat back: The brackets lay flush against the back of your TV and do not block any jacks. You do not need spacers when assembling the wall mount
- Remove the TV brackets.
STEP 2 – Select screws, washers, and spacers
- Select the hardware for your TV (screws, washers, and spacers). A limited number of TVs come with mounting hardware included. (If there are screws that came with the TV, they are almost always in the holes on the back of the TV.) If you don’t know the correct length of the mounting screws your TV requires, test various sizes by hand threading the screws.
Select one of the following types of screws:
For a TV with a flat back:- M6 X 12 mm screws (03)
- M8 X 16 mm screws (04)
- M8 X 20 mm screws (05
For a TV with an irregular/obstructed back: - M6 X 35 mm screws (06)
- M8 X 35 mm screws (07)
- M8 X 50 mm screws (08)
Use the M6/M8 washers (09) for all TVs
For an irregular or obstructed TV back, also use the spacers (12 or 13). Select the spacer that provides an adequate space for a inset screw hole on your TV or room for cables. If you need help selecting the correct spacer, contact Insignia Customer Support.
CAUTION: To avoid potential personal injuries and property damage, make sure that there are adequate threads to secure the brackets to your TV. If you encounter resistance, stop immediately and contact customer service. Use the shortest screw and spacer combination to accommodate your TV. Using hardware that is too long may damage your TV. However, using a screw that is too short may cause your TV to fall from the mount.
- M6 X 12 mm screws (03)
- Remove the screws from the holes in the back of your TV.
- For a flat back TV, go to STEP 3 – Option 1: Attaching the mounting hardware to TVs with a flat back. OR For an irregular or obstructed back, go to STEP 3 – Option 2: Attaching the mounting hardware to TVs with irregular or obstructed backs.
STEP 3 – Option 1: Attaching the mounting hardware to TVs with a flat back
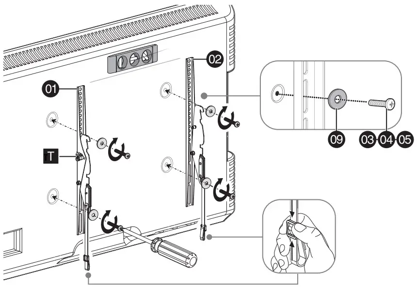
- Align the TV brackets (01 and 02) with the screw holes on the back of the TV. Make sure that the brackets are level and that the tilt tension knobs (T) face out (away from the middle of the TV).
- Install washers (09) and screws (03, 04, or 05) into the holes in the back of the TV.
- Use a Phillips screwdriver to tighten the screws until they are snug against the TV brackets. Do not over tighten.
CAUTION: Avoid potential personal injuries and property damage! DO NOT use power tools for this step. - After attaching the brackets, adjust the straps so they are level with the bottom of the TV.


STEP 3 – Option 2: Attaching the mounting hardware to TVs with irregular or obstructed backs
IMPORTANT: Make sure that the tilt tension knobs (T) face out.
- Align the TV brackets (01 and 02) with the screw holes on the back of the TV. Make sure that the brackets are level and that the tilt tension knobs face out (away from the middle of the TV).
- Install washers (09), spacers (12 or 13), and screws (06, 07, or 08) into the holes in the back of the TV.
- Use a Phillips screwdriver to tighten the screws until they are snug against the TV brackets. Do not over tighten.
CAUTION: Avoid potential personal injuries and property damage! DO NOT use power tools for this step. - After attaching the brackets, adjust the straps so they are level with the bottom of the TV.


STEP 4 – Determine the wall-mount location
Notes:
- For more detailed information on determining where to drill your holes, visit our online height finder at:
http://mf1.bestbuy.selectionassistant.com/index.php/heightfinder - Your TV should be high enough so your eyes are level with the middle of the screen. This is normally 40 to 60 in. from the ground.
The center of your TV will be offset .8 in. lower than the center of the wall plate on the wall mount. Before you drill holes in the wall:
- Measure the distance from the bottom of your TV to the center point halfway between the top and bottom mounting holes on the back of your TV. This is measurement a.
- Measure the distance from the floor to where you want the bottom of the TV to be placed on the wall. Keep in mind that the bottom of the TV should be placed above any furniture (such as entertainment centers or TV stands). The TV should also be above items placed on top of the furniture (like a Blu-ray player or cable box). This measurement is b.
- Add a + b. The total measurement is the height where you want the center of the wall plate to be on the wall.
- Use a pencil to mark this spot on the wall.


STEP 5 – Option 1: Installing on a wood stud wall
CAUTIONS:
- Any drywall covering the wall must not exceed 16 mm (5/8 in.)
- Minimum wood stud size: nominal 51 × 102 mm (2 × 4 in.) actual 38 × 89 mm (11/2 × 31/2 in.)
- Minimum horizontal space between fasteners: 406 mm (16 in.)
- Locate the stud. Verify the center of the stud with an awl or edge-to-edge stud finder.
- Align the center of the wall-plate template (10) at the height (a + b) you determined in the previous step, make sure that the template is level, then tape it to the wall.


- Drill four pilot holes through the template to a depth of 70 mm (2 3/4 in.) using a 1/8 in. (3 mm) diameter drill bit, then remove the template.
- Align the wall plate (11) with the pilot holes, insert the lag bolts (14) through the lag bolt washers (15), then through the holes in the wall plate. Make sure that the wall plate is level. Tighten the lag bolts with a socket wrench only until they are firm against the wall plate.



STEP 5 – Option 2: Installing on a solid concrete or concrete block wall
CAUTIONS:
- To prevent property damage or personal injury, never drill into the mortar between blocks. Mount the wall plate directly onto the concrete surface.
- Mount the wall plate (11) directly onto the concrete surface.
- Minimum solid concrete thickness: 203 mm (8 in.)
- Minimum concrete block size: 203 × 203 × 406 mm (8 × 8 × 16 in.)
- Minimum horizontal space between fasteners: 406 mm (16 in.)
Note: The concrete wall-mount kit is optional. Contact Insignia Customer Support (1-877-467 4289) to order the optional concrete installation kit. For more information, see Concrete installation kit (optional) on page 5.
- Align the center of the wall-mount template at the height (a + b) you determined in the previous step, make sure that it is level, then tape it to the wall.
- Drill four pilot holes through the template to a depth of 75 mm (3 in.) using a 3/8 in. (10 mm) diameter masonry drill bit, then remove the template.


- Insert the concrete wall anchors (C3) into the pilot holes and use a hammer to make sure the anchors are flush with the concrete surface.
- Align the plate with the anchors, insert the lag bolts (C1) through the lag bolt washers (C2), then through the holes in the wall plate. Make sure that the wall plate is level. Tighten the lag bolts with a socket wrench only until they are firm against the wall plate.



STEP 6 – Secure the TV to the wall plate
- Holding the TV with the top of the screen tilted toward the wall, hook the upper edges of the TV brackets (01 and 02) onto the upper lip of the wall plate (11).

HEAVY! You will need assistance with this step.
- Carefully, press the TV bottom of the TV against the wall plate. You will hear an audible click when the TV brackets are securely fastened to the wall plate.

STEP 7 – Make adjustments
- To tilt the TV, loosen the knobs on TV brackets (01 and 02), then pull or push the top of the TV to adjust the tilt. Tighten the knobs when the TV is set to the desired tilt.
- To move the TV left or right, slowly slide the TV along the wall plate (11).
- To remove the TV from the wall, pull down on the straps on TV brackets (01 and 02), then lift the TV up and away from the wall plate (11).
Tilt
Move left or right
Remove from wall
ONE-YEAR LIMITED WARRANTY
Definitions:
The Distributor* of Insignia branded products warrants to you, the original purchaser of this new Insignia-branded product (“Product”), that the Product shall be free of defects in the original manufacturer of the material or workmanship for a period of one (1) year from the date of your purchase of the Product (“Warranty Period”).
For this warranty to apply, your Product must be purchased in the United States or Canada from a Best Buy branded retail store or online at www.bestbuy.com or www.bestbuy.ca and is packaged with this warranty statement.
How long does the coverage last?
The Warranty Period lasts for 1 year (365 days) from the date you purchased the Product. Your purchase date is printed on the receipt you received with the Product.
What does this warranty cover?
During the Warranty Period, if the original manufacture of the material or workmanship of the Product is determined to be defective by an authorized Insignia repair center or store personnel, Insignia will (at its sole option): (1) repair the Product with new or rebuilt parts; or (2) replace the Product at no charge with new or rebuilt comparable products or parts. Products and parts replaced under this warranty become the property of Insignia and are not returned to you. If service of Products or parts are required after the Warranty Period expires, you must pay all labor and parts charges. This warranty lasts as long as you own your Insignia Product during the Warranty Period. Warranty coverage terminates if you sell or otherwise transfer the Product.
How to obtain warranty service?
If you purchased the Product at a Best Buy retail store location or from a Best Buy online website (www.bestbuy.com or www.bestbuy.ca), please take your original receipt and the Product to any Best Buy store. Make sure that you place the Product in its original packaging or packaging that provides the same amount of protection as the original packaging. To obtain warranty service, in the United States and Canada call 1-877-467-4289. Call agents may diagnose and correct the issue over the phone.
Where is the warranty valid?
This warranty is valid only in the United States and Canada at Best Buy branded retail stores or websites to the original purchaser of the product in the country where the original purchase was made.
What does the warranty not cover?
This warranty does not cover:
- Food, beverage, and or medicine loss/spoilage.
- Customer instruction/education
- Installation
- Set up adjustments
- Cosmetic damage
- Damage due to weather, lightning, and other acts of God, such as power surges
- Accidental damage
- Misuse
- Abuse
- Negligence
- Commercial purposes/use, including but not limited to use in a place of business or in communal areas of a multiple dwelling condominium or apartment complex, or otherwise used in a place of other than a private home.
- Modification of any part of the Product, including the antenna
- Display panel damaged by static (non-moving) images applied for lengthy periods (burn-in).
- Damage due to incorrect operation or maintenance
- Connection to an incorrect voltage or power supply
- Attempted repair by any person not authorized by Insignia to service the Product
- Products sold “as is” or “with all faults”
- Consumables, including but not limited to batteries (i.e. AA, AAA, C etc.)
- Products where the factory applied serial number has been altered or removed
- Loss or Theft of this product or any part of the product
- Display panels containing up to three (3) pixel failures (dots that are dark or incorrectly illuminated) grouped in an area smaller than one tenth (1/10) of the display size or up to five (5) pixel failures throughout the display. (Pixel based displays may contain a limited number of pixels that may not function normally.)
- Failures or Damage caused by any contact including but not limited to liquids, gels or pastes.
REPAIR REPLACEMENT AS PROVIDED UNDER THIS WARRANTY IS YOUR EXCLUSIVE REMEDY FOR BREACH OF WARRANTY. INSIGNIA SHALL NOT BE LIABLE FOR ANY INCIDENTAL OR CONSEQUENTIAL DAMAGES FOR THE BREACH OF ANY EXPRESS OR IMPLIED WARRANTY ON THIS PRODUCT, INCLUDING, BUT NOT LIMITED TO, LOST DATA, LOSS OF USE OF YOUR PRODUCT, LOST BUSINESS OR LOST PROFITS. INSIGNIA PRODUCTS MAKES NO OTHER EXPRESS WARRANTIES WITH RESPECT TO THE PRODUCT, ALL EXPRESS AND IMPLIED WARRANTIES FOR THE PRODUCT, INCLUDING BUT NOT LIMITED TO ANY IMPLIED WARRANTIES OF AND CONDITIONS OF MERCHANTABILITY AND FITNESS FOR A PARTICULAR PURPOSE, ARE LIMITED IN DURATION TO THE WARRANTY PERIOD SET FORTH ABOVE AND NO WARRANTIES, WHETHER EXPRESS OR IMPLIED, WILL APPLY AFTER THE WARRANTY PERIOD. SOME STATES, PROVINCES AND JURISDICTIONS DO NOT ALLOW LIMITATIONS ON HOW LONG AN IMPLIED WARRANTY LASTS, SO THE ABOVE LIMITATION MAY NOT APPLY TO YOU. THIS WARRANTY GIVES YOU SPECIFIC LEGAL RIGHTS, AND YOU MAY ALSO HAVE OTHER RIGHTS, WHICH VARY FROM STATE TO STATE OR PROVINCE TO PROVINCE.
Contact Insignia:
1-877-467-4289
www.insigniaproducts.com
INSIGNIA is a trademark of Best Buy and its affiliated companies.
*Distributed by Best Buy Purchasing, LLC
7601 Penn Ave South, Richfield, MN 55423 U.S.A
©2022 Best Buy. All rights reserved.
For product inquiries, please contact us with the information below:
1-877-467-4289
www.insigniaproducts.com
INSIGNIA is a trademark of Best Buy and its affiliated companies.
Distributed by Best Buy Purchasing, LLC
7601 Penn Ave South, Richfield, MN 55423 U.S.A.
©2022 Best Buy. All rights reserved.






































![Insignia Fixed-position Wall Mount For Tvs [ns-htvmfab] User Manual Insignia Fixed-position Wall Mount For Tvs [ns-htvmfab] User Manual](https://static-data1.manualsee.com/1/img/228/20775/2020/12/Insignia-Fixed-Position-Wall-Mount-for-TVs.jpg)













