WALI MF003 TV Mount User Guide
UNPACKING INSTRUCTIONS
- Carefully open the carton, remove contents and lay out on cardboard or other protective surface to avoid damage.
- Check package contents against the Supplied Parts List in the next page to assure that all components were received undamaged. Do not use damaged or defective parts
- Carefully read all instructions before attempting installation.
IMPORTANT SAFETY INFORMATION
- Install and operate this device with care. Please read this instruction before installation. and carefully follow all instructions contained herein. Use proper safety equipment during installation.
- Please call a qualified installation contractor for help if you don’t understand these directions or have any doubts about the safety of the installation.
Do not use this product for any purpose or in any configuration not explicitly specified in this instruction. We hereby disclaims any and all liability for injury or damage arising from incorrect assembly, incorrect mounting, or incorrect use of this product.
Supplied Parts List
- (1)Pole-a

- (1)Weighted Base-b

- (1)Swivel Arm-c

- (2)VESA Plate-d1

- (1)VESA Plate-d2

- (2)Nut-e

- (1)M4x6 Bolt-f

- (3)M5x14 Bolt-g

- (1)M10 Bolt-i

- (1)Support Plate-j

- (1)M10 Washer-k

- (1)Spring Washer-I

- (1)Grommet Base Plate-m

- (1)Wire Clip-n1

- (4)Wire Clip-n2

- (1)Allen Key-o

- (1)Wrench-p

- (12)M4x12 Thumb Bolt-q

- (12)M4x30 Bolt-r

- (12)M4 Spacer-s

- (1)So ft Pad-t

Install the Pole to the Desktop
Step 1
Option A: Weighted Base Install
- Install the Pole(a) to the Weighted Base(b) using 3pcs M5x14 Bolts(g), and tighten using the Allen Key(o), see Figure 1.

- Optionally, you can drill a 10mm diameter hole in your desk and secure using the Support Plate (j), M10 Washer(k), Spring Washer(l) and M10 Bolt(i). Fasten the M10 Bolt with provided Wrench(p), see Figure 2.

Option B: Grommet Base Install
Existing Grommet Hole Installation
If the existing grommet hole comes with a plastic protector, remove it to ensure a flat surface before installing the desk mount.
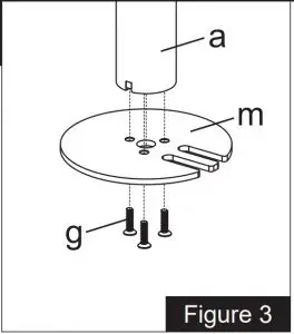
- Install the Grommet Base Plate(m) to the Pole(a) using 3pcs M5x14 Bolts(g), and tighten using the Allen Key(o), see Figure 3.

- Attach Soft Pad(t) to the Grommet Base Plate(m), see Figure 4.

- Position the Pole(a) on the mounting surface and secure using the Support Plate (j), M10 Washer(k), Spring Washer(l) and M10 Bolt(i). Fasten the M10 Bolt using provided Wrench(p), see Figure 5.

Option C: Grommet Base Install
Self Drilled Grommet Hole Installation
- Position the Pole(a) on the mounting surface and mark the center hole. Drill a 3/8″ (10mm) diameter hole at the marked position through the mounting surface.
- Install the Grommet Base Plate(m) to the Pole(a) using 3pcs M5x14 Bolts(g), and tighten using the Allen Key(o), see Figure 6.

- Attach Soft Pad(t) to the Grommet Base Plate(m), see Figure 7.

- Position the Pole(a) on the mounting surface and secure using the Support Plate (j), M10 Washer(k), Spring Washer(l) and M10 Bolt(i). Fasten the M10 Bolt using provided Wrench(p), see Figure 8.

Step 2 : Install Arm to the Pole
Install Swivel Arm(c) to the Pole (a). Fasten the bolt with supplied Allen Key(o). Attach the Wire Clip (n1,n2) to the Pole(a) and Swivel Arm(c).

Attach the Side VESA Plates to the Monitors
Step 3 A
- For Monitor with Flat Back

- For Monitor with Curved or Recessed Back

Step 3B
- For Monitor with Flat Back

- For Monitor with Curved or Recessed Back

Slide the Side Monitors onto the Head of Swivel Arm
Step 4A
- Slide the monitor onto the head of Swivel Arm(c) as shown in the above diagram.

- Install the security Nut(e). Make sure the security nut is installed before you rotate the monitor.

Step 4B
- Slide the monitor onto the head of Monitor Arm(c) as shown in the above diagram.

- Install the M4x6 Bolt(f). Make sure the bolt is installed before you rotate the monitor.

Fix the Tilt Angle of Side and Center Monitors
Step 5
- Tighten the bolt with the supplied Allen Key(o) to fix the tilt angle.

- Fasten the grub screw in monitor arm to fix the tilting angle by provided Allen Key(o).

Adjust the Horizontal Level of Monitors
Step 6
- Adjust the heigh of Centre Monitor: Turn the bolt counterclockwise to lower the center monitor, turn the bolt clockwise to raise the center monitor.

- Adjust the height of Side Monitors: Remove the Nut(e) and turn the bolt counter-clockwise with supplied Allen key(o) to raise the monitor. Install the Nut(e) after the adjustment.

Manage the Wires
Step 7
- Manage the wires and store the Allen keys(o) in Wire Clip(n1) for future use.




























































