Neomounts FPMA-W820 TV mount
Tools and Measurement

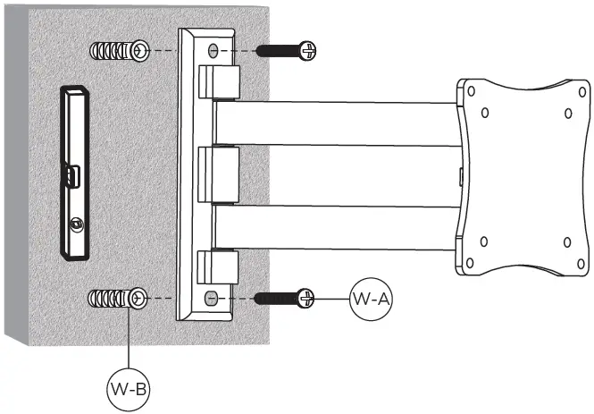
PARTS

Overview
How to assemble
STEP 1 A
Install the wall plate on a wooden stud

STEP 1 B
Install the wall plate on a solid brick or concrete wall
STEP 2
Attach the TV bracket to the back of the screen
STEP 3
Loosen the screws
STEP 4
Adjust the screen to your desired position and tighten the screws again
CAUTION
- To ensure safety, please read this manual carefully before installation and follow the instructions. Store this manual in a secure place for future reference.
- The manufacturer shall not be legally responsible for any equipment damage or personal injury caused by incorrect installation or operation other than that covered in this manual.
- The mount is designed for easy installation and removal. The manufacturer shall not be liable for damage to equipment or personal injuries arising out of human factors or acts of nature, such as earthquakes or typhoons.
- It is recommended that the mount be installed by qualified personnel only.
- At least two persons are needed to install or remove the product to avoid the hazard of falling objects.
- Please carefully inspect the area where the mount is to be installed: Avoid places that are subject to high temperatures, humidity, or contact with water
- Do not install the product near air conditioning vents or areas with excess dust and Tumes.
- Only install on vertical walls and avoid slanted surfaces.
- Do not install in places subject to any shock or Vibration.
- Do not install in places subject to direct exposure to bright light, as it may cause eye fatigue when viewing the display panel.
- Maintain sufficient space around the display to ensure adequate ventilation.
- To ensure a safe installation, first check the structure of the wall, ceiling, or floor and select a secure mounting location. The wall, ceiling or floor should be strong enough to sustain a weight of at least four times the display and mount combined. The mounting location must be able to withstand earthquakes or other strong shocks.
- Do not modify any accessories or use broken parts. Contact your dealer with any questions.
- Tighten all screws (do not exert excessive force to avoid breaking the screw or damaging its thread).
- Drill holes and bolts will be left in the wall, ceiling, or floor once the display and bracket are removed. Stains may occur after extended use.
- Since the manufacturer has no way to control the wall, ceiling, or floor type and installation of the mount, the warranty of the product shall only cover the body of the mount. The warranty period of the product is 5 years.
- Please consult the English language manual for any dispute on conditions.
User Support
- Address: Neomounts Computer Products Europa B.V. I Wateringweg 62 I 2031 EJ Haarlem I The Netherlands I
- Contact no. +3 1(0)23-5478888
- Support: [email protected]
- Email: www.neomounts.com
Chamber of Commerce 37076185 (VAT NL805154383B0 1 I BIC RABONL2U I IBAN NL51RABO0375403299
FAQ’s
The mounting holes on your flat panel are commonly attached to these straps, and the other end is usually drilled into your furniture and/or the wall. Instead of normal screws, use drywall fasteners or studs because they won’t easily come out of the drywall.
This implies that it should function as long as the TV mount you select is rated for the size of your television. Several VESA pattern sizes are used by televisions. For televisions up to 32 inches, the most common standards are VESA 200 x 200, VESA 400 x 400, and VESA 600 x 400.
Using a cable concealer kit, sometimes referred to as a cable raceway, the cabling for a mounted TV can be concealed. It is a smooth, flat PVC cover that uses adhesive to attach to the wall rather than requiring any further drilling.
TV size and weight seem to go hand in hand. As TVs get bigger, they get heavier. It will be mentioned how much weight the mount can support and how many VESA standards it can accommodate. The mount should have no trouble holding its weight as long as your TV is within the authorized range.
TVs up to 84 inches and 132 pounds can be supported by a USX Mount full-motion mount with tilt and swivel capabilities. It can be adjusted up to 45 degrees and extends 16.49 inches from the wall.
When selecting the ideal TV mount, size does matter, but occasionally it could not. It is simple to fit nearly any television to almost any installation because the majority of TVs and mounts follow the Video Electronics Stands Association (or, VESA) standard.
Bad fits usually happen when the fitting is inserted into a hole that is just a little too big for it.
If a high-quality wall mount is the perfect size for your TV and is placed properly by a competent installation professional, it will last a lifetime.
Hollow-wall sheetrock The maximum overall weight for TV mount installations is around 100 pounds (including the TV, peripherals, and mount).
By simply hanging your TV on the wall, you can save a lot of space compared to using a TV stand or media cabinet.
Electronic components that are surface- or wall-mounted DO NOT TRANSFER WITH THE HOME. Hence, unless otherwise specified, the dealer will accept any such things.
The TV wall mount bracket is by far the most popular category. The mounting hole patterns on the back of your TV are used by these sturdy frames, which are typically made of reinforced steel, to grip and hold the TV in place while anchoring it into the wall.
In other words, a low-profile TV wall mount aids in mounting your TV to the wall. The TV may move in addition to being fixed, tilting, twisting, and expanding when it is mounted in full motion. A fixed TV wall mount often has a modest price.
A TV stand would be perfect for you if you constantly plug and unplug a lot of devices.
Download this PDF Link: Neomounts FPMA-W820 TV mount Instructions Manual



















