Neomounts FPMA-W832 TV Wall Mount

Specifications
- Brand: Neomounts
- Model: FPMA-W832
- Mounting type: Wall Mount
- Movement Type: Rotate, Swivel, Articulating, Tilt
- TV size: 30 Inches
- Color: Black
- Minimum compatible size: 10 Inches
- Compatible devices: Televisions
- Maximum tilt angle: 30 Degrees
Description
Product Overview

A tilt-, swivel-, and rotatable wall mount from Neomounts, model FPMA-W832, is available for flat screens up to 30″. When you want the most viewing versatility for your flat screen, this mount is a wonderful option. The display may be effortlessly removed from the wall, moved in almost any direction, turned around corners, and then put back in place.
To fully make use of the possibilities of a flat screen, Neomounts’ tilt (30°), rotate (360°), and swivel (180°) technology allows the mount to shift to any viewing angle. Mount depth can be readily changed between 9 and 42 centimeters. From the mount to the flat screen, cables are hidden and routed via cable management. To keep your living room, bedroom, or home theatre installation neat and orderly, hide your cords.
Neomounts FPMA-W832 is ideal for screens up to 30″ and has three pivot points (76 cm). Each screen in this product can support 15 kg of weight. The wall mount can be used with screens that have holes that are 75×75 or 100×100 mm in size. Neomount’s VESA adaptor plates can accommodate various hole designs. For your flat-screen TV in the living room, bedroom, or home theatre, create a modern aesthetic. Everything you need for installation is provided with the package.
Part

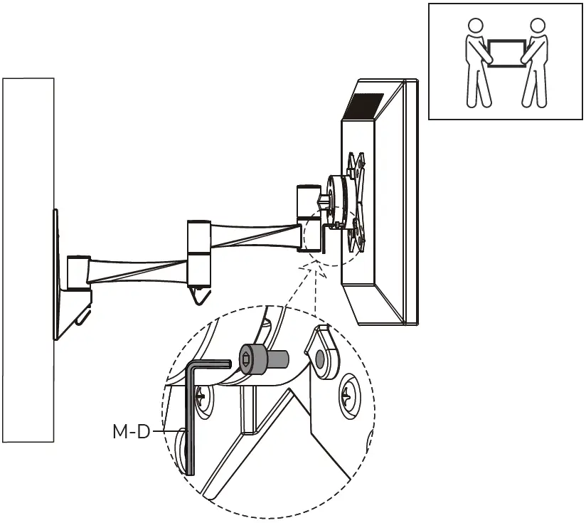
How to Install
Steps are given in the following
- Step one
- A: Install the wall plate on a wooden stud

- B: Install the wall plate on a solid brick or concrete wall

- A: Install the wall plate on a wooden stud
- Step Two: Attach the VESA plate to the screen

- Step Three: Attach the screen to the bracket and secure it

- Step Four: Adjust the torque and adjust the mount to your desired position
Caution
- To ensure safety, please read this manual carefully before installation and follow the instructions. store this manual in a secure place for future reference.
- The manutacturer shall not be legally responsible for any equipment damage or personal injury caused by incorrect installation or operation other than that covered in this manual.
- The mount is designed for easy installation and removal. The manufacturer shall not be liable for damage to equipment or personal injuries arising out of human factors or acts of nature, such as earthquakes or typhoons.
- It is recommended that the mount be installed by qualified personnel only.
- At least two persons are needed to install or remove the product to avoid the hazard of falling objects.
- Please carefully inspect the area where the mount is to be installed:
- Avoid places that are subject to high temperatures, humidity, or contact with water,
- Do not install the product near air conditioning vents or areas with excess dust and fumes.
- Only install on vertical walls and avoid slanted surfaces.
- Do not install in places subject to any shock or vibration.
- Do not install in places subject to direct exposure to bright light, as it may cause eye fatigue when viewing the display panel.
- Maintain sufficient space around the display to ensure adequate ventilation.
- To ensure a safe installation, first check the structure of the wall, ceiling, or floor and select a secure mounting location.
- The wall, ceiling, or floor should be strong enough to sustain a weight of at least four times the display and mount combined. The mounting location must be able to withstand earthquakes or other strong shocks.
- Do not modify any accessories or use broken parts. Contact your dealer with any questions.
- Tighten all screws (do not exert excessive force to avoid breaking the screw or damaging its thread).
- Drill holes and bolts will be left in the wall, ceiling, or floor once the display and bracket are removed. Stains may occur after extended use.
- Since the manufacturer has no way to control the wall, ceiling, or floor type and installation of the mount, the warranty of the product shall only cover the body of the mount. The warranty period of the product is 5 years.
- Please consult the English language manual for any dispute on conditions
FAQ’s
Do all monitors and display mounts function together?
The most monitors that can normally be put on a monitor arm is this amount. On the back of the display, there are the conventional VESA hole designs of 75 x 75 mm or 100 x 100 mm for connection to a monitor arm.
How should I pick the best monitor mount?
Simply look at the back of your computer monitor to see if it meets with VESA requirements. You should be able to see the typical four-hole screw pattern there if your display is compliant. While 75 x 75 mm or 100 x 100 mm screw hole designs are the most typical, larger monitors will have 200 x 100 mm screw holes.
Are monitor mounts a good investment?
The key realization is that an excellent monitor arm can improve office ergonomics. Even without an ergonomic intervention, using it improves posture through the neck and lower body, although positioning the device at the right height, distance, and angle definitely helps,
What kinds of monitor mounts are there?
Either a stand that rests on top of your desk or a clamp attachment, grommet mount, or rail system can be used to secure monitor mounting choices to your desk. Instead of being on a stand, this size of mount is more frequently found affixed directly to the desk.
Does shipping of monitor mounts include screws?
The screws for the monitor are missing, but the mounting bracket for the 100mm VESA mounting points should contain them as well if you are missing any screws.
The size of monitor mounts is uniform.
Flat screens, LCD displays, monitors, and televisions are all attached to a TV or monitor stands using the VESA standard.
Can a monitor mount damage my desk?
When installing the monitor, make sure the weight is spread equally. Again, you run the chance of getting wounded if the desk isn’t robust enough.
Why is there a monitor mount?
By adjusting the monitor’s height, depth, and, in most cases, tilt, a monitor arm enables you to place the screen in the most comfortable position.
Which advantages do the monitor arms offer?
Usually, it is secured with a clamp to the back of your desk. As you can see, using a monitor arm gives you the advantage of being able to adjust the distance between your hands, eyes, and the keyboard and your computer screen.
Is it possible to attach a monitor without studs?
When studs are not available, some of the easiest options to mount a television are with conical or expanding anchors.
How many distinct kinds of mounting exist?
The three recognized techniques for producing a mount are dry mounting, wet mounting, and ready mounting.
How much room is required by a monitor mount?
The normal Jarvis Monitor Arm’s range of motion requires 3 to 4 inches of room behind the desk in order to be fully utilized. For the Dual Jarvis Monitor Arm to pull the monitors close together over the desktop there must be at least 7 inches of clearance.
How can I stop the tilting of the monitor arm?
You can increase tension by turning anticlockwise in the direction of the “+” symbol if your monitors are dropping too low.
Do premium monitor wall mounts exist?
Instead of sitting near the screen, mounting the monitor on the wall allows you to look up, which eases the vertebrae in your neck and back. It also aids in improving sitting posture for overall enhanced wellness.
What varieties of TV wall mounts exist?
There are three main types of the best TV wall mounts: tilt, articulating, and flat.
Download this PDF Link: Neomounts FPMA-W832 TV Wall Mount Instructions Manual





















