NEWSTAR Neomounts FPMA-W925 TV Wall Mount

PARTS

STEP 1: Install the wall plate on a wall

STEP 2: Attach the arm to the rod and secure it

STEP 3: Attach the screen onto the bracket and secure it
OPTION A

OPTION B & C

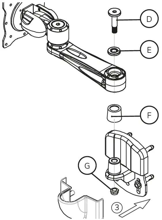
STEP 4: Secure the bracket.

CAUTION




















