Neomounts by Newstar FPMA-W822 TV Monitor Wall Mount

Specifications
- Product Dimensions: 21 x 29 x 9 cm
- Mounting type: Wall Mount
- Movement Type: Rotate, Swivel, Tilt
- TV size: 30 Inches
- Compatible devices: Televisions
- Maximum tilt angle: 30 Degrees
- Brand: Neomounts
Introduction
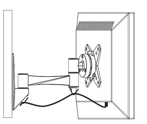
The NewStar FPMA-W822 is ideal for screens up to 30″ and has two pivot points (76 cm). Each screen in this product can support 15 kg of weight. The wall mount can be used with screens that have holes that are 75×75 or 100×100 mm in size. NewStar VESA adapter plates can accommodate various hole designs. For flat screens up to 30″, the NewStar wall mount, model FPMA-W822, features tilt, swivel, and rotational motion (76 cm). When you want the most viewing versatility for your flat screen, this mount is a wonderful option. The display may be effortlessly removed from the wall, moved in almost any direction, turned around corners, and then put back in place.
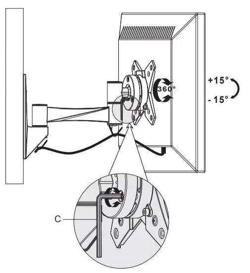
With the help of NewStar’s tilt (30°), rotate (360°), and swivel (180°) technology, the mount can be adjusted to any viewing position to take full advantage of the flat screen’s capabilities. The mount’s depth can be simply changed from 9 to 26 centimeters. From the mount to the flat screen, cables are hidden and routed via cable management. To keep your living room, bedroom, or home theatre installation neat and orderly, hide your cords.
What’s In the Box?


Installational
Step 1
Remove the VESA plate

Step 2a
Install the wall plate on a wood stud

Step 2b
Install the wall plate on a solid brick or concrete wall
Step 3
Install the Cable Clips

Step 4
Attach the VESA Plate to the screen

Step 5
Attaching the screen onto the bracket.

Step 6
Routing Cables

Step 7
Adjusting the torque

Step 8
Adjust the mount to your desired position.

Frequently Asked Questions
The maximum weight capacity of the Neomounts by Newstar FPMA-W822 TV Monitor Wall Mount is 30 kg or 66 lbs.
The Neomounts by Newstar FPMA-W822 TV Monitor Wall Mount is compatible with screens ranging from 10″ to 32″ in size.
The Neomounts by Newstar FPMA-W822 TV Monitor Wall Mount supports VESA patterns of 75x75mm and 100x100mm, which are common VESA patterns used for most monitors and TVs.
Yes, the Neomounts by Newstar FPMA-W822 TV Monitor Wall Mount allows for tilting. It has a tilt range of -90° to +90°, which means you can tilt your TV or monitor to achieve the desired viewing angle.
Yes, the Neomounts by Newstar FPMA-W822 TV Monitor Wall Mount also allows for swiveling. It has a swivel range of -90° to +90°, which means you can swivel your TV or monitor to adjust the viewing angle horizontally.
Yes, the Neomounts by Newstar FPMA-W822 TV Monitor Wall Mount also supports rotation. It has a rotation range of -180° to +180°, which means you can rotate your TV or monitor to switch between landscape and portrait orientations.
Yes, the Neomounts by Newstar FPMA-W822 TV Monitor Wall Mount comes with a comprehensive installation manual and all the necessary hardware for installation, making it relatively easy to install. However, it is recommended to have basic DIY skills and use proper tools for a secure and safe installation.
The Neomounts by Newstar FPMA-W822 TV Monitor Wall Mount typically includes the wall mount bracket, installation manual, and all the necessary screws and other hardware for installation. It may also include additional accessories such as a bubble level or cable management clips, depending on the specific package.
No, the Neomounts by Newstar FPMA-W822 TV Monitor Wall Mount is not designed for outdoor installations. It is intended for indoor use only and should not be exposed to outdoor elements such as rain, snow, or extreme temperatures.
Yes, the Neomounts by Newstar FPMA-W822 TV.
Download PDF Link:Neomounts-by-Newstar FPMA W822 TV Monitor Wall Mount



















