Neomounts FPMA-WP200 TV Pole Mount

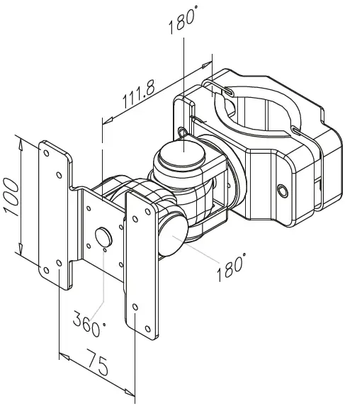
Dimension Layout Overview

Tools and Measurement

PARTS

Assembling
The steps are the following:
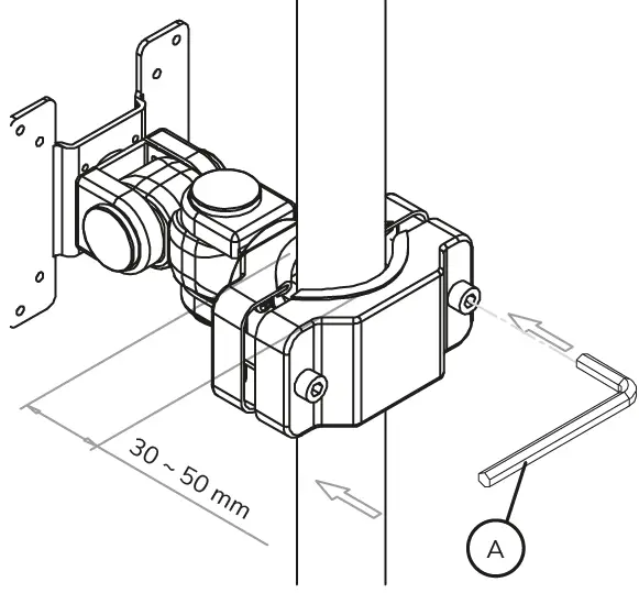
STEP 1
Fix the mount to the pole (vertical)

STEP 2
Attach the VESA Plate to the monitor

STEP 3
Adjust the mount to your desired position and adjust the torque

OPTION
Fix the mount to the pole (horizontal)


Caution
- To ensure safety, please read this manual carefully before installation and follow the instructions. store this manual in a secure place for future reference.
- The manufacturer shall not be legally responsible for any equipment damage or personal injury caused by incorrect installation or operation other than that covered in this manual.
- The mount is designed for easy installation and removal. The manufacturer shall not be liable for damage to equipment or personal injuries arising out of human factors or acts of nature, such as earthquakes or typhoons.
- It is recommended that the mount be installed by qualified personnel only.
- At least two persons are needed to install or remove the product to avoid the hazard of falling objects.
- Please carefully inspect the area where the mount is to be installed:
- Avoid places that are subject to high temperatures, humidity, or contact with water,
- Do not install the product near air conditioning vents or areas with excess dust and fumes.
- Only install on vertical walls and avoid slanted surfaces.
- Do not install in places subject to any shock or vibration.
- Do not install in places subject to direct exposure to bright light, as it may cause eye fatigue when viewing the display panel.
- Maintain sufficient space around the display to ensure adequate ventilation.
- To ensure a safe installation, first check the structure of the wall, ceiling, or floor and select a secure mounting location.
- The wall, ceiling, or floor should be strong enough to sustain a weight of at least four times the display and mount combined. The mounting location must be able to withstand earthquakes or other strong shocks.
- Do not modify any accessories or use broken parts. Contact your dealer with any questions.
- Tighten all screws (do not exert excessive force to avoid breaking the screw or damaging its thread).
- Drill holes and bolts will be left in the wall, ceiling, or floor once the display and bracket are removed. Stains may occur after extended use.
- Since the manufacturer has no way to control the wall, ceiling, or floor type and installation of the mount, the warranty of the product shall only cover the body of the mount. The warranty period of the product is 5 years.
- Please consult the English language manual for any dispute on conditions.
User Support
- Address: Neomounts Computer Products Europa B.V. I Wateringweg 62 I 2031 EJ Haarlem I The Netherlands I
- Contact no. +3 1(0)23-5478888
- Support: [email protected]
- Email: www.neomounts.com
FAQ’s
The maximum weight capacity of the Neomounts FPMA-WP200 TV Pole Mount is 30 kilograms (66 pounds).
The Neomounts FPMA-WP200 TV Pole Mount can accommodate TVs with screen sizes between 32 inches and 55 inches.
The minimum distance between the TV and the pole when using the Neomounts FPMA-WP200 TV Pole Mount is 85 millimeters (3.35 inches).
The maximum distance between the TV and the pole when using the Neomounts FPMA-WP200 TV Pole Mount is 365 millimeters (14.37 inches).
The Neomounts FPMA-WP200 TV Pole Mount supports VESA patterns from 200x200mm up to 400x400mm.
Yes, the Neomounts FPMA-WP200 TV Pole Mount is adjustable. It allows for tilting up to 15 degrees and swiveling up to 180 degrees.
Yes, the installation hardware required for installation is included with the Neomounts FPMA-WP200 TV Pole Mount.
No, the Neomounts FPMA-WP200 TV Pole Mount is not designed for outdoor use and should only be used indoors.
A TV Pole Mount is a device that attaches to a pole or post and holds a TV securely in place. It is typically used in public spaces, such as offices, waiting rooms, or other areas where multiple people need to view the TV at the same time.
Neomounts TV Pole Mounts are designed to fit a wide range of TV sizes and brands. However, it’s important to check the specifications of the mount to ensure it will work with your TV. Look for information about the maximum weight capacity, VESA compatibility, and TV size range.
Yes, most Neomounts TV Pole Mounts allow you to adjust the height of the TV to suit your needs. Some models may have more height adjustment options than others, so be sure to check the specifications before purchasing.
Yes, many Neomounts TV Pole Mounts have tilt and swivel functions that allow you to adjust the angle of the TV. This can be useful for reducing glare or adjusting the viewing angle for different seating positions.
Installation instructions will vary depending on the specific model of Neomounts TV Pole Mount you have. However, most mounts are designed to be easy to install and come with all the necessary hardware and instructions. It’s important to follow the instructions carefully to ensure a safe and secure installation.
Download this PDF Link: Neomounts FPMA-WP200 TV Pole Mount Instructions Manual


















