mi MOUNT-IT Installation Guide

UNPACKING INSTRUCTIONS
- Carefully open the carton, remove contents and lay out on cardboard or other protective surface to avoid damage.
- Check package contents against the Supplied Parts List in the next page to assure that all components were received undamaged. Do not use damaged or defective parts.
- Carefully read all instructions before attempting installation.
IMPORTANT SAFETY INFORMATION
- Install and operate this device with care. Please read this instruction before installation, and carefully follow all instructions contained herein. Use proper safety equipment during installation.
- Please call a qualified installation contractor for help if you don’t understand these directions or have any doubts about the safety of the installation.
Do not use this product for any purpose or in any configuration not explicitly specified in this instruction. We hereby disclaims any and all liability for injury or damage arising from incorrect assembly, incorrect mounting, or incorrect use of this product.
Supplied Parts List

CAUTION!
The monitor desktop mount must be evenly positioned on a stable horizontal surface. If the mount is not positioned in a balanced manner, it may fall, resulting in possible injury and/or damage. The optional desktop bolt may be used to provide additional stability.
Installation
Step 1: Install the Pole to the Desktop
Option A: Weighted Base Install

- Install the Pole(a) to the Weighted Base(b) using 3pcs M5x14 Bolts(e), and tighten using the Allen Key(o), see Figure 1.
- Optionally, you can drill a 10mm diameter hole in your desk and secure using the Support Plate (j), M10 Washer(k), Spring Washer(l) and M10 Bolt(i). Fasten the M10 Bolt with provided Wrench(p), see Figure 2.
Option B: Grommet Base Install
Existing Grommet Hole Installation


If the existing grommet hole comes with a plastic protector, remove it to ensure a flat surface before installing the desk mount.
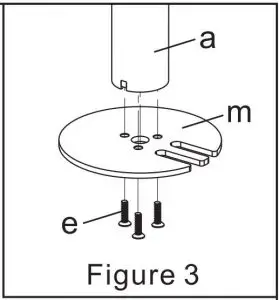
- Install the Grommet Base Plate(m) to the Pole(a) using 3pcs M5x14 Bolts(e), and tighten using the Allen Key(o), see Figure 3.
- Position the Pole(a) on the mounting surface and secure using the Support Plate (j), M10 Washer(k), Spring Washer(l) and M10 Bolt(i). Fasten the M10 Bolt using provided Wrench(p), see Figure 4.
Self Drilled Grommet Hole Installation


- Position the Pole(a) on the mounting surface and mark the center hole. Drill a 3/8″ (10mm) diameter hole at the marked position through the mounting surface.
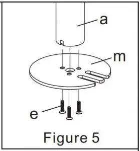
- Install the Grommet Base Plate(m) to the Pole(a) using 3pcs M5x14 Bolts(e), and tighten using the Allen Key(o), see Figure 5.
- Position the Pole(a) on the mounting surface and secure using the Support Plate (j), M10 Washer(k), Spring Washer(l) and M10 Bolt(i). Fasten the M10 Bolt using provided Wrench(p), see Figure 6.
Step 2: Install Arm to the Pole
Install Swivel Arm(c) to the Pole(a). Fasten the bolt with supplied Allen Key(o). Attach the Wire Clip(n1,n2) to the Pole(a) and Swivel Arm(c).

Step 3: Attach the VESA Plate to the Monitor

Step 4: Slide the Monitor onto the Head of Swivel Arm

Step 5: Fix the Tilt Angle and Adjust the Level of Monitor

Step 6: Make the Necessary Adjustments and Manage the Wires

Thank you for choosing our products!
Read More About This Manual & Download PDF:

















