HUANUO HNCM12 Monitor Desk Mount

Technical Support:
1-800-556-0533 Mon-Fri 8am – 8pm (CST)
Other Info:
[email protected] (US/CA)
IMPORTANT SAFETY INFORMATION
Please carefully read all instructions before attempting installation. If you do not understand the instructions or have any concerns or questions, please contact our Technical Support line at 1-800-556-0533 or customer service at [email protected].
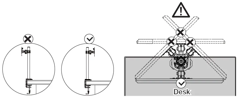
CAUTION: Avoid potential personal injuries and property damage!
- Do not use this product for any purpose that is not explicitly specified in this manual. Do not exceed weight capacity. We are not liable for damage or injury caused by improper mounting, incorrect assembly or inappropriate use.
- The desk must be capable of supporting five times the weight of the monitor and mount combined.
Check the VESA Pattern of Your Monitor before the Installation
Minimum VESA pattern: 75mm/3 in (W)x75mm/3 in (H)

Note:
For the thin PB desks or glass table tops, you will need our Monitor Mount Reinforcement Plate HNDA1(ASIN: B08CK24TCX ), which provides a better way to install your monitor mount on a desktop through C clamp installation.
If your monitor does not have any mounting hole, you will need our Universal VESA Bracket Kit HNMUA4(ASIN: B088CWY5Q3)(Fits most monitors within the size of 32 in)
If your monitor VESA is greater than 100×100 mm/4×4 in or less than VESA 75×75 mm/3×3 in, this mount is NOT compatible.
If this mount is NOT compatible, please contact customer service at [email protected] to find a compatible mount.
Tools Needed (Not Included)

Supplied Parts and Hardware
Warning: This product contains small items that could be a choking hazard if swallowed. Before starting assembly, verify all parts are included and undamaged. Do not use damaged or defective parts. If you require replacement parts, please contact our Technical Support line at 1-800-556-0533 or customer service at [email protected].
- Please note: Not all hardware included in this package will be used.
Supplied Parts and Hardware for Step 1
Supplied Parts for Step 2

Supplied Parts and Hardware for Step 3

Supplied Hardware for Step 4

Step 1
Install the Base
Option A:
C-Clamp Installation





Option B:
Grommet Installation



- If the existing grommet hole comes with a plastic protector, remove it to ensure a flat surface before installing the desk mount.
- If there is no grommet hole on your desk, mark the pilot hole on your your desired position. Drill a hole using the drill bit in a diameter of 7/16 in (11mm) – 55/64 in
(22mm) at the marked position through the mounting surface.
Step 2
Secure the Monitor Connector and Decorative Cover to Pole Assembly

Step 3
Attach the Faceplate to the Back of Monitor

Step 4
Hang the Monitor to the Stand

Step 5
Adjust the Tilt Angle and Manage the Cables

Tilt Adjustment
- If the monitors can stay at the desired height by itself, no adjustment needed.
- The tilt angle of the monitor will not be adjusted if the set screw [T] is over-tightened. In this case, you need to turn the set screw [T] in anti-clockwise direction to decrease torque until the monitors can be hovered at any position.
- The monitors will drops automatically if the set screw [T] is over-loosen. In this case, you need to turn the set screw [T] in clockwise direction to increase torque until the monitors can be hovered at any position.
Warning:
To avoid tipping, please be careful not to extend the monitor too far backward. When you adjust the angle of the monitor, please make sure the monitor is balanced to avoid instability of the center of gravity of the base.



















