HUANUO Gas Spring Aluminum Monitor Desk

Thank you for choosing this Huanuo product! At Huanuo we strive to provide you with the best quality products and services in the industry.
IMPORTANT SAFETY INFORMATION
- Please carefully read all instructions before attempting installation. If you do not understand the instructions or have any concerns or questions, please contact our customer service at [email protected].
CAUTION: Avoid potential personal injuries and property damage! - Do not use this product for any purpose that is not explicitly specified in thismanual. Do not exceed weight capacity. We are not liable for damage or injury caused by improper mounting, incorrect assembly or inappropriate use.
- This product contains a high pressure gas spring, fire and percussion prohibited.
Also it is strictly prohibited to dismantle without professionals. Please return to the manufacturer or hand over to professional agencies if the product is abandoned. - The desk must be capable of supporting three times the weight of the total load (the mount, the monitor and all accessories weight). Don’t use the product on particle board.
Weight Restrictions

|
| DO NOT exceed the maximum weight indicated. This mounting system is intended for use only with the maximum weights indicated. Use with products heavier than the maximum weights indicated may result in failure of the mount and its accessories, causing possible damage or injury. |
If your monitor or laptop weighs more, this mount is NOT compatible.
Check the VESA Pattern of Your Monitor before You Begin the Installation

If your Monitor VESA is greater than 100×100 mm/4×4 in. or less than VESA 75x75mm/3x3in., this mount is NOT compatible.
If this desk mount is NOT compatible, please contact customer service at [email protected] to find a compatible product.
SUPPLIED PARTS AND HARDWARE


TOOLS REQUIRED NOT INCLUDED

Step 1 Install the Base
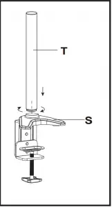
A. For Clamp Mounting
- Measure the thickness of desktop


- a. Adjust the base according to the thickness of desktop

b. Connect the pole [T] to the base [S]
- Secure the base assembly to the desktop

B. For Grommet Mounting
- Detach the base [S] entirely

- connect the pole [T] to the desktop foot [b]

- Keep the rubber pad [e] and 4pcs preassembled bolts for next step when detaching the base

- Install base plate [R] and rubber pad [e] to desktop foot with 4pcs bolts

- Install the pole assembly with bolt [d] and clip plate [a]

- Secure the pole assembly to the desktop

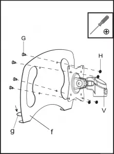
Step 2 Attach the VESA Plates to the Monitors

Step 3 Secure the Arm Assembly to the Pole Assembly
Step 3-1 Slide the locating ring [Q], extension arm [Y], locating ring [Q] and supporting part [X] in sequence to the pole.
Step 3-2 Slide the two extension arms [Y] to the supporting part [X] and tighten them using Allen key
Attach the two compression arms [W] to the two extension arms [Y] and tighten them using Allen key [L]

Step 4 Attach the Monitor and Laptop Tray to Arms

Step 5 Adjustments
NOTE: Turn clockwise to reduce tension for lighter monitors and counter-clockwise to increase tension for heavier monitors. Keep adjusting until monitor can keep still at any position.

Be sure to keep the arm in horizontal position during adjustment. Or else, it would be difficult to adjust the mount.

To ensure the swivel function, please don’t over-fasten the bolt
Step 6 Route the Cables
Secure the line hooks [Z] to the compression arms [W] , then route the cables into line hooks [Z] on the compression arms [W] and the line hooks preassembled on the extension arms [Y]
Website:
www.huanuoav.com
Please share your experience of our product with others on www.huanuoav.com/reviews if you are satisfied. Should you have any issues, please don’t hesitate to contact us.
Telephone: 1-800-556-0533 Mon-Fri 10am – 5pm (PST) (USA) (CAN)
Email: [email protected] (US/CA)































