Volkano Monitor Desk Mount Instruction Manual
HIGHLIGHTS
- Holds Up To 8 Kg
- For Monitors Up To 27”
- Height, Direction and Tilt Adjustable
- Integrated Cable Management
PACKAGE CONTENTS
- Volkano Steady Uno Series Desk Clamp
- Volkano Steady Uno Series Monitor Arm
- Mounting Kit
- Cable Management Clips
- Instruction Manual

- Tube cover (1 PC)
- TV plate (1 PC)
- Fixing ring(1PC)
- Tube (1 PC)
- Cable management 1 (1 PC)
- Bottom support (1 PC)
- Knob (1 PC) 8. Anti-slip rubber (1 PC)
- Cable management 2 (2PCS)
- Decorative Cover (1 PC)
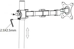
- 2.5 x 2.5 wrench (1PC)
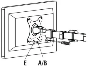
- M4x12MM A(4PCS)

- M5x12MM B(4PCS)

- M6x20MM C(3PCS)

- M6x10MM D(2PCS)

- ¢6.5x¢13×2 E(8PCS)

- 4X4MM F(1PC)

- 5X5MM G(1PC)

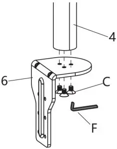
STEP ONE – CLAMP
STEP TWO – INSTALL TV PLATE

warning
Please ensure this handle is firmly tightened before attaching the Screen.
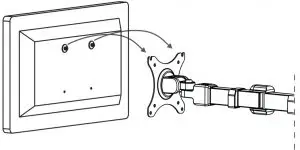
STEP 3 – ATTACHING SCREEN TO TV PLATE
STEP 4 – ADJUSTING SCREEN


To adjust the monitor with the supplied 5×5 allen key (G)
CAUTION
This product contains small items that could be a choking hazard if swallowed. Keep these items away from young children.
- Make Sure these instructions are read and completely understood before attempting installation. lf you are unsure of any part of this installation, please contact a professional installer for assistance.
- The desk or mounting surface must be capable of supporting the combined weight of the mount and the display,otherwise the structure must be reinforced.
- Please check all adjustable components regularly to ensure none of them have loosened. This product is designed to be installed on a desk. Before installing, ensure that the desk will support the combined weight of the mount and screen (approximate maximum of 10Kg).
Note: This product is intended for indoor use. Use of the product outdoors may lead to product failure or personal injury
WARRANTY
This Volkano Monitor Desk Mount comes with a standard 10-year limited warranty against manufacturing defects and faults. Should your Volkano Monitor Desk Mount be unboxed with any faulty parts, poor finishing or visible damage, or fail to perform due to a manufacturing defect or poor workmanship, please return it with your proof of purchase (till slip or invoice) to the store of purchase for an exchange, or repair, depending on the store’s returns policy.
This warranty commences from the date of purchase.
Kindly retain your proof of purchase as well as the packaging for your warranty period.
Note: The Warranty does not apply to Product that:
- Has failed due to excessive wear and tear beyond what is considered to be reasonable.
- Has been misused or neglected.
- Has been damaged accidentally or by Force Majeure including fire and flooding.
- Has been used or operated contrary to operating or maintenance instructions outlined in this manual.
The Store of Purchase / Seller cannot accept any returned products that have not been returned in accordance to this warranty or which does not follow their own Returns Policy.
Please refer to the Store of Purchase / Sellers Returns Policy for details. Should you require any further assistance or have any questions on your warranty, please contact the store of purchase.




































