HUANUO HNCM2 Monitor and Laptop Mount

Thank you for choosing this HUANUO product! At HUANUO we strive to provide you with the best quality products and services in the industry. Should you have any issues, please don’t hesitate to contact us at
Technical Support
(US/CA)1-800-556-0533 Mon-Fri 8am – 8pm(CST)
(UK)44-808-196-3874 Mon-Fri 2 pm – 10 pm(UTC)
Other Info: [email protected] [email protected](JP)
Website: www.huanuoav.com
IMPORTANT SAFETY INSTRUCTIONS
- Please carefully read all instructions before attempting installation. If you do not understand the instructions or have any concerns or questions, please contact our customer service at [email protected].
CAUTION: Avoid potential personal injuries and property damage! - Do not use this product for any purpose that is not explicitly specified in this manual. Do not exceed weight capacity. We are not liable for damage or injury caused by an improper mounting, incorrect assembly or inappropriate use.
- The desk must be capable of supporting five times the weight of the monitor and mount combined.
Check the VESA Pattern of Your Monitor Before You Begin the Installation

If your Monitor VESA is greater than 1 00×1 00 mm/ 4×4 in or less than VESA 75x75mm/3×3 in, this mount is NOT compatible. If this desk mount is NOT compatible, please contact customer service at [email protected] to find a compatible product.
Tool Need (Not Included)

Warning: This product contains small items that could be a choking hazard if swallowed. Before starting assembly, verify all parts are included and undamaged. Do not use damaged or defective parts. If you require replacement parts, contact our customer service at [email protected].
- Please note: Not all hardware included in this package will be used.
Supplied Parts and Hardware
Step 1

Step 2
Step 3

Step 4

Step 5

Install the Pole to the Desktop
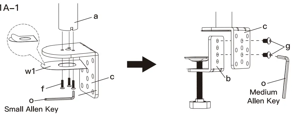
Option A: Desk Clamp Assembly


Option B: Grommet Base Assembly

Install Swivel Arms to the Pole
Install swivel arms (d) to the pole (a). Fasten the bolts with supplied Allen key (o). Attach the wire clips (n1,n2) to the pole (a) and swivel arms (d).

Attach the VESA Plate to the Monitor or Laptop Tray
For Monitor with Flat Back

For Monitors with Curved or Recessed Back

For Laptop

Secure the Monitor or Laptop Tray onto the Head of the Swivel Arm
- Slide the monitor onto the head of Swivel Arm (d) as shown in the above diagram.
- Secure the Nut (h). Make sure the nut is installed before you rotate the monitor.

HEAVY! You may need assistance with this step.
Note: Please refer the procedures 4-1 and 4-2 to install the laptop tray [t] with VESA plate [e] onto the head of a swivel arm.
Adjustments

- Directly tilt your Monitor to your desired angle (if it is difficult to tilt the Monitor, for a better tilt monitor you can slightly loosen the nuts using the Allen key).
- Tighten the nuts to hold the monitor in place.
- Directly swivel your monitor to your desired angle(if it is difficult to swivel the monitor, for a better tilt Monitor you can slightly loosen the nuts using the Allen key).
- Tighten the nuts to hold the monitor in place.
Slightly Adjust the Height of each Monitor
If the monitor is lower, remove the nut [h] and turn the bolt counter-clockwise with supplied Allen key [o] to raise the monitor. Install the nut [h] after the adjustment.

Use the Allen key [o] to slightly adjust the height of each monitor and re-tighten the nut [h] after finishing the height adjustment.
Manage the Wires and Store the Allen Keys on Wire Clip

Warning: To avoid tipping, please be careful not to extend the arms too far forward or backward. When you adjust the angle of the arms, please make sure the two arms are balanced to avoid instability of the center of gravity of the base.

FAQs
Please check the VESA pattern of your monitor before you begin the installation. If your Monitor VESA is greater than 100×100 mm/ 4×4 in or less than 75×75 mm/ 3×3 in, this mount is NOT compatible. If this desk mount is NOT compatible, please contact customer service at [email protected].
This amount is ONLY compatible with laptops that have a maximum thickness of 25mm/ 1 inch and a maximum height of 14 inches. Please contact customer service at [email protected] if you have any questions about compatibility.
The cradle can fit laptops that are 14 inches wide and up to 25mm/ 1 inch thick (maximum).
This amount is ONLY compatible with laptops that have a maximum thickness of 25mm/ 1 inch and a maximum height of 14 inches. Please contact customer service at [email protected] if you have any questions about compatibility.
This amount is ONLY compatible with monitors that have a VESA pattern between 100×100 mm/ 4×4 in and 75×75 mm/ 3×3 in. Please contact customer service at [email protected] if you have any questions about compatibility.
Simply look at the back to see if your computer monitor conforms to VESA requirements. You should see the typical four-hole screw pattern at the back of your display if it complies. Larger monitors will have 200 x 100 mm screw holes, whereas the most typical screw hole design is either 75 x 75 mm or 100 x 100 mm.
By adjusting the monitor’s height, depth, and, in most cases, tilt, a monitor arm will let you place it in the most comfortable position. It will enhance your ergonomic posture whether you are standing or sitting and lessen eye strain, and back, and neck problems.
The display should be centered and placed squarely in front of you. Aim to place the monitor at an arm’s length away. Place the monitor so that your eyes are slightly shifted downward when staring at the center of the screen. Tilt the monitor 10–20 degrees rearward.
When mounting the monitor, check the weight distribution. Again, you run the danger of harm if the desktop isn’t solid enough. The majority of 24-mm thick desktops from business-grade office furniture will work properly. Commercial desktops with a thickness of 12 mm are typically accepted as well, but only for single mounting.
Yes, you may mount any monitor. Since the vast majority of modern monitors have a mounting plate on the back, it is very simple to use widely used monitor mounting products. Even ancient CRTs or monitors without this configuration can be attached.
The screws are missing from the monitor, but they ought to be included in the mounting bracket that is compatible with the 100mm VESA mounting points. if you don’t have any screws on hand.
You can mount your monitor using a computer monitor wall mount kit, a monitor arm, or a monitor bracket. Each one has different benefits and drawbacks.
Video
Download PDF Link; HUANUO Monitor and Laptop Mount pdf




















