PERLESMITH Medium Full-Motion Tv Wall Mount User Manual


Thank you for choosing our product! We strive to provide the best quality and services for our customers. Would you kindly share your experience on Amazon if you are satisfied? Should you have any issues, please don’t hesitate to contact us.
Telephone: 800-5566-806 Mon-Fri 10am – 6pm (PST) (USA) (CAN)
Email: [email protected] (US/CA/DE/UK/FR/IT/ES/JP/AU)
WARNING! SEVERE PERSONAL INJURY AND PROPERTY DAMAGE CAN RESULT FROM IMPROPER INSTALLATION OR ASSEMBLY. READ THE FOLLOWING WARNINGS BEFORE BEGINNING.
If you do not understand the instructions or have any concerns or questions, please contact a qualified installer. Do not install or assemble if the product or hardware is damaged or missing. Not all parts and hardware included must be used. If you require replacement parts, contact customer service at [email protected]. This product has been designed for use on a vertical wall constructed of wood studs. Wood studs being defined as a wall consisting of a minimum of 2” x 4” studs with a maximum of 1/2” of wall covering (drywall, lath, plaster).For custom installations please contact a qualified installer. For safe installation, the wall you are mounting to must support 4 times the weight of the total load. If not, the surface must be reinforced to meet this standard. The installer is responsible for verifying that the wall structure/surface will safely support the total load.
Tools Needed

Hardware Included


STEP 1
Using the Screwdriver, remove the screw S1 and washe S2 and separate the faceplate and the plastic parts from the bracket. Keep screws for use in Step 6.

STEP 2
Measure the distance between the holes located at the back of your TV (these measures may form the shape of a square, or a rectangle) and check that these taken measures are within the VESA(*) range for this wall mount.
(*) VESA: International standard established by the TV manufacturers used to determine if LCD / LED TVs are compatible with wall mounts.

STEP 3
Determine which TV bracket option A, B, or C to use based on your TV hole pattern measurements from STEP 2.


Remind!
If your TV hole pattern is greater than 200 mm x 200 mm (OPT B and C ), attach 02 and 01 to faceplate using Carriage bolts G and nuts H.

STEP 4-1 BEFORE TV BRACKET INSTALLATION
Check TV screws: select the proper screw length for your TV by hand tightening to check your plat panel thread depth.


STEP 4-2 Install TV bracket


STEP 5A Wall Plate Install (Concrete or brick)


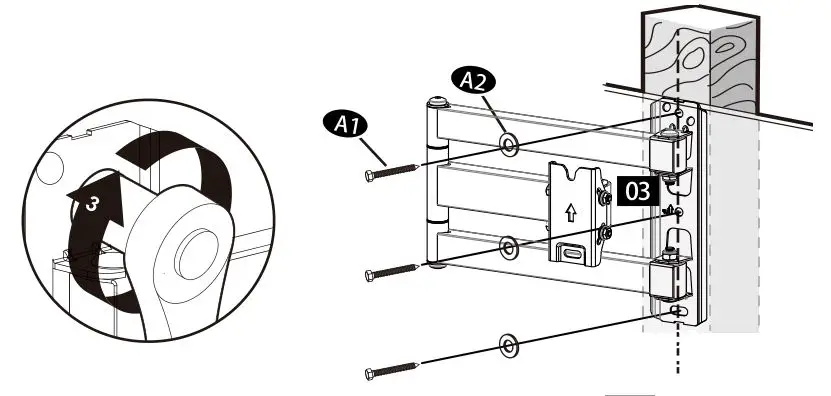
STEP 5B Wall Plate Install (Wood Stud)



5B-4

STEP 6 Level adjustment
Place assembled part with TV onto arm and using Screwdriver, secure with screws S1 and washers S2 saved from Step 1


Post Installation Level

STEP 7 Tilt adjustment
Loosen four nuts on the head of the bracket, Adjust the TV to the desired tilting angle, then fasten the nuts to hold the tilting angle of the TV.

















