PERLESMITH PSMFK1 Full Motion TV Mount Instruction

Full Motion TV Mount
Instruction Manual
Model: PSMFK1
For any parts enquiries, please contact AV Supply Group as below:
New Zealand: P: 64 9 274 9172 E: [email protected]
Australia: P: 61 3 9071 4585 E: [email protected]
IMPORTANT SAFETY INFORMATION
Please carefully read all instructions before attempting installation. If you do not understand the instructions or have any concerns or questions, please contact customer service at [email protected].
CAUTION: Avoid potential personal injuries and property damage!
- Do not use this product for any purpose that is not explicitly specified in this manual. Do not exceed weight capacity. We are not liable for damage or injury caused by improper mounting, incorrect assembly or inappropriate use.
- This product is designed for use in wood stud, solid concrete, concrete block and brick walls. – DO NOT install into drywall alone.
- The wall must be capable of supporting five times the weight of the TV and mount combined.
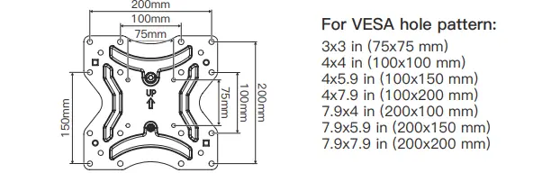
Check the VESA Pattern of TV before the Installation

Minimum VESA pattern: 100mm/4 in (W)x100mm/4 in (H)
If your TV VESA is greater than 400×400 mm/16x16in. or less than VESA 100x100mm/4×4 in, this mount is NOT compatible.
Verify Your Wall Construction
Tools Needed
(Not lncluded)
Supplied Parts and Hardware
WARNING: This product contains small items that could be a choking hazard if swallowed.
Before starting assembly, verify all parts are included and undamaged. Do not use damaged or defective parts. lf you require replacement parts, please contact customer service at [email protected].
- PLEASE NOTE: Not all hardware included in this package will be used.


Supplied Parts and Hardware for Step 3
Step 1 Secure the Extender Brackets to Faceplate (Optional)
Select the Combination that Applies to Your VESA Hole Pattern.
Option A: No Need to Attach Extender Brackets to Faceplate
Option B: Need to Attach Extender Brackets to Faceplate

Step 2 Secure the Faceplate [01A] or Faceplate [01A] with Extender Brackets [02] and [03] to TV
Please Note: The provided TV bolts meet most of today’s TVs design. However, some TVs require special bolts which may not be in the hardware bag. In this case we offer our “PSUHP” Universal Hardware Kit which provides a large selection of bolts that can meet the demand of older and unique applications.
Please Note: When using the spacers it is important to note that they can be used in multi-layers (meaning stacked). If you have any difficulty undestanding how to install the TV bolts or spacers, please contact customer service at [email protected].



Step 3 Attach the Arm Assembly/Wall Plate [01B] to Wall
- For wood stud installation, follow STEP 3A.
- For concrete installation, follow STEP 3B.
Step 3A Wood Stud Option
WARNING: Avoid potential personal injury or property damage! DO NOT over-tighten the lag screws [A1]. Tighten the lag screws [A1] only until they are pulled firmly against the arm assembly/wall plate [01B].
DO NOT USE ANCHOR FOR THIS STEP.
Ensure the arm assembly/wall plate [01B] is securely fastened to the wall before continuing to the next step.
- Any material covering the wall must not exceed 5/8 in (16 mm).
- Nominal wood stud size: common 2 x 4 in (51 x 102 mm) minimum 1.5 x 3.5 in (38 x 89 mm).
- Stud center must be verified.


Step 3B Solid Concrete or Concrete Block Option
WARNING:
Avoid potential personal injury or property damage! DO NOT over-tighten the lag screws [A1]. Tighten the lag screws [A1] only until they are pulled firmly against the arm assembly/wall plate [01B]. Ensure the arm assembly/wall plate [01B] is securely fastened to the wall before continuing to the next step.
- Any material covering the wall must not exceed 5/8 in (16 mm)
- Mount the arm assembly/wall plate directly onto the concrete surface.
- Minimum solid concrete thickness: 203 mm (8 in).
- Minimum concrete block size: 203 x 203 x 406 mm (8 x 8 x 16 in).
- Never drill into the mortar between blocks.


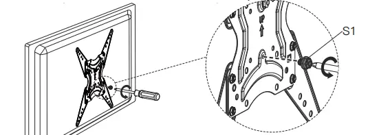
Step 4 Secure the TV onto the Arm Assembly/Wall Plate [01]
- Use the phillips screwdriver to remove the bolt [S1] from the faceplate [01A] and keep the bolt [S1] for use in Step 4-3.

- Hang the TV to the arm assembly/wall plate, making sure the upper bolt hangs on the hook on the arm assembly/wall plate.
- Tighten the bolt [S1] to secure the TV to the arm assembly/wall plate.

Adjustments
Level Adjustment
If needed, the TV can be levelled.
Tilt Adjustment
- Slightly loosen the two nuts [T] with a self-supplied socket wrench.
- Adjust the TV to your desired angle.
- Tighten two nuts [T] to hold the TV in place.
CAUTION!
Please do not over-tighten or over-loosen the nuts.






















