PERLESMITH PSXF4 TV Wall Mount

Thank you for choosing this Perlesmith product! At Perlesmith we strive to provide you with the best quality products and services in the industry. Please share your experience of our product with others at www.perlesmith.com/pages/reviews if you are satisfied. Should you have any issues, please don’t hesitate to contact us.
Technical Support:
1-800-556-6806 Mon-Fri 10am – 5pm (PST) (USA) (CAN) Other Info: [email protected] (US/CA/DE/UK/FR/IT/ES/AU)
IMPORTANT SAFETY INFORMATION
Please carefully read all instructions before attempting installation. If you do not understand the instructions or have any concerns or questions, please contact our Technical Support line at 1-800-556-6806 or customer service at [email protected]
CAUTION: Avoid potential personal injuries and property damage!
- Do not use this product for any purpose that is not explicitly specified in this manual. Do not exceed weight capacity. We are not liable for damage or injury caused by improper mounting, incorrect assembly or inappropriate use.
- This product is designed for use in wood stud, solid concrete, and concrete block walls – DO NOT install into drywall alone.
- The wall must be capable of supporting five times the weight of the TV and mount combined.
Weight Restrictions

WARNING
DO NOT exceed the maximum weight indicated. This mounting system is intended for use only with the maximum weights indicated. Use with products heavier than the maximum weights indicated may result in failure of the mount and its accessories, causing possible damage and or injury.
Check the VESA Pattern of Your TV before the Installation

If your TV VESA is greater than 800×600 mm/31×24 in. or less than VESA 200x100mm/8x4in., this mount is NOT compatible.
If this mount is NOT compatible, please contact customer service at [email protected] to find a compatible mount.
Verify Your Wall Construction

Tools Needed (Not lncluded)

Supplied Parts and Hardware
Warning:This product contains small items that could be a choking hazard if swallowed. Before starting assembly, verify all parts are included and undamaged. Do not use damaged or defective parts. lf you require replacement parts, contact our Product Support line at 1-800-556-6806 or customer service at [email protected]
Supplied Parts and Hardware for Step 1

TV Bolts [Only one bolt size fits your TV]
Note: The bolts are shown in accordance with the actual size

Supplied Parts and Hardware for Step 2

Note: The lag screw is shown in accordance with the actual size


Supplied Parts and Hardware for Step 3 to Step 6

Step 1 Secure the TV Brackets to TV

Bolt length: Verify adequate thread engagement with bolts or bolts/spacers combination. We recommend thread engagement by at least 5 turns.
- Too short will not hold the TV.
- Too long will damage the TV.

Note: If necessary, the spacers can be used in multi-layer. If the installation fails after trying various methods, please contact customer service at [email protected]

Installation
Option A (For Flat Back TV)

Option B (For Round Back TV)

Option C (For TV with A “Bump”)
Spacers may be necessary for 2 holes ONLY.

Option D
For cable interference or inset holes, use spacers [06] to create extra space between the TV and TV brackets

Step 2Attach the Wall Plate [01] to Wall
For wood stud installation, follow STEP 2A
For concrete installation, follow STEP 2B
Step 2A Wood Stud Option
WARNING:
- Avoid potential personal injury or property damage! DO NOT over-tighten the lag screws [A1]. Tighten the lag screws [A1] only until the washers [A2] are pulled firmly against the wall plate.
- DONOT USE ANCHOR [A3] FOR THIS STEP!
- Ensure the wall plate [01] is securely fastened to the wall before continuing to the next step.
- Any material covering the wall must not exceed 5/8 in. (16 mm)
- Nominal wood stud size: common 2 x 4 in. (51 x 102 mm) minimum 1½ x 3½ in. (38 x 89 mm)
- Stud center must be verified




Step 2B Solid Concrete or Concrete Block Option
WARNING:
- Avoid potential personal injury or property damage! DO NOT over-tighten the lag screws [A1]. Tighten the lag screws [A1] only until the washers [A2] are pulled firmly against the wall plate.
- Ensure the wall plate [01] is securely fastened to the wall before continuing to the next step.
- Any material covering the wall must not exceed 5/8 in. (16 mm)
- Mount the wall plate directly onto the concrete surface
- Minimum solid concrete thickness: 203 mm (8 in.)
- Minimum concrete block size: 203 x 203 x 406 mm (8 x 8 x 16 in.)
- Never drill into the mortar between blocks





Step 3 Secure the Arm Assembly [02] to Wall Plate [01]
- Hang the arm assembly [02] to wall plate [01].
- Shift the arm assembly [02] along the wall plate [01] to your desired position.
- Secure the arm assembly [02] to wall plate [01] using bolts [F1].

Step 4 Secure Front Support to Arm Assembly

Step 5 Hang the TV onto the Front Support
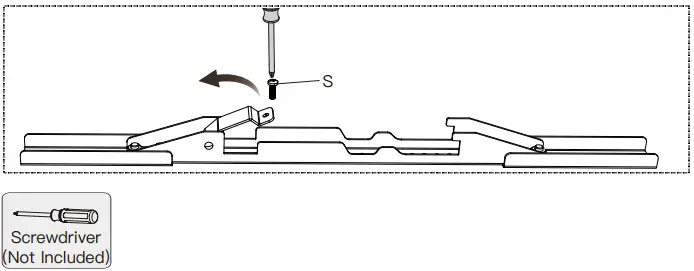
Remove the preassembled bolt [S] and save to use in 5-2

Hang the TV with brackets [03] onto the front support [09]

Press the safety locks down, then fasten the removed bolts [S]
Step 6 Adjustments
CAUTION!
DO NOT over-loosen these four nuts adjusting the level angle to prevent from falling off.
- Loosen the bolt [F2] .
- Level your TV.
- Tighten the bolt [F2] to secure the TV in place.
Note: Please take off the TV before shifting the arm assmebly along the wall plate
To better position your mount and TV on your wall, the mount can be horizontal shifted left to right by following these steps.
- Loosen the bolts [F1].
- Shift the arm assembly [02] to your desired position.
- Tighten the bolts [F1] hard.
- Repeat the procedures in Step 5 to rehang and secure the TV onto the front support[09].

Thank you again
for choosing this Perlesmith product!

All of us at Perlesmith do appreciate your product purchase. We hope that you are as happy with your product as we are designing and manufacturing it for you. We strive to provide you with the best quality products and services in the industry. Please share your experience of our product with others at www.perlesmith.com if you are satisfied. If you have any questions please don’t hesitate to contact us at
Technical Support: 1-800-556-6806 Mon-Fri 10am – 5pm (PST) (USA) (CAN)
Other Info: [email protected] (US/CA/DE/UK/FR/IT/ES/AU)
Please check www.perlesmith.com for more products and company information.
Perlesmith offers products in these categories

Please remember us when you need one.












Note: Please take off the TV before shifting the arm assmebly along the wall plate




















