
TV Stand Instruction Manual V2.0

Model: PSFS04
IMPORTANT SAFETY INFORMATION
Please carefully read all instructions before attempting installation. If you do not understand the instructions or have any concerns or questions, please contact customer service at [email protected] (US)/ [email protected] (CA).
- Check package contents against Supplied Parts and Hardware List to assure that all components were received undamaged. Do not use damaged or defective parts. If you require replacement parts, contact customer service at [email protected](US)/ [email protected] (CA).
- Not all parts and hardware included will be used.
- Do not use this product for any purpose or in any configuration not explicitly specified in this instruction. We hereby disclaim any liability for injury or damage arising from incorrect assembly, incorrect mounting, or incorrect use of this product.
- Please check www.perlesmith.com for more products and company information.
Tip-over Warning
Serious or fatal crushing injuries can occur from tip over. To help prevent tip-over:
- Never allow children to climb, stand, hang, or play on any part of the TV or TV stand.
- Use tip over restraint or anchor stands to the wall. use of tip-over restraints may only reduce, but not eliminate the risk of tip-over.
Check the VESA Pattern of TV before the Installation

If this TV stand is NOT compatible, please contact customer service at [email protected] (US)/ [email protected] (CA) to find a compatible product.
Tools Needed (Not included)

Supplied Parts and Hardware
Supplied Parts

Supplied Hardware for Assembling the TV stand

Supplied Hardware for Attaching TV Brackets to TV

Supplied Parts and Hardware for Attaching the TV stand to the wall (Optional)

Step 1 Screw the Connecting Rods [15 and 16] to the Tempered Glass Base [1]

Step 2 Slide the Support Pillars to the Connecting Rods
![]() |
![]() |
Step 3 Secure Tempered Glass Base [2] and the Support Pillar [4 and 7] to the Connecting Rods
![]() Note: Make sure the two connecting rods can pass through the two holes at the top of the support pillar [7] |
![]() Note: Make sure the side with the small hole on the support pillar [7] faces the back of the stand |
| Step 4 Secure Tempered Glass Base [2] and the Feet [5 and 8] to the Connecting Rods |
![]()
|
Step 5 Secure the Connecting Rod [17] to the Tempered Glass Base [1]
Step 6 Secure Support Pillar [9 and 10] to the Tempered Glass Base [1]
![]() Please don’t fully tighten nuts [D1] until Step 8 to fix all the bolts in the right holes. |
![]() Note: Make sure the side with the small hole on the support pillar [9] faces the back of the stand |
Step 7 Attach the Washer [C1] to TV Plate [12]
Attach the rubber washer [C1] to the center of the top and bottom of the TV Plate [12]. Make sure the hole of the washer [C1] is aligned with the center hole on the TV Plate [12].
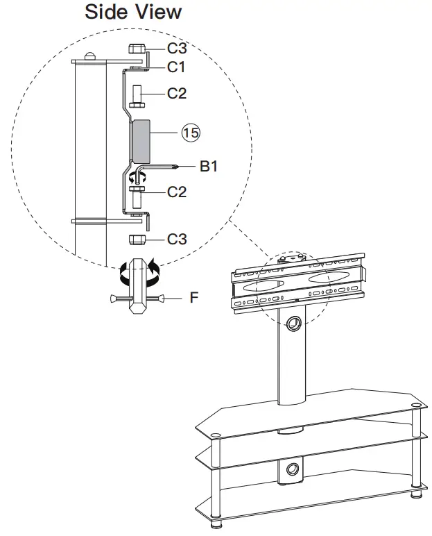
Step 8 Secure the TV Plate [12] Support Pillar
![]() |
![]() Make sure all the bolts are fully tightened before putting on your TV. The hole on the TV Plate [12] should be aligned with the hole on the Transfer Plate [14]. |
Step 8 Secure the TV Brackets [13] to TV
![]() Note: The bolts are shown in accordance with the actual size |
![]() Note: The spacers are shown in accordance with the actual size |
Bolt length: Verify adequate thread engagement with bolts or bolts/spacers combination. We recommend thread engagement by at least 5 turns.
-Too short will not hold the TV.
-Too long will damage the TV.
Please Note: The provided TV bolts meet most of today’s TVs design.
However, some TVs require special bolts which may not be in the hardware bag. In this case we offer our “PSUHP” Universal Hardware Kit which provides a large selection of bolts that can meet the demand of older and unique applications.
Please Note: When using the spacers it is important to note that they can be used in multi-layers (meaning stacked). If you have any difficulty understanding of how to install the TV bolts or spacers, please contact customer service at [email protected] (US)/ [email protected] (CA).

CAUTION: Ensure the TV brackets [13] are EQUALLY CENTERED on your TV and securely fastened in place.
Please note: The bolt hole locations on your TV may vary in accordance with the manufacturer’s design of the TV. We are only
illustrating the possible locations of the bolt holes.
Option A (For Flat Back TV)

Option B (For Round Back TV)

Option C (For TV with A “Bump”)
Spacers may be necessary for 2 holes ONLY.

Option D
For cable interference or inset holes, use spacers [S6-1] and [S6-2] to create extra space between the TV and TV brackets
Step 9 Secure TV to TV Plate [12] and Manage the Wires
![]() | |
![]() TV brackets are two-height-adjustable. You can choose the proper height. | |
| Step 9-1 Hang the TV with brackets to the TV plate Step 9-2 Push the bottom of the TV to the TV plate Step 9-3 Tighten the bolts [F2] until the bolts touch the TV plate. | |
| ![]() |
Step 10 Adjust the Swivel Angle
If necessary, the TV plate or TV can be swiveled manually.

Step 11 Attach the TV Stand to the Wall (Optional)
![]() | |
| Note: It is recommended to use this tipping restraint to attach this unit to the wall, to prevent possible accidents and/or injuries. | |
![]() | ![]() |
Thank you again for
choosing this PERLESMITH product!

All of us at PERLESMITH do appreciate your product purchase. We hope that you are as happy with your product as we are designing and manufacturing it for you. We strive to provide you with the best quality products and services in the industry. Please share your experience of our product with others at www.perlesmith.com/pages/reviews if you are satisfied. Should you have any issues, please don’t hesitate to contact us.
Technical Support: 1-800-556-6806 Mon-Fri 10am – 5pm (PST) (USA) (CAN)
Other Info: [email protected] (US)/[email protected] (CA)
Please check www.perlesmith.com for more products and company information.
Perlesmith offers products in these categories Perlesmith offers products in these categories
![]() | ![]() | ![]() |
![]() | ![]()
| ![]() |
![]() | ![]() | ![]() |
Please remember us when you need one.

Website: www.perlesmith.com
Thank you for choosing this PERLESMITH product! At PERLESMITH we strive to provide you with the best quality products and services in the industry. Please share your experience of our product with others at www.perlesmith.com/pages/reviews if you are satisfied. Should you have any issues, please don’t hesitate to contact us.
Technical Support: 1-800-556-6806 Mon-Fri 10am – 5pm (PST) (USA) (CAN)
Other Info: [email protected] (US) [email protected] (CA)













































