Pipishell
Large Full-Motion TV Wall Mount
User Manual
Model: PILFK1

Thank you for choosing our product! We strive to provide the best quality and services for our customers. Would you kindly share your experience on Amazon if you are satisfied? Should you have any issues, please don’t hesitate to contact us.
Telephone:800-556-9829 Mon-Fri 10am – 6pm (PST) (USA)
Email:[email protected] (US/CA/DE/UK/FR/IT/ES/JP/AU)
WARNING!
- WARNING! SEVERE PERSONAL INJURY AND PROPERTY DAMAGE CAN RESULT FROM IMPROPER INSTALLATION OR ASSEMBLY. READ THE FOLLOWING WARNINGS BEFORE BEGINNING.
- If you do not understand the instructions or have any concerns or questions, please contact a qualified installer.
- Do not install or assemble if the product or hardware is damaged or missing. Not all parts and hardware included must be used. If you require replacement parts, contact customer service at [email protected]
- This product has been designed for use on a vertical wall constructed of wood studs. Wood studs being defined as a wall consisting of a minimum of 2″ x 4″ studs with a maximum of 1/2° of wall covering (drywall, lath, plaster).For custom installations please contact a qualified installer. For safe installation, the wall you are mounting to must support 4 times the weight of the total load. If not, the surface must be reinforced to meet this standard. The installer is responsible for verifying that the wall structure/surface will safely support the total load.
- DO NOT EXCEED THE MAXIMUM WEIGHT CAPACITY FOR THIS PRODUCT.
WEIGHT CAPACITY

Use with products larger than the maximum weight and size may result in instability causing possible injury. User must remove television or object off the bracket before adjusting. Not suitable for a TV that surpasses the television maximum weight capacity and recommended diagonal measured tv size!
Tools Needed (Not Included)

Supplied Hardware



Step 1. Before TV bracket installation

Measure the distance between the holes located at the back of your TV (these measures may form the shape of a square, or a rectangle) and check that these taken measures are within the VESA(*) range for this wall mount (*) VESA: International standard established by the TV manufacturers used to determine if LCD I LED We are compatible with wall mounts.

Check TV Screws
Please select the proper screw length for your TV by hand tightening to check your plat panel thread depth.
When attaching brackets to the flat screen, be careful not to over tighten screws and be sure that screws do not bottom out In the mounting holes.

Step 2


Step 3 Install TV bracket


Step 4A
Cautions! Ensure the wall plate is securely fastened to the wall before continuing on the next steps. These anchors are for concrete or brick walls ONLY. DO NOT use them in drywall or wood studs.

These anchors are for concrete or brick walls ONLY. DO NOT use them in drywall or wood studs.

Step 5
Mounting your TV to the Brackets and lock it.

Step 6. Post Installation Level

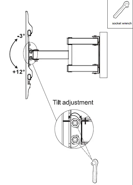
Step 7. Tilt adjustment
















