Pipishell Wall Mount For TV Installation Guide

Thank you for choosing our product! We strive to provide the best quality and services for our customers. Would you kindly share your experience on Amazon if you are satisfied? Should you have any issues, please don’t hesitate to contact us. Telephone:800-556-9829 Mon-Fri 10am – 6pm (PST) (USA) (CAN) Email:[email protected] (US/CA/DE/UK/FR/IT/ES/JP/AU)
WARNING
WARNING! SEVERE PERSONAL INJURY AND PROPERTY DAMAGE CAN RESULT
FROM IMPROPER INSTALLATION OR ASSEMBLY. READ FOLLOWING
WARNINGS BEFORE BEGINNING.
- If you do not understand the instructions or have any concerns or questions, please contact a qualified installer.
- Do not install or assemble if the product or hardware is damaged or missing. Not all parts and nardware included must be used. lf you require replacement parts, contact customer service at [email protected]
- This product may contain moving parts. Use with caution.
Tools Needed (Not lncluded)

Hardware Included

Hardware Included



Step 1-1 Measure VESA
Measure the distance between the holes located at the back of your TV (these measures may form the shape of a square, or a rectangle) and check that these taken measures are within the
VESA (*) range for this wall mount. (*) VESA: International standard established by the TV manufacturers used to determine if LCD/LED TVs are compatible with wall mounts.
Step 1-2 Select TV hardware
- Bolt diameter: hand thread bolts into threaded inserts on he back of TV to determine the correct bolt diameter(M4, M6, M8)
- Bolt length: verify adequate thread engagement with bolts or bolts/spacers combination. We recommend thread engagement by at least 5 turns. – Too short will not hold the TV.
– Too long will damage the TV.
- Bolt and spacer combination: spacers sometimes are needed to combine with bolts for several situation.

(b) Round back/Extra space

(a)flat Back

Step 2A Wall Plate Install (Concrete Wall)
CAUTION :
Ensure the wall plate is securely fastened to the wall before continuing on to the next step_
These anchors are for concrete or brick walls ONLY. DO NOT use them in drywall or wood studs.
2A-1

Position the wall plate at your desired height, leve the wall plate and mark the pilot hole locations.
2A-2

Drill 4 pilot holes using a 25/64 in(10mm) diameter drill bit. Make sure the depth is not less than 1/2 in.(13mm) Socket Wrench 01 in. (70 mm)
2A-3


Install wall plate using lag bolts A1, washers A2 and anchors A3. Tighten the lag bolts until they are pulled firmly against the wall plate.
Step 2B Wall Plate Install (Wood stud)
CAUTION :
Ensure the wall plate is securely fastened to the wall before continuing on to the next step_
These anchors are for concrete or brick walls ONLY. DO NOT use them in drywall or wood studs.
2B-1

Use a stud finder(not included)to locate wood studs. Mark the edge and center locations.

Position the wall plate at your desired height and lineup the holes with your stud center line. Level the wall plate and mark the holes.
2B-3


Drill 4 pilot holes using a 7/32 in(5.5 mm) diameter drill bit. Make sure the depth is not less than 2 3/8in (60mm)
2B-4
Install the wall plate 01 using lag bolts A1 and washer A2. Tighten the lag bolts A1 until they are pulled firmly against the wall plate 01.
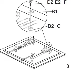
Step 3 Tighten Nuts
Adjust the tilting angle with the Allen wrench for both 02.

Step 4 Hang the TV onto the wall plate




CAUTION :

















