Pipishell Wall Mount Bracket Instruction Manual
PISF1
Thank you for choosing our product! We strive to provide the best quality and services for our customers. Would you kindly share your experience on Amazon if you are satisfied? Should you have any issues, please don’t hesitate to contact us.
Telephone:800-556-9829 Mon-Fri 10am – 6pm (PST) (USA) (CAN)
Email:[email protected] (US/CA/DE/UK/FR/IT/ES/JP/AU)
WARNING
WARNING! SEVERE PERSONAL INJURY AND PROPERTY DAMAGE CAN RESULT FROM IMPROPER INSTALLATION OR ASSEMBLY. READ FOLLOWING WARNINGS BEFORE BEGINNING.
- If you do not understand the instructions or have any concerns or questions, please contact a qualified installer.
- Do not install or assemble if the product or hardware is damaged or missing. Not all parts and hardware included must be used.
- lf you require replacement parts, contact customer service at [email protected]
- This product may contain moving parts. Use with caution.
- DO NOT install into drywall alone.
Tools Needed (Not lncluded)
- Stud Finder

- Tape measure

- Pencil

- Drill

Drill - Hammer

- 1/8 in.(3 mm) Wood Drill

- 25/64 in.(10mm) Concrete Dril

- 25/64 in.(10 mm) Socket Wrench

- Screw Driver

Supplied Parts
- Wall plate and Arm 01 X1

- TV Bracket 02 X1

- Extender Brackets 03 X4

Supplied Hardwar
Hardware for Attaching Wall Plate to Wall
- Lag Bolts (M6X60) x2 A1

- Washers (6mm) x2 A2

- Carriage Bolts M6 x 12 x4 G

- Nuts M6 x4 H

- Wall Anchor x2 A3

CAUTION!
These anchors are for concrete or brick walls ONLY. DO NOT use themin drywall or wood studs.
Hardware for Attaching TV Bracket to TV
- Washers Ø6mm M4-5-6 x4 B1

- Spacers L10mm x4 B2

- Spacers L5mm x4 C

- Philips Screws M4 x 15mm M4 x 30mm x4 D1 x4 D2

- Philips Screws M6 x 15mm M6 x 30mm x4 E1 x4 E2

- Philips ScrewsM8 x 15mm M8 x 30mm x4 F1 x4 F2

Step 1 Measure VESA
Measure the distance between the holes located at the back of your TV (these measures may form the shape of a square, or a rectangle) and check that these taken measures are within theVESA (*) range for this wall mount. (*) VESA: International standard established by the TV manufacturers used to determine if LCD/LED TVs are compatible with wall mounts.

Step 2-1 Choose the Combination that Applies to your VESA
Determine which TV bracket option A, B, or C,to use based on your TV hole pattern measurements from STEP 2.
- for VESA hole pattern: 75 mm X 75 mm 100mm X 100mm

- for VESA hole pattern: 200 mm X 200 mm

- for VESA hole pattern: 200 mm X 100 mm

Step 2-2 Select TV Hardware
- Bolt diameter: hand thread bolts into threaded inserts on the back of TV to determine the correct bolt diameter(M4, M6, M8)
- Bolt length: verify adequate thread engagement with bolts or bolts/spacers combination. We recommend thread engagement by at least 5 turns.
- Too short will not hold the TV.
- Too long will damage the TV.

- Bolt and spacer combination: spacers sometimes are needed to combine with bolts for several situations as below:

Step 2-3 Attach the TV Bracket

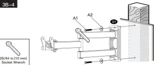
Step 3A Wall Plate Install (Concrete Wall)
CAUTION :
- Ensure the wall plate is securely fastened to the wall before continuing on the the next step.
- These anchors are for concrete or brick walls ONLY.
- DO NOT use them in drywall or wood studs.
- Position the wall plate at your desired height, level the wall plate and mark the pilot hole locations.

- Drill 2 pilot holes using a 25/64 in.(10 mm)diameter drill bit. Make sure the depth is not less than 2.75in. (70mm)

- Install wall plate using lag bolts A1, washers A2 and anchors A3.Tighten the lag bolts until they are pulled firmly against the wall plate.

Step 3B Wall Plate Install (Wood stud)
CAUTION :
Ensure the wall plate is securely fastened to the wall before continuing on to the next step. These anchors are for concrete or brick walls ONLY. DO NOT use them in drywall or wood studs.
- Use a stud finder(not included)to locate wood studs. Mark the edge and center locations.

- Position the wall plate at your desired height and lineup the holes with your stud center line. Level the wall plate and mark the holes.

- Drill 2 pilot holes using a 1/8 in.(3 mm) diameter drill bit. Make sure the depth is not less than 2.36in. (60mm)


- Install the wall plate 01 using lag bolts A1 and washer A2. Tighten the lag bolts A1 until they are pulled firmly against the wall plate 01.

Step 4 Hang the TV onto the wall plate
- Take this apart.

- Mounting your TV to the brackets and lock it.

- If needed, the TV can be tilted +5/-15 degrees and rotate 360 degrees from left to right.


























































