KENDALL HOWARD 1915-1-300-00 Wall Mount CPU Brackets
Product Information: Wall Mount CPU Brackets
The Wall Mount CPU Brackets are used to securely mount your computer to the wall, making it a space-saving option for your workspace. These brackets come in two part numbers: 1915-1-300-00 and 1915-1-400-00. The brackets have pre-drilled mounting holes that measure 16 inches on center.
Support
If you require any support for this product, you can get in touch with the manufacturer through:
- Phone: 651.213.1333 (available from 8:00 AM to 5:00 PM CST)
- Email: [email protected]
- Mail: 10152 Liberty Lane, Chisago City, MN 55013
- Web: www.kendallhoward.com
Tools Needed
To install the Wall Mount CPU Brackets, you will need a Phillips screwdriver or cordless drill.
Warranty
Kendall Howard offers a limited warranty against defects in material and workmanship. This warranty extends to the first purchaser for use and is not transferable without prior written permission from Kendall Howard. If any part of the product fails to conform to the warranty, Kendall Howard will provide new or factory remanufactured products for repair or replacement.
Product Usage Instructions
- Read and understand the entire manual before installing the Wall Mount CPU Brackets.
- Determine the mounting location of the brackets. Ensure that the pre-drilled holes are spaced 16 inches apart. Mounting hardware is not included.
- Secure the hardware with the provided 50 hook and loop strap.
Once you have installed the Wall Mount CPU Brackets, you can mount your computer to the brackets and enjoy a space-saving option for your workspace.
WALL MOUNT CPU BRACKETS
Installation Instructions
Part Numbers: 1915-1-300-00 & 1915-1-400-00
For Your Safety
Read and understand the entire manual before installing.
Support
Support is available through the following methods:
- By Phone from 8:00 AM to 5:00 PM CST. 651.213.1333
- By Email [email protected]
- By Mail 10152 Liberty Lane, Chisago City, MN 55013
- By Web www.kendallhoward.com
Disclaimer
DISCLAIMER: Kendall Howard LLC. endeavors to make this manual accurate and complete. However, Kendall Howard LLC makes no representations or warranties of any kind, expressed or implied, about whether the use of products contained herein would infringe any rights or the correctness, accuracy, or reliability of the information contained herein or that said information covers all details, conditions, or variations. The information herein does not provide for every possible contingency in connection with the installation or use of the product(s). The information contained in this document is subject to change without notice or obligation. Kendall Howard LLC assumes no responsibility for the accuracy, completeness, or reliability of the information contained in this document. Any reliance placed on the information is therefore strictly at your own risk.
Tools Needed
Phillips Screwdriver or Cordless Drill
Installation Instructions
Step 1:
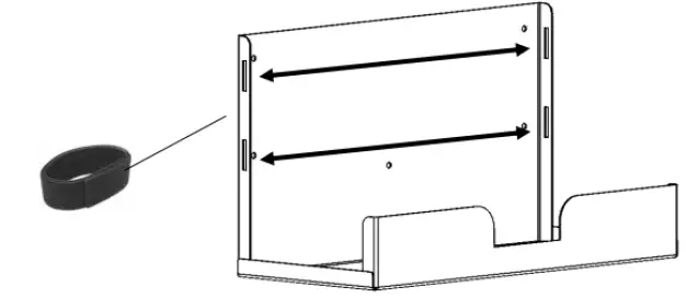
Determine the mounting location of the Wall Mount Bracket. Wall Mount brackets have pre drilled mounting holes that measure 16” on center. Mounting hardware is not included.
Step 2:
Secure the hardware with the provided 50” hook and loop strap.
Warranty
GENERAL
Kendall Howard offers all users of our products the following Limited Warranty against defects in material and workmanship. Please read your warranty carefully. This Warranty sets forth our responsibilities in the unlikely event of a defect and tells you how to obtain resolution.
TERMS OF WARRANTY
Kendall Howard products are warranted to be free of defects in material and workmanship. If any part or portion of the Kendall Howard product fails to conform to the Warranty, Kendall Howard, at its option, will furnish new or factory remanufactured products for repair or replacement of that part.
WARRANTY EXTENDS TO FIRST PURCHASER FOR USE, NON-TRANSFERABLE:
This Warranty is extended to the first person, firm, association, or corporation for whom the Kendall Howard product specified herein is originally sold for use in the United States (the “User”). This Warranty is not transferable or assignable without the prior written permission of Kendall Howard.
ASSIGNMENT OF WARRANTIES
Kendall Howard assigns to User any warranties which are made by manufacturers and suppliers of components of the Kendall Howard product and which are assignable, but Kendall Howard makes NO REPRESENTATIONS as to the effectiveness or extent of such warranties, assumes NO RESPONSIBILITY for any matters which may be warranted by such manufacturers or suppliers and extends no coverage under this Warranty to such components.
DRAWINGS, DESCRIPTIONS
Kendall Howard warrants for the period and on the terms of the warranty set forth herein that the Kendall Howard product will conform to the descriptions contained in Kendall Howard final invoices, orders, proposals (as modified), and other Kendall Howard descriptive documents
(“Descriptions”). Kendall Howard does not control the use of any Kendall Howard product. Accordingly, it is understood that the Descriptions are NOT WARRANTIES OF PERFORMANCE and NOT WARRANTIES OF FITNESS FOR A PARTICULAR PURPOSE.
WARRANTY CLAIMS PROCEDURE
Within a reasonable time, but in no case to exceed thirty (30) days, after User discovers a defect, User shall contact Kendall Howard. Subject to the limitations specified herein, a Kendall Howard customer service representative will repair or replace the non-conforming Kendall Howard product warranted hereunder, without charge for materials. User will not be charged for labor if performed within thirty (30) days of product purchase. In all other instances, the User will be charged for labor performed at Kendall Howard’s then-current rates. Kendall Howard shall assume shipping costs for replacement products and return of the defective product to Kendall Howard. Warranty coverage will be extended only after Kendall Howard inspection determines there is a defect as claimed and shows no signs of treatment or use which would void the coverage of this Warranty.
WARRANTY PERFORMANCE OF COMPONENT MANUFACTURERS
It is Kendall Howard’s practice, consistent with its desire to remedy Warranty defects most promptly and effectively possible, to cooperate with and utilize the services of component manufacturers and their authorized representatives in the performance of work to correct defects in Kendall Howard components. Accordingly, Kendall Howard may utilize third parties in the performance of Warranty work, including repair or replacement hereunder, where, in Kendall Howard’s opinion, such work can be performed in less time, and with less expense.
ITEMS NOT COVERED BY WARRANTY
THIS WARRANTY DOES NOT COVER DAMAGE OR DEFECT CAUSED BY misuse, improper application, wrong or inadequate electrical current or connection, negligence, inappropriate on-site operating conditions, repair by non- Kendall Howard designated personnel, accident in transit, tampering, alterations, a change in location or operating use, exposure to the elements, Acts of God, theft or installation contrary to Kendall Howard’s recommendations or specifications, or in any event if the Kendall Howard serial number has been altered, defaced, or removed. THIS WARRANTY DOES NOT COVER installation costs, external circuit breaker resetting or maintenance or service items, and further, except as may be specifically provided for herein, does NOT include labor or shipping costs arising from the repair or replacement of the Kendall Howard product, or any part thereof, or charges to remove same from any premises of User. THIS WARRANTY IS VOID if the User alters the product in any way.
LIMITATIONS
THIS WARRANTY IS IN LIEU OF AND EXCLUDES ALL OTHER WARRANTIES, EXPRESS OR IMPLIED, INCLUDING MERCHANTABILITY AND FITNESS FOR A PARTICULAR PURPOSE. THE USER’S SOLE AND EXCLUSIVE REMEDY IS REPAIR OR REPLACEMENT OF THE KENDALL HOWARD PRODUCT AS SET FORTH HEREIN. IF THE USER’S REMEDY IS DEEMED TO FAIL OF ITS ESSENTIAL PURPOSE BY A COURT OF COMPETENT JURISDICTION, KENDALL HOWARD’S RESPONSIBILITY FOR PROPERTY LOSS OR DAMAGE SHALL NOT EXCEED ONE TIMES THE NET PRODUCT PURCHASE PRICE. IN NO EVENT SHALL KENDALL HOWARD ASSUME ANY LIABILITY FOR INDIRECT, SPECIAL, INCIDENTAL, EXEMPLARY, OR CONSEQUENTIAL DAMAGES OF ANY KIND WHATSOEVER, INCLUDING WITHOUT LIMITATION LOST PROFITS, BUSINESS INTERRUPTION, OR LOSS OF DATA, WHETHER ANY CLAIM IS BASED UPON THEORIES OF CONTRACT, NEGLIGENCE, STRICT LIABILITY, TORT, OR OTHERWISE.
MISCELLANEOUS
NO SALESPERSON, EMPLOYEE, OR AGENT OF KENDALL HOWARD IS AUTHORIZED TO ADD TO OR VARY THE TERMS OF THIS WARRANTY. Warranty terms may be modified, if at all, only in writing signed by a Kendall Howard officer. This Warranty is effective as of the date of Kendall Howard receipt of full payment and supersedes all previous warranties Kendall Howard reserves the right to supplement or change the terms of this Warranty in any subsequent warranty offering to User or others. If any provision of this Warranty should be or becomes invalid and/or unenforceable during the warranty period, the remaining terms and provisions shall continue in full force and effect. User must complete the attached User Information Card and forward it to Kendall Howard within thirty (30) days of receipt of the Kendall Howard product. This Warranty is given in and performance hereunder is to be construed under the laws of the State of Nebraska. This Warranty represents the entire agreement between Kendall Howard and User concerning the subject matter herein and supersedes all prior or contemporaneous oral or written communications, representations, understandings, or agreements relating to this subject.



















