Pipishell Medium Full-Motion Tv Wall Mount User Guide
PIMFK1
Thank you for choosing our product! We strive to provide the best quality and services for our customers. Would you kindly share your experience on Amazon if you are satisfied? Should you have any issues, please don’t hesitate to contact us.
Telephone:800-556-9829
Mon-Fri 10am – 6pm (PST) (USA)
Email:[email protected] (US/CA/DE/UK/FR/IT/ES/JP/AU)
WARNING!
SEVERE PERSONAL INJURY AND PROPERTY DAMAGE CAN RESULT FROM IMPROPER INSTALLATION OR ASSEMBLY. READ THE FOLLOWING WARNINGS BEFORE BEGINNING.
- If you do not understand the instructions or have any concerns or questions, please contact a qualified installer.
- Do not install or assemble if the product or hardware is damaged or missing. Not all parts and hardware included must be used. If you require replacement parts, contact customer service at [email protected]
- This product has been designed for use on a vertical wall constructed of wood studs. Wood studs being defined as a wall consisting of i• minimum of 2″ x 4″ studs with a maximum of 1/2″ of wall covering (drywall, lath, plaster).For custom installations please contact a qualified installer. For safe installation, the wall you are mounting to must support 4 times the weight of the total load. If not, the surface must be reinforced to meet this standard. The installer is responsible for verifying that the wall structure/surface will safely support the total load.
Tools Needed (Not Included)

SUPPLIED HARDWARE


Step 1 Before TV Bracket Installation
75mm =2.95 in. 100mm =3.94 in.
200mm =7.87 in. 300mm =11.81 in.
400mm =15.75 in.
Measure the distance between the holes located at the back of your TV (these measures may form the shape of a square, or a rectangle) and check that these taken measures are within the VESA(*) range for this wall mount (*) VESA: International standard established by the TV manufacturers used to determine if LCD / LED TVs are compatible with wall mounts.

Please select the proper screw length for your TV by hand tightening to your plat panel thread depth.

When attaching brackets to the flat screen, be careful not to over tighten screws and be sure that screws do not bottom out in the mounting holes.
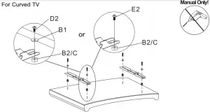
Install TV Bracket


Step 3A
CAUTION:
Ensure the wall plate is securely fastened to the wall before continuing on to the next step:
These anchors are for concrete or brick walls ONLY. DO NOT use them in drywall or wood studs.
Use a stud finder (not included)to locate wood stud. Mark the edge and center
locations.
3A-1
.
3A-2


3A-3


Drill 4 pilots holes using a 1/5 in. (5.5) is not diameter drill hit. make sure the depth less than 25/9 in.(65mm).
3A-4
Mount the wall plate using 4 sets of 23/8 in lag bolts A1 and washers A2 with a 1/2 in socket wrench (not included)

Step 3B
CAUTIOIN: Ensure the wall plate is securely fastened to the wall befoe continuing on to the next step
These anchors are for concrete or brick walls ONLY. DO NOT use them in drywall or wood studs.
3B-1

Position the wall plate at your desired height, level the wall plate and mark the polite hole locations.
3B-2

Drill 4 pilot holes using a 2/5 in. (10mm) diameter drill bit. make sure the depth is not less than 2/8 in. (0mm)
3B-3

STEP 4
Mounting your TV to the Brackets and lock it
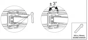
Step 5 Post Installation level
if needed, the TV can be leveled +/-3 degrees
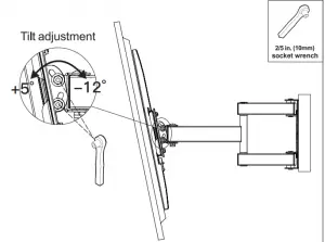
Step 6 Tilt adjustment

.





















