BEST BUY essentials BE-MSFM Full Motion Wall Mount for 19–50" TVs User Guide

Before using your new product, please read these instructions to prevent any damage.
Safety information and specifications
IMPORTANT SAFETY INSTRUCTIONS SAVE THESE INSTRUCTIONS
CAUTION: Do not use this product for any purpose not explicitly specified by Best Buy Essentials.
Improper installation may cause property damage or personal injury. If you do not understand these directions, or have doubts about the safety of the installation, contact Customer Service or call a qualified contractor. Best Buy Essentials is not responsible for damage or injury caused by incorrect installation or use.
The weight of your TV must not exceed 55 lbs. (25 kg). The wall must be capable of supporting five times the weight of your TV and wall mount combined.
This product contains small items that could be a choking hazard if swallowed. Keep these items away from young children!
Maximum TV weight: 55 lbs. (25 kg)
TV screen size: 19 in. to 50 in. diagonal
Wall mount dimensions (H × W × D):
16.93 x 16.93 x 15.67 in. (43 x 43 x 39.8 cm)
Wall-mount weight: 5.94 lbs. (2.7 kg)
We’re here for you
www.bestbuy.com/bestbuyessentials
For customer service, call: 1-866-597-8427
Features
- Supports TVs between 19-50″ and up to 55 lbs. (25 kg)
- Mounts to VESA patterns from 75 × 75 to 400 × 400 (with all common sizes in between)
- Tilts to reduce glare and improve viewing angle
- Grants access to ports behind the TV
- Prevents accidental tip-overs
- Built and backed by Best Buy
VESA TV screw hole patterns
Your wall mount works with the following VESA TV screw hole patterns:

Dimensions

Tools needed
You will need the following tools to assemble your new TV wall mount:

Package contents
Make sure that you have all the parts and hardware necessary to assemble your new TV wall mount.
Parts

TV Hardware Bag

Installation instructions
STEP 1- Determine whether your TV has a flat, irregular, or obstructed back
- Carefully place your TV screen face-down on a cushioned, clean surface to protect the screen from damages and scratches.
- If your TV has a table-top stand attached, remove the stand. See the documentation that came with your TV for instructions.
- Lay the TV brackets, oriented vertically, on the back of your TV.
- Align the screw holes in the TV brackets with the mounting screw holes on your TV.
- Identify which type of back your TV has:
- Flat back: The brackets lay flush against the back of your TV and do not block any jacks. You do not need spacers when assembling the wall mount.

- Obstructed back: The brackets block one or more of the jacks on the back of your TV. You need spacers when assembling the wall mount.

- Irregularly-shaped back: There is a gap between a bracket and some part of the back of your TV. You need spacers when assembling the wall mount.

6. Remove the TV brackets.
STEP 2 – Select screws, washers, and spacers
- Select the hardware for your TV (screws, washers, and spacers). A limited number of TVs come with mounting hardware included. (If there are screws that came with your TV, they are almost always in the holes on the back of your TV.) If you don’t know the correct length of the mounting screws your TV requires, test various sizes by hand-threading the screws.
Select one of the following types of screws:
For a TV with a flat back:
- M5 × 20 mm screws (B)
- M6 × 20 mm screws (D)
- M8 × 20 mm screws (F)
For a TV with an irregular/obstructed back: - M4 × 35 mm screws (A)
- M5 × 35 mm screws (C)
- M6 × 35 mm screws (E)
- M8 × 36 mm screws (G)
If you use M4/M5 screws, select the M4/M5 washer (I) or if you use M6 or M8 screws, select the M6/M8 washer (J). For an irregular or obstructed TV back, also use the spacers (H).
CAUTION: To avoid potential personal injuries and property damage, make sure that there are adequate threads to secure the brackets to your TV. If you encounter resistance, stop immediately and contact customer service. Use the shortest screw and spacer combination to accommodate your TV. Using hardware that is too long may damage your TV. However, using a screw that is too short may cause your TV to fall from the mount.

2. Remove the screws from the holes in the back of your TV.
STEP 3 – Installing the TV plate
You’ll need

Measure the vertical and horizontal distances between the mounting holes on the back of your TV. This mount supports VESA patterns from (W × H) 75 × 75 mm to 400 × 400 mm with all common sizes in between.

Installing your adapters
Depending on the mounting-hole pattern on your TV, you may need to install the TV plate adapters.
- Place the adapter washer over the adapter bolt, then screw on the adapter nut and tighten with a lag bolt wrench.

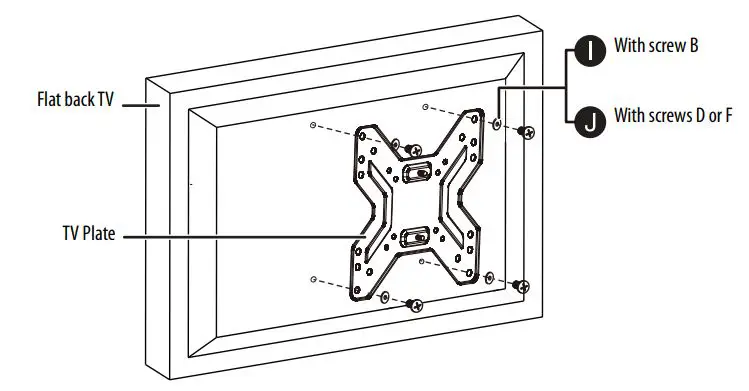
Option 1: Installing the TV plate to TVs with a flat back
- Align the TV plate with the screw holes on the back of the TV. Make sure that the plate is level.
- Place washers over the holes in the TV plate. Insert screws through the washers and TV plate.
Note: The washer (I or J) size depends on the size of the screws used. Use the I washer with screw B. Use the J washer with screw D or screw F. - Tighten the screws until they are snug against the TV plate. Do not over tighten.

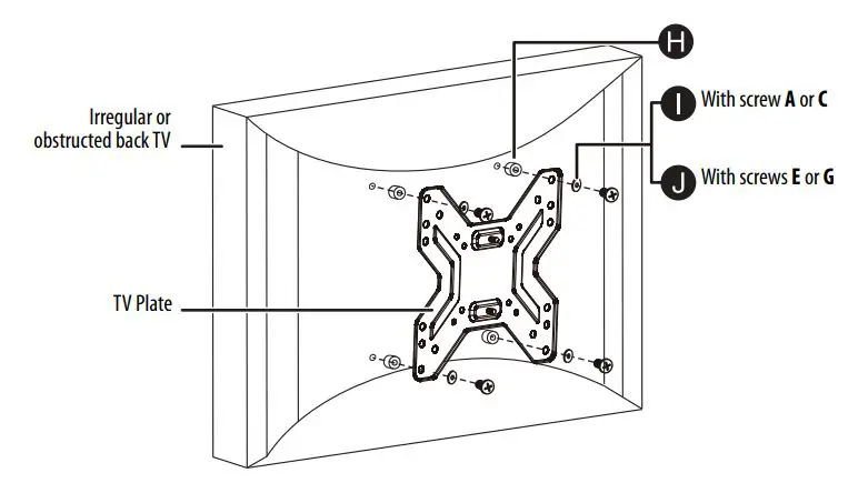
OR Option 2: Attaching the TV plate to TVs with irregular or obstructed backs
- Place spacers (H) over the holes on the back of the TV.
- Align the TV plate with the screw holes on the back of the TV. Make sure that the plate is level.
- Place washers over the holes in the TV plate. Insert screws through the washers, TV plate, and spacers.
Note: The washer (I or J) size depends on the size of the screws used. Use the I washer with screw A or screw C. Use the J washer with screw E or screw G. - Tighten the screws until they are snug against the TV plate. Do not over tighten.

STEP 4 – Determine wall-mount location
You’ll need

Notes:
- For more detailed information on determining where to drill your holes, visit our online height-finder at: http://mf1.bestbuy.selectionassistant.com/index.php/heightfinder
- Your TV should be high enough so your eyes are level with the middle of the screen. This is normally 40 to 60 in. from the ground.
The center of your TV will be offset .8 in. lower than the center of the wall plate on the wall-mount. Before you drill holes in the wall:
- Measure the distance from the bottom of your TV to the center point halfway between the top and bottom mounting holes on the back of your TV. This is measurement a.
- Measure the distance from the floor to where you want the bottom of your TV to be placed on the wall. Keep in mind that the bottom of your TV should be placed above any furniture (such as entertainment centers or TV stands). Your TV should also be above items placed on top of the furniture (like a Blu-ray player or cable box). This measurement is b.
- Add a + b. The total measurement is the height where you want the center of the wall plate to be on the wall.
- Use a pencil to mark this spot on the wall.

STEP 5 – Option 1: Install on a wood stud wall
You’ll need

- Locate the center of a stud with a stud finder.

- Align the center of the wall plate template at the height (a + b) you determined in the previous step, make sure that the template is level, then tape it to the wall. Make sure that the template holes are on the stud and the template is level.
Note: It is very important that the wall plate is level. This determines if the TV will be level when extended from the wall.
- Drill three pilot holes through the template to a depth of 2.8 in. (70 mm) using a 3/16 in. (5 mm) drill bit, then remove the template.

- Place the magnetic level on top of the wall plate, then align the wall plate with the pilot holes, insert the lag bolts (B1) through the lag bolt washers (B3) and through the holes in the wall plate. Make sure that the wall plate is level.
- Tighten the lag bolts only until they are firm against the wall plate. Remove the magnetic level.

STEP 6 – Option 2: Install on a solid concrete or concrete block wall

CAUTION: To prevent property damage or personal injury, never drill into mortar between blocks. Mount the wall plate directly onto the concrete surface.
- Align the center of the wall plate template at the height (a + b) you determined in the previous step, use the level to make sure that the template is level, then tape it to the wall.
Note: It is very important that the wall plate is level. This determines if the TV will be level when extended from the wall.
- Drill three pilot holes through the template to a depth of 2.8 in. (70 mm) using a 3/8 in. (10 mm) diameter masonry drill bit, then remove the template.

- Insert the concrete wall anchors (B2) into the pilot holes and use a hammer to make sure that the anchors are flush with the concrete surface.
Important: Make sure that you drill into the center of the studs. - Place the magnetic level on top of the wall plate, then align the wall plate with the anchors, insert the lag bolts (B1) through the lag bolt washers (B3) and through the holes in the wall plate. Make sure that the wall plate is level then tighten the lag bolts only until they are firm against the wall plate.
CAUTION: Avoid potential injuries or property damage! DO NOT over-tighten the lag bolts (B1).

* Minimum solid concrete thickness = 8 in. (20.3 cm)
* Minimum concrete block size: 8 x 8 x 16 in. (20.3 x 20.3 x 40.6 cm)
STEP 7 – Mount your TV to the wall plate
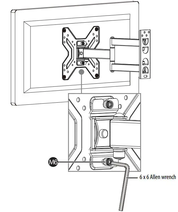
- With another person, lift the TV and align it with the slots on the wall plate. Thread two nuts (M6) onto the TV plate, then tighten the nuts to secure the TV to the wall plate with the 6 × 6 Allen wrench.
Note: Tighten the upper nut (M6) first to make sure that the TV does not slide off during installation.

STEP 8 – Managing your cables
- Thread cables for attached devices along the mounting arm, then snap the cable clip onto the mounting arm.

STEP 9 – Adjusting the TV Mount
Leveling the TV
- If the TV screen in not level, loosen the upper and lower nuts (M6) with the 6 × 6 Allen wrench and adjust the level, then tighten the nuts.
Note: If the TV screen does not tilt down, use a wrench to adjust the left and right two nuts on the TV plate.

Adjusting the tension
- To adjust the arm tension (to make the arm easier or harder to move), loosen or tighten the tension screw with the 5 × 5 Allen wrench.

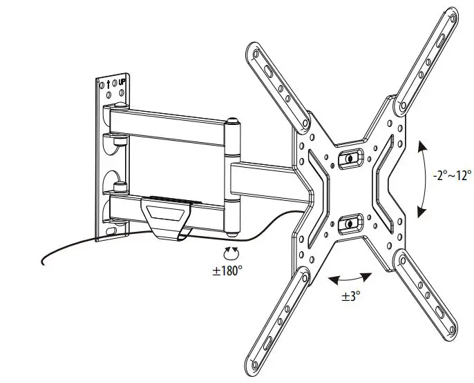
Rotating and tilting your TV
- To rotate the TV left or right, hold the sides of the TV, then push one side while pulling the other side.
- To tilt of the TV up or down, hold the top and bottom of the TV, then tilt the TV forward or backward.

ONE-YEAR LIMITED WARRANTY
Definitions:
The Distributor* of Best Buy Essentials branded products warrants to you, the original purchaser of this new Best Buy Essentials-branded product (“Product”), that the Product shall be free of defects in the original manufacturer of the material or workmanship for a period of one (1) year from the date of your purchase of the Product (“Warranty Period”). For this warranty to apply, your Product must be purchased in the United States or Canada from a Best Buy branded retail store or online at www.bestbuy.com or www.bestbuy.ca and is packaged with this warranty statement.
How long does the coverage last?
The Warranty Period lasts for 1 year (365 days) from the date you purchased the Product. Your purchase date is printed on the receipt you received with the Product.
What does this warranty cover?
During the Warranty Period, if the original manufacture of the material or workmanship of the Product is determined to be defective by an authorized Best Buy Essentials repair center or store personnel, Best Buy Essentials will (at its sole option): (1) repair the Product with new or rebuilt parts; or (2) replace the Product at no charge with new or rebuilt comparable products or parts. Products and parts replaced under this warranty become the property of Best Buy Essentials and are not returned to you. If service of Products or parts are required after the Warranty Period expires, you must pay all labor and parts charges. This warranty lasts as long as you own your Best Buy Essentials Product during the Warranty Period. Warranty coverage terminates if you sell or otherwise transfer the Product.
How to obtain warranty service?
If you purchased the Product at a Best Buy retail store location or from a Best Buy online website (www.bestbuy.com or www.bestbuy.ca), please take your original receipt and the Product to any Best Buy store. Make sure that you place the Product in its original packaging or packaging that provides the same amount of protection as the original packaging. To obtain warranty service, in the United States and Canada call 1-866-597-8427. Call agents may diagnose and correct the issue over the phone.
Where is the warranty valid?
This warranty is valid only in the United States and Canada at Best Buy branded retail stores or websites to the original purchaser of the product in the country where the original purchase was made.
What does the warranty not cover?
This warranty does not cover: Customer instruction/education
- Installation
- Set up adjustments
- Cosmetic damage
- Damage due to weather, lightning, and other acts of God, such as power surges
- Accidental damage
- Misuse
- Abuse
- Negligence
- Commercial purposes/use, including but not limited to use in a place of business or in communal areas of a multiple dwelling condominium or apartment complex, or otherwise used in a place of other than a private home.
- Modification of any part of the Product, including the antenna
- Display panel damaged by static (non-moving) images applied for lengthy periods (burn-in).
- Damage due to incorrect operation or maintenance
- Connection to an incorrect voltage or power supply
- Attempted repair by any person not authorized by BEST BUY ESSENTIALS to service the Product
- Products sold “as is” or “with all faults”
- Consumables, including but not limited to batteries (i.e. AA, AAA, C etc.)
- Products where the factory applied serial number has been altered or removed
- Loss or Theft of this product or any part of the product
- Display panels containing up to three (3) pixel failures (dots that are dark or incorrectly illuminated) grouped in an area smaller than one tenth (1/10) of the display size or up to five (5) pixel failures throughout the display. (Pixel based displays may contain a limited number of pixels that may not function normally.)
- Failures or Damage caused by any contact including but not limited to liquids, gels or pastes.
REPAIR REPLACEMENT AS PROVIDED UNDER THIS WARRANTY IS YOUR EXCLUSIVE REMEDY FOR BREACH OF WARRANTY. BEST BUY ESSENTIALS SHALL NOT BE LIABLE FOR ANY INCIDENTAL OR CONSEQUENTIAL DAMAGES FOR THE BREACH OF ANY EXPRESS OR IMPLIED WARRANTY ON THIS PRODUCT, INCLUDING, BUT NOT LIMITED TO, LOST DATA, LOSS OF USE OF YOUR PRODUCT, LOST BUSINESS OR LOST PROFITS. BEST BUY ESSENTIALS PRODUCTS MAKES NO OTHER EXPRESS WARRANTIES WITH RESPECT TO THE PRODUCT, ALL EXPRESS AND IMPLIED WARRANTIES FOR THE PRODUCT, INCLUDING BUT NOT LIMITED TO ANY IMPLIED WARRANTIES OF AND CONDITIONS OF MERCHANTABILITY AND FITNESS FOR A PARTICULAR PURPOSE, ARE LIMITED IN DURATION TO THE WARRANTY PERIOD SET FORTH ABOVE AND NO WARRANTIES, WHETHER EXPRESS OR IMPLIED, WILL APPLY AFTER THE WARRANTY PERIOD. SOME STATES, PROVINCES AND JURISDICTIONS DO NOT ALLOW LIMITATIONS ON HOW LONG AN IMPLIED WARRANTY LASTS, SO THE ABOVE LIMITATION MAY NOT APPLY TO YOU. THIS WARRANTY GIVES YOU SPECIFIC LEGAL RIGHTS, AND YOU MAY ALSO HAVE OTHER RIGHTS, WHICH VARY FROM STATE TO STATE OR PROVINCE TO PROVINCE.
Contact Best Buy Essentials: 1-866-597-8427 www.bestbuy.com/bestbuyessentials
BEST BUY ESSENTIALS is a trademark of Best Buy and its affiliated companies.
*Distributed by Best Buy Purchasing, LLC
7601 Penn Ave South, Richfield, MN 55423 U.S.A.
©2021 Best Buy. All rights reserved.©2021 Best Buy. All rights reserved

For product inquiries, please contact us with the information below:
1-866-597-8427
www.bestbuy.com/bestbuyessentials
BEST BUY ESSENTIALS is a trademark of Best Buy and its affiliated companies.
Distributed by Best Buy Purchasing, LLC
7601 Penn Ave South, Richfield, MN 55423 U.S.A.
©2021 Best Buy. All rights reserved.
V1 20-0857






















