NAKANISHI NR-3080S Spindle 
Thank you for purochasing the NR-3080S. The NR-3080S is suitable for grinding, small diameter drilling and milling. This spindle is designed to be driven with NAKANISHl’s electric motors. Read this operation manual carefully before use to ensure years of trouble-free operation.
Cautions for handling and operation
Read these cautions carefully and only use in the manner intended. Safety instructions are intended to avoid potential hazards that could result in personal injury or damage to the device. Safety instructions are classified as follows in accordance with the seriousness of the risk.
WARNING
- NAKANISHI product’s are intended for use by trained, knowledgeable, highly experienced professionals only.
The NR-3080S is not designed for hand use. Install it on a machine like a special purpose machine or an NC lathe. - Do not touch the spindle while it is running.
- Wear safety glasses, dust mask and hearing protection, and use a protective cover around the spindle whenever spindle is operating.
- Check the chuck tightness before each use.
- Do not apply excessive force. This may cause tool slippage or tool damage.
- Do not exceed the maximum allowable tool speed. For your safety, use tools below the maximum allowable speed.
- Do not use bent, broken, chipped, out of round or sub-standard tools. They can shatter or explode, and may cause injury.
- Never operate or handle the product until you have thoroughly read the owner’s manual and safe operation is confirmed.
- Handle or operate the product only after sufficient precautions to prevent injury have been taken and safety is confirmed.
- Prior to operating the product confirm that all of the above safety precautions have been taken. Do not connect the product to an energy source or supply compressed air until all safety checks have been confirmed.
CAUTION
- Do not drop or hit the spindle because shock can damage the internal components.
- Always clean the chuck. If ground particles or metal chips stick to the inside of spindle or the chuck, this will cause damage to the chuck or spindle and loss of precision.
- Always clean the tool shank before installing in the spindle.
- Do not strike the spindle or disassemble it.
- Do not over tighten the chuck. This may cause spindle damage.
- Select suitable products or tools for the applications. Do not exceed the capabilities of the spindles or cutting tools.
- Stop working immediately when abnormal rotations or unusual vibration are observed.
- Carefully direct coolant spray to the cutting tool. Do not spray directly on the spindle body.
- Use only tools with shank diameter tolerance similar to the chuck I.D. tolerance.
- Check if tools ,chucks or chuck nuts are damaged before working.
Features
- The spindle housing is made from precision ground, hardened, stainless steel with an outside diameter of
30mm. - The NR-3080S utilizes ceramic bearing for 80,000min’
- Various sizes of collet chucks are available CHA 0.5mm-4.Omm.
Specifications & Dimensions
Specifications
(Optional)
The Chuck Nut is attached to the Spindle.
Dimensions
Connecting to Motor
Align the threads on the front end of the motor and the rear end of the spindle, and turn the spindle clockwise. And make the final turns with spanner wrench provided. (Fig. 2)
CAUTION
Make sure your hands and all interlocking parts of the spindle and motor are clean before connecting the motor to the spindle to prevent contaminants from entering the motor or spindle.
Changing Tools
- Set the provided 8mm wrench on the spindle.
- Place the provided 11 mm wrench on the chuck nut and turn it counterclockwise to loosen the collet and remove the cutting tool.(the first turn will loosen the chuck nut, but the tool will not release and turning will become stiff. Keep turning through the stiffness and the collet will open.)
- Inset the new tool and tighten the collet by turning clockwise.

CAUTION
Never install a collet into the spindle quill without first assembling it in the chuck nut.
Do not tighten the collet without mounting a cutting tool or dummy bur as this will result in damage to the collet, spindle and collet nut and make it impossible to remove the collet.
Replacing the Collet
- Remove the cutting tool according to the “BChanging Tools” procedure above and remove chuck nut assembly(Fig.4).
- The collet and chuck nut are held together by a groove in the collet and a flange in the chuck nut. To remove the collet hold the chuck nut in one hand and push diagonally down on the collet. The collet should pop out.(Fig.5)
- Install the new collet in the chuck nut by positioning the collet in the chuck nut and pressing down on a flat surface.(Fig.5)

Fixturing the Motor and Spindle
- When mounting the spindle avoid the area where bearings are located, refer to the clamping area drawing in Fig.6. lf the spindle is mounted inappropriately, this will cause and damage to the spindle.
Be sure to keep to the following Cautions; “Caution about tightening the bolt” and “Caution about bushing type Holder”
- The installation shown in Fig.7 is the recommended installation method. Therefore, the installation as shown in Fig.7 is the most recommended.
(In case the above is impossible, install as shown in Fig.8)
When installing a spindle, it is not recommended to fix the spindle with a fastening bolt in direct contact with the spindle body as shown in Fig.9.
This can cause deformation of the spindle body and damage internal components.
CAUTION
Caution about tightening the bolt
Do not over tighten the bolt. This may cause damage to the spindle’s precision.
Tighten the bolt until the spindle body can not be turned by hand within the Fixture.
Apply working force and check that the spindle is tightened before use.
Caution about bushing type Holder
Insert a shim to the holder bore, and tighten the bolt with the regulated torque.Manufacture the holder with roundness and cylindrical tolerance of less than 5um. Insert a thin shim into the split in the holder to maintain the split gap at 5um(Reference value) and tighten the clamping bolt to the torque specified for that size and type of bolt. The final responsibility for ensuring a product’s suitability for use in a given application is left to the designer of the equipment in which NAKANISH’s spindle is installed.NAKANISHI offers spindles with a wide variety of capabilities and specifications. Please carefully check the product’s specifications against the requirements of your application and verify suitability and safety prior to initial use.
Cutting Tool Cautions
The following instractions are for the drill, the end mill, and the grindstone usage.
Please read them carefully before using to insure your safety.
- The proper surface speed for vitrified grindstones is 600-1,800m/min.

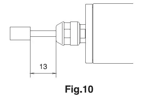
- Do not exceed 13mm overhang for mounted grindstones. In case overhang must exceed 13mm reduce the motor speed in accordance with Fig.10.

- Do not use tools with bent or broken shanks, cracks or excessive runout.
- Dress the grindstone prior to use.
- For grinding the maximum depth of cut should not exceed 0.01mm radially or axialy. Reciprocate the tool several times after each in feed step.
- Always operate tools within the tool manufacturer’s recommended speed limits. Use of a tool outside of the manufacturer’s recommended speed limits could cause damage to the spindle and injury to the operator.
- Keep the tool shank and collet clean. If contaminants are left in the collet they can cause excessive runout and damage the tool and spindle.
- Do not drop or hit spindle.

N:Max.Operating Speed at 13mm Overhang
Troubleshooting
When the trouble is found,please check the following prior to consulting your dealer
European EC Directive Conformation
The Products are conformed to EC Directives& EC Standards
Machinery Directive 2006/42/EC
Principle Standards EN ISO 14121-1 2007
NSKAmerica Corp.
1800 Global Parkway
Hoffman Estates
IL60192, USA
www.nskamericacorp.com




























