PMS-3020A Air Motor Spindle
OM-KKO960EN 000
User Manual
PMS-3020A Air Motor Spindle
Thank you for purchasing PMS-3020A, Air Motor Spindle.
These Spindles are suitable for drilling, milling, and grinding with a NC lathe or a special purpose machine.
These Spindles are designed to be driven with Air Line Kit(With Lubricator). Read this operation manual carefully before use to ensure years of trouble-free operation
Cautions in Handling
- Read these cautions carefully and only use in the manner intended.
- Safety instructions are intended to avoid potential hazards that could result in personal injury or damage to the device. Safety instructions are classified as follows in accordance with the seriousness of the risk.
| Class | Degree of Risk |
| A hazard that could result in bodily injury or damage to the device if the safety instructions are not followed. | |
| A hazard that could result in light or moderate bodily injury or damage to the device if the safety instructions are not followed. |
WARNING
- The PMS-3020A is not designed for hand use. Install it on a machine like a special purpose machine or an NC lathe.
- Do not touch the spindles while it is running.
- Wear safety glasses, dust mask and hearing protection, and use a protective cover around the spindle whenever spindle is operating.
- Check the chuck tightness before each use.
- Do not apply excessive force. Improperly regulated or lubricated air may cause tool’s slippage or tool’s damage.
- Do not exceed the maximum allowable tool speed. For your safety, use tools below the maximum allowable speed.
- Do not use bent, broken, chipped, out of round or sub-standard tools. They can shatter or explode, and may cause injury.
CAUTION
- Do not drop or hit the spindle because the shock can damage the internal components.
- Always clean the chuck. If ground particles or metal chips stick to the inside of spindle or the chuck, this will cause damage to the chuck or spindle and loss of precision.
- Always clean the tool shank before installing in the spindle.
- Do not disassemble, modify or attempt to repair the motor spindle as it will damege internal components and there are no user serviceable parts, so it can’t be repaired.
- Do not over tighten the chuck. This may cause spindle damage.
- Select suitable products or tools for the applications. Do not exceed the capabilities of the spindles or cutting tools .
- Stop working immediately when abnormal rotations or unusual vibration are observed.
- Need to supply filtered, regulated and lubricated to PMS-3020A. This may cause poor rotation and damage to the spindle.
- Use only tools with shank diameter tolerance similar to the chuck I.D. tolerance.
- Check if the air pressure is appropriate and if tools, chucks or air hose are damaged before working.
- The collet chuck has been ever outlived its usefulness. Need to be exchanged in case of its malfunction or damage.
- When using this spindle for mass production, please purchase the another spindle for spare in case of an emergency.
Features
- No heat is generated for long continuous use due to air driven operation.
- The PMS-3020A housing is made from precision ground, stainless steel(SUS-420).
Installation to a special purpose machine is made easy. - The silencer attached to the end of the exhaust air hose keeps the noise level very low.
Specifications & Dimensions
3-1 Specifications
| Speed (At 0.5MPa) | 20,000min-1 |
| Spindle Accuracy | Within 1φm |
| Appropriate Air Pressure | 0.3-0.5MPa |
| Air Consumption | 220N g/min |
| Weight | 410g |
| Air hose Diameter | Inlet hose : I.D. ∅ 4.0 XO.D. ∅ 6.0mm Length 2m Outlet hose : I.D. ∅ 6.0 XO.D. ∅8.0mm Length 0.1 m |
(Optional)
| Collet Chuck (CHA-❑❑) *Note 1 | ∅ 0.5mm- ∅ 4.0mm in 0.1mm increments and ∅ 2.35mm, 3.175mm | |
Note 1: Collet Chuck is sold separately. Please select the suitable collet chuck size for your application.
Standard Equipment Accessories
| • Chuck Nut CHN-A* • With Silencer | • Spanner (8X5) • Air Hose | • Spanner(9 X11) • Operation Manual |
3-2 Dimensions
- DPMS-3020A

- PMS-3020A-RA
*90Angle type airjoint is free to rotate for the direction of Air flow.
3-3 Torque Characteristics
changing Tools
- Set the provided 8mm spanner on the spindle.
- Place the provided 11mm spanner on the chuck nut and turn it counterclockwise to loosen the collet and remove the cutting tool. (the first turn will loosen the chuck nut, but the tool will not release from the chuck, turning will become stiff. Keep turning through the stiffness and the collet will open)
- Inset the new tool and tighten the collet by turning clockwise.

CAUTION
Never install a collet into the spindle quill without first assembling it in the chuck nut. Do not tighten the collet without mounting a cutting tool or dummy bur as this will result in damage to the collet, spindle and collet nut and make it impossible to remove the collet.
Replacing the Collet
- Remove the cutting tool according to E. Changing Tools procedure above and remove chuck nut assembly.(Fig.4)
- The collet and chuck nut are held together by a groove in the collet and a flange in the chuck nut. To remove the collet hold the chuck nut in one hand and push diagonally down on the collet.(Fig.5)
- Inset the new tool and tighten the collet by turning clockwise.

Installation of Air Motor and Spindle
- When mounting the spindle avoid the area where bearings are located. If the spindle is mounted inappropriately, this will cause and damage to the spindle.
(Refer to the clamping area drawing in Fig.6)
- The installation shown in Fig.7 is the recommended installation method.
(In case the above is impossible, install as shown in Fig.8)
When installing the spindle, it is not recommended to fix the spindle with a fastening bolt in direct contact with the spindle body as shown in Fig.9.
This can cause deformation of the spindle body and damage internal components.
CAUTION
- Caution about tightening the bolt
Do not over tighten the bolt. This may cause damage to the spindle’s precision.
Tighten the bolt until the spindle body can not be turned by hand within the Fixture.
Apply working force and check that the spindle is tightened before use. - Caution about bushing type Holder
Insert a shim to the holder bore, and tighten the bolt with the regulated torque.
Manufacture the holder with roundness and cylindrical tolerance of less than 5um.
Insert a thin shim into the split in the holder to maintain the split gap at 5um (Reference value) and tighten the clamping bolt to the torque specified for that size and type of bolt.
The final responsibility for ensuring a product’s suitability for use in a given application is left to the designer of the equipment in which NAKANISHl’s spindle is installed. NAKANISHI offers spindles with a wide variety of capabilities and specifications. Please carefully check the product’s specifications against the requirements of your application and verify suitability and safety prior to initial use.
Connection of Air Line Kit (AL-0304/K-239)
- Connect the Filter Joint at the end of the Air Intake Hose of PMS-3020A to the connector for the hose of Air Line Kit.
- Connect the another of the Air Intake Hose to the easy connection joint of PMS-3020A.
- Fill oil reservoir through the Oil Filler Cap with recommended NAKANISHI oil(liquid paraffin ISO VG15) to upper limit on the Reservoir. Disconnect from air supply prior to opening Oil Filler Cap. Do not over or under fill.
- Put the hose for air piping to the connector for air hose.Attach the reversed side of the hose for air piping to the air compressor.
- Supply air from the air compressor and turn regulator knob clockwise(clockwise=high)to set air pressure between 0.3-0.5MPa.
- Run the motor at the proper pressure. Close the Oil Drip Rate Adjusting Screw by turning counterclockwise and then turn Oil Drip Rate Adjusting Screw clockwise to adjust drip rate to 30-40 drops/min. (If you’re not using an NAKANISHI lubricator, adjust between 1-3 drops/min.)
CAUTION
NAKANISHl’s lubricators deliver approximately 3% of the visible drip rate into the air line, but air flow and oil viscosity could affect this rate. Please adjust the oil drip rate so that a full oil bowl depletes from the upper gauge to the downer gauge (Approximately 40cc) in 40-50 hours.
Cautions for Air Line Kits
- PMS-3020A require a clean, dry air supply to the air line kit for proper operation.
Please connect an air filter and/or dryer between the compressor and NAKANISHl’s air line kit to ensure a clean, dry air supply. Mount the air line kit as close as possible to the spindle to ensure a constant oil supply. In high humidity areas please use a large capacity filter and/or dryer to ensure years of trouble free operation. - Check that all hose connections are secure and strong to avoid accidental disconnection during operation. Do not exceed 1.0MPa for incoming air pressure to the air line kit. Incoming air pressure from the compressor in excess of 1.0MPa may cause the air hose to burst.
- About connection, operation and cautions of Air Line Kit, refer to “Air Line Kit Operation Manual”.
Air Line Kit Operation
- Moisture in the Air Filter(Fig.11)
Drain moisture from the Air Filter by pushing the Drain Valve sideways.
- oil Volume (Fig.12)
Check the oil volume at least once a week. If the oil level is low, fill to the upper limit. If the oil levelis above the upper limit, remove the excess oil. Take care not to over or under fill the oil reservoir as this can cause the oil delivery rate to vary.
CAUTION
When adding or removing oil, be sure to disconnect the incoming air supply from the Compressor, prior to opening the Oil Filler Cap. - Adjusting the Oil Drip Rate(Fig.13)
Run the air motor spindle at the specified air pressure and adjust the oil drip rate to the recommended rate by turning the Oil Drip Rate Adjusting Screw.(About 30 to 40 drips/min) Turn the screw counterclockwise to increase the rate and clockwise to decrease. If using a stopped lubricator, adjust the oil drip rate to about 1-3 drips/min.
- Remove Oil and Moisture Regularly(Fig.14)
Remove and replace the oil in the Reservoir once a month, to ensure a pure oil source for the motor. Moisture may collect and mix with the oil in the Reservoir and damage the motor. Open the Drain Valve at the bottom of the reservoir by turning it counterclockwise.
- Oil
Liquid paraffin ISO VG15 is recommended.
Caution in handling tools
- The proper surface speed for vitrified grindstones is 600-1800m/min.
CAUTION
Do not exceed a surface speed of 2,000m/min for grinding.
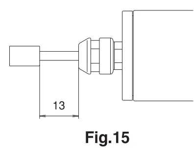
- Do not exceed 13mm overhang for mounted grindstones. In case overhang must exceed 13mm reduce the motor speed in accordance with Fig.15.
- Do not use tools with bent or broken shanks, cracks or excessive runout.
- Dress the grindstone prior to use.
- For grinding the maximum depth of cut should not exceed 0.01mm radially or axially. Reciprocate the tool several times after each in feed step.
- Always operate tools within the tool manufacturer’s recommended speed limits. Use of a tool outside of the manufacturer’s recommended speed limits could cause damage to the spindle and injury to the operator.
- Keep the tool shank and collet clean. If contaminants are left in the collet they can cause excessive runout and damage the tool and spindle.
- Do not strike or disassemble the spindle.
Table 2. Overhang and Speed
| Overhang(mm) | Speed(rpm) |
| 20 | NX0.5 |
| 25 | N X0.3 |
| 50 | NX0.1 |
N-=Max. operating speed at 13mm overhang

Troubleshooting
When the trouble is found, please check the following prior to consulting your dealer.
| Trouble | Cause | Inspect/Corrective Action |
| Motor speed decrease | Bad hose connection | Check the connection part and retighten the thread. |
| Damage to Hose | Replace hose | |
| Poor air flow and air pressure | Check if the air circuit is damaged | |
| Low or No Lubricant | Check lubricator for proper lubricant level. Set lubricant drip rate from 30 to 40 drops/min. Remove air supply lubricant directly into the hose. If using a non-NAKANISHI lubricator, adjust lubricant drip rate from 1 to 3 drips. | |
| Lubricator inclined or upside down | Inclined or upside down lubricator will flood spindle with lubricant. | |
| Over filled lubricator | Drain lubricant from Reservoir to within indicated levels. Excess lubricant will flood spindle. | |
| Lubricator set to drip more than 40 drops per minute. | Excessive lubricant drip rate causes resistance on ball bearings and slows down the speed. Set oil drip rate properly. | |
| Water in Lubricant Reservoir | Drain water from Lubricant Reservoir, and replace with clean lubricant. | |
| Water in Air Filter | Drain water from air filter. | |
| Does not rotate | Air flow does not reach the spindle | Air Pressure Regulator turned to low Pressure. Set proper air pressure. Check source of compressed air. |
| Air hoses not connected properly. Check air hoses for cracks, kinks, or disconnection. | ||
| Damage to the motor | Return for service | |
| Tool Slippage | Contaminants inside the chuck or the spindle. | Clean the inside of the chuck and the spindle. |
| Collet Nut is not properly positioned | Set the chuck nut properly | |
| Cutting tool is bent | Replace cutting tool. | |
| Noise or vibration during rotation | Bent tool | Change the tool. |
| Contaminants inside the ball bearing. Ball bearing worn out | Send to NAKANISHI repair |
| NAKAN ISH I INC. 700 Shimohinata, Kanuma Tochigi 322-8666 Japan www.nakanishi-inc.com | NSK America Corp. 1800 Global Parkway Hoffman Estates IL60192, USA www.nskamericacorp.com | NSK Europe GmbH Elly-Beinhorn-Strasse 8 65760 Eschborn Germany | NSK United Kingdom Ltd. UK Authorised Representative Office 4, Gateway 1000 Arlington Business Park, Whittle Way Stevenage, SG1 2FP, UK |
Contents are subject to change without notice.
2021-XX-XX CACBXXXX XXXN

*90Angle type airjoint is free to rotate for the direction of Air flow.
changing Tools


























