EM25N-5000J Brushless Motor
User Manual
Thank you for purchasing the Brushless Motor ” EM25N – 5000J “. This Brushless Motor which can be connected with 50,000min-1 spindle. The E3000 CONTROLLER, spindle and Air Line Kit are required to drive this Brushless Motor. Read this and all the associated component Operation Manuals carefully before use. Always keep this Operation Manual in a place where a user can referred to for reference at any time.
CAUTIONS FOR HANDLING AND OPERATION
- Read these warnings and cautions carefully and only use in the manner intended.
- These warnings and cautions are intended to avoid potential hazards that could result in personal injury to the operator or damage to the device. These are classified as follows in accordance with the seriousness of the risk.
| Class | Degree of Risk |
| A safety hazard could result in bodily injury or damage to the device if the safety instructions are not properly followed. | |
| A hazard that could result in light or moderate bodily injury or damage to the device if the safety instructions are not followed. |
WARNING
- This Brushless Motor is not a hand tool. It is designed to be used on CNC machines or special purpose machines.
- Do not touch the cutting tool while it is running. It is very dangerous.
- Wear safety glasses, dust mask, and use a protective cover around the Brushless Motor whenever the Brushless Motor is rotating.
- Never connect, disconnect or touch the Power Cord or Motor Cord Plug with wet hands. This may cause an electric shock.
- Never operate or handle the Brushless Motor and spindle until you have thoroughly read the Operation Manuals and safe operation has been confirmed.
1) To prevent injuries / damages, check the Brushless Motor, spindle and cutting tool for proper installation, before operating the Brushless Motor and spindle.
2) Before disconnecting the Brushless Motor and spindle, always turn the control power off and turn the compressed air supply to the CONTROLLER off. Then it is safe to remove the Brushless Motor and spindle. - Whenever installing a Brushless Motor to a fixed metal base, ensure that the fixed metal base is grounded in order to avoid risk of an electric shock.
CAUTION
- Do not drop or hit this Brushless Motor, as shock can damage to the internal components.
- When cleaning a Brushless Motor, stop the Brushless Motor and remove debris with a soft brush or a cloth. Do not blow air into the Brushless Motor with compressed air as foreign particles or cutting debris may get into the ball bearing.
- Select suitable products or tools for all applications. Do not exceed the capabilities of the Brushless Motor or tools.
- Do not stop the supplied cooling air to the Brushless Motor during operation of the machine. Removing the air pressure from the Brushless Motor causes a loss of purging, allowing the Brushless Motor to ingest coolant and debris. This will cause damage to the Brushless Motor.
- Stop working immediately when abnormal rotation or unusual vibration are observed. Immediately, please check the content of section ” 9. TROUBLESHOOTING “.
- Always check if the connection hose and supply air hose for damaged before and after operating.
- After installation, repair, initial operation, or long periods of non operation, please carry out break in as follow. Start rotating slowly and over a short period of 15 – 20 minutes, increase speed gradually until Maximum Allowable Motor Rotation Speed.
- Do not disassemble, modify or attempt to repair this Brushless Motor. Additional damage will occur to the internal components. Service must be performed by NSK NAKANISHI or an authorized service center.
- When using this Brushless Motor for mass production, please consider the purchase of an additional Brushless Motor to be used as a back-up in case of emergency.
- Securely connect the compressor supply connection hose to the Air Line Kit, and connect the air hose to the Air Line Kit, the CONTROLLER and the Brushless Motor to avoid accidental disconnection during use.
BASIC PACKAGE
When opening the package, check if it includes all items listed in ” Table. 1 Packing List Contents “.
In the event of any shortage, please contact either NAKANISHI (see the ” 4. CONTACT US ” section) or your local dealer.
Table. 1 Packing List Contents
| Brushless Motor・・1pc. | Wrench (22 x 27) ・・1pc. | Operation Manual・・1set |
![]() | ||
WARRANTY
We provide a limited warranty for our products. We will repair or replace the products if the cause of failure is due to the following manufactures defects. Please contact us or your local distributor for details.
- Defect in manufacturing.
- Any shortage of components in the package.
- Where damaged components are found when initially opening the package. (This shall not apply if the damage was caused by the negligence of a customer.)
CONTACT US
For your safety and convenience when purchasing our products, we welcome your questions.
If you have any questions about operation, maintenance and repair of the product, please contact us.
Contact Us
- For U.S. Market
Company Name NSK America Corp. Industrial Div. Business Hours 8:00 to 17:00 (CST) (closed Saturday, Sunday and Public Holidays) U.S. Toll Free No. +1 800 585 4675 Telephone No. +1 847 843 7664 Fax No. +1 847 843 7622 Website www.nskamericacorp.com - For Other Markets
Company Name NAKANISHI INC. 
Business Hours 8:00 to 17:00 (JST) (closed Saturday, Sunday and Public Holidays) Telephone No. +81 289 64 3520 E-mail [email protected]
FEATURES
- The Brushless Motor housing is made from precision ground, hardened, stainless steel (SUS) with an outside diameter of φ25mm.
- Excellent durability and high reliability are obtained by using a high-speed Brushless Motor, which eliminates the need for brush replacement and frequent maintenance.
- A quick disconnect cord is available for easy Brushless Motor removal.
- The maximum output is 250W.
- Air-cooling system with a small volume of air (30ℓ/min) is used to prevent heat buildup and allows long continuous operation.
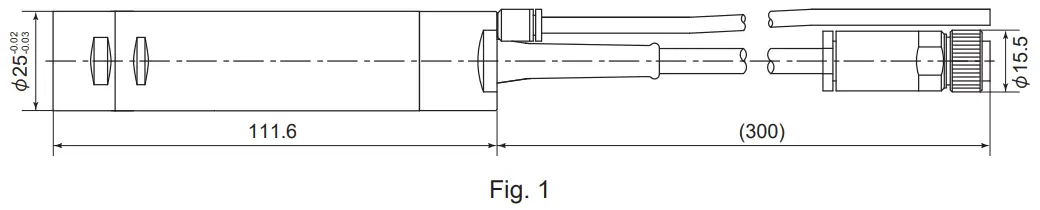
SPECIFICATIONS AND DIMENSIONS
6 – 1 Specifications
| Model | EM25N – 5000J |
| Motor Rotation Speed | 1,000 – 50,000min-1 (rpm) |
| Max. Output | 250W |
| Applicable CONTROLLER | E3000 CONTROLLER |
| Motor Cord Length | 0.3m |
| Weight | 335g (with Motor Cord) |
| Noise Level at 1m distance | Less than 70dB (A) |
| Temperature | Humidity | Atmospheric Pressure | |
| Operation Environment | 0 – 40°C | MAX.75% (No condensation) | 800 – 1,060hPa |
| Transportation and Storage Environment | -10 – 50°C | 10 – 85% | 500 – 1,060hPa |
<Option>
| Motor Cord *Note 1 | ・EMCD – 2350J – 4M (3.7m) ・EMCD – 2350J – 6M (5.7m) ・EMCD – 2350J – 8M (7.7m) |
* Note 1: Motor Cord is sold separately. Please select the suitable motor cord length for your application.
(The Air Hose ( φ4mm) of the same length is included.)
6 – 2 Outside View

6 – 3 Torque Characteristics

CONNECTION OF MOTOR CORD
CAUTION
- Before connecting the Motor Cord to the CONTROLLER, verify the Main Power Switch on the CONTROLLER is turned OFF. If the Main Power Switch on the CONTROLLER is ON while connecting the Motor Cord, damage to the CONTROLLER is possible.
- Install the Protective Cap with strap to prevent damage or contamination to the Motor Cord Connector when not in use.
- Remove the Protective Cap with strap on the Motor Cord Connector. Keep the Cap attached to the cable to keep the connector pins safe and clean when not in use.

- Carefully insert the Alignment Hole on the Motor Cord Connector into the Alignment Pin on the Motor Cord Connector, then push straight into the Motor Cord Connector.

- Tighten the Connector Nut with clockwise.

- Remove the protective air plug.

- Insert the provided air hose.

CONNECTION OF THE MOTOR TO THE SPINDLE
CAUTION
- Make sure your hands and all interlocking parts of the spindle and the Brushless Motor are clean before connecting the Brushless Motor to the spindle. This is critical in preventing contaminants from entering the Brushless Motor or the spindle.
- The new drive clutch is (+) configuration. The (+) drive spindles were designed to be used with (+) drive Brushless Motors and speed reducers (Fig. 8).

Align the thread on the front end of the Brushless Motor and the rear of the spindle, and turn the spindle clockwise. If the drive shaft of the Brushless Motor does not engage properly to the drive dog on the spindle, it may only turn approximately two threads before stopping. DO NOT FORCE THEM TOGETHER. Loosen the spindle from the Brushless Motor, rotate the spindle shaft by hand then re-try. The drive shaft and the drive dog must be fully engaged. When fully engaged, secure the spindle and Brushless Motor using the provided 22mm wrench (Fig. 9).

TROUBLESHOOTING
If a problem or concern occur, please check the following items prior to consulting your dealer.
| Trouble | Cause | Inspection/Corrective Action |
| Motor does not run. | Power is not supplied. | • Make sure to turn ON the Main Power Switch on the front of the CONTROLLER. • Insert the Power Cord Plug correctly into the Main Power Inlet with Power Supply Fuses of the CONTROLLER. • Check if a fuse is blown. |
| Motor Cord Plug is not connected to the Motor, CONTROLLER or SELECTOR. | Connect the Motor Cord Plug correctly to the Motor and CONTROLLER. | |
| Control Button (CTRL) is set to Manual mode but trying to start with an External Command Signal through Input/Output Connector A. | Start with the Start/Stop Button (START/STOP), or set the Control Button (CTLR) on the Control Panel to Auto mode. | |
| Control Button (CTRL) is set to Auto mode but trying to manually start with the Start Button (START/STOP) on the Control Panel. | Start with an External Command Signal or set the Control Button on the Control Panel to Manual mode. | |
| Emergency Stop Signal is OFF (Open). | Emergency Stop Signal is ON (Closed). | |
| An Error has occurred. (Error LED is lit.) | Check and correct the source of the Error Code. | |
| Low air pressure. | Adjust to the air pressure 0.25 — 0.3MPa. | |
| Can not set the increase or decrease of the motor rotation speed. parameter. | Motor Fixed Speed is set in the | Release parameter |
| Can not set the motor speed to its maximum allowable speed. | Either trying to set the value, more than the rotation speed of the connected motor, or the upper limit of the rotation speed is set by parameter | Set the Maximum Rotation Speed to not less than desired Motor Rotation Speed by parameter |
| Air Input Monitoring Override is set in the | Check the setting of parameter | |
| A blinking dot appears on Digital Speed Indicator. Cannot set the desired rotation speed. | Gear Ratio is set to a value other than “1.0 “. | Check the setting of Gear Ratio. |
Refer to the spindle and the E3000 CONTROLLER Operation Manuals.
DISPOSAL OF THE BRUSHLESS MOTOR
When disposal of a Brushless Motor is necessary, follow the instructions from your local government agency for proper disposal of industrial components.
| Download operation manual | Our website |
![]() | ![]() |
| https://www.nsk-nakanishi.co.jp/industrial-eng/search/index.php?search=EM25N-5000J | https://www.nsk-nakanishi.co.jp/industrial-eng/ |
| NAKANISHI INC. 700 Shoshonite, Kanuma Tochigi 322-8666 Japan www.nakanishi-inc.com | NSK America Corp. 1800 Global Parkway Hoffman Estates IL 60192, USA www.nskamericacorp.com |
| NSK Europe GmbH Elly-Beinhorn-Strasse 8 65760 Eschborn Germany | NSK United Kingdom Ltd. UK Authorised Representative Office 4, Gateway 1000 Arlington Business Park, Whittle Way Stevenage, SG1 2FP, UK |
Contents are subject to change without notice.
2021-XX-XX CACBXXXX 005N



























