QSC AD-S112SW AcousticDesign Series 12 Inch Subwoofer
Product Information
The AcousticDesignTM Series is a line of loudspeakers designed by QSC. These loudspeakers are equipped with a Yoke Mount for easy installation and positioning. The Yoke Mount allows for secure mounting of the loudspeakers on various surfaces. The Yoke Mount comes with integrated suspension points and mounting pads for added stability. The loudspeakers in this series are designed to provide high-quality sound and are suitable for both indoor and outdoor use.
Installing the Yoke Mount
WARNING! Consult a structural engineer before mounting the Yoke Mounts to any surface. Ensure that the surface can support the weight of the loudspeaker and use the proper bolts to secure the yoke to the surface.
- Properly secure the yoke mount bracket to the selected surface.
- Use a small thin object (e.g., flat tip screwdriver) to remove the M10 Integrated Suspension Point adhesive covers. Refer to Figure 1.

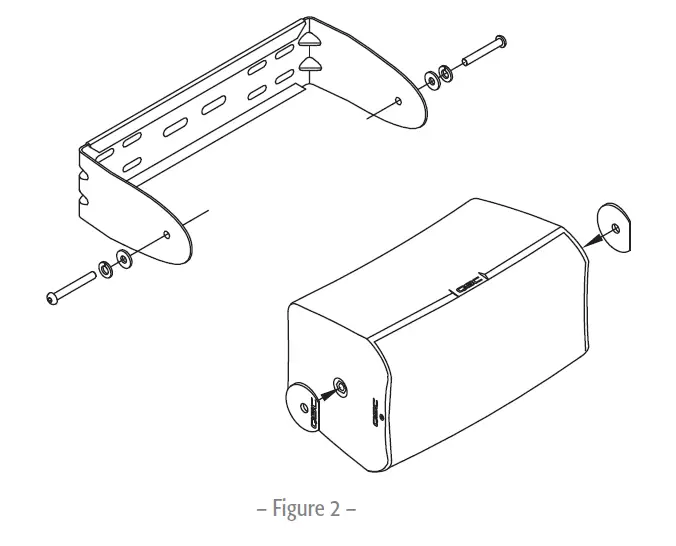
- Remove the backing from the mounting pads and place them over the M10 screw holes, with the flat edge towards the front of the loudspeaker. Ensure that the hole in the pad is aligned with the M10 hole. Refer to Figure 2.

- Mount the loudspeaker in the yoke.
- Use a 6 mm hex key to install the M10 button-head hex drive screws, lock washers, and flat washers through the yoke and pad, and into the Integrated Suspension point. Do not fully tighten the screws at this point.
- Adjust the angle of the loudspeaker as required.
- Torque the M10 screws to 60 in/lbs.
Pendant Hang
The two slots in the center of the yoke are designed to accommodate up to a 0.5 inch (12.7 mm) pipe (all thread or end threads). The center of gravity is marked on the inside of the yoke, and it changes depending on the side the woofer is on. Refer to Figure 3.
Note: For complete user guide and warranty information, visit www.qscaudio.com.
Wire the Loudspeaker
Warranty (USA only; other countries, see your dealer or distributor)
QSC Audio Products 3 Year Limited Warranty
QSC Audio Products, LLC (”QSC”) guarantees its products to be free from defective material and/or workmanship and will replace defective parts and repair malfunctioning products under this warranty when the defect occurs under normal installation and use, provided the unit is returned to our factory, one of our authorized service stations or an authorized QSC International Distributor via pre-paid transportation with a copy of proof of purchase (i.e., sales receipt). This warranty provides that the examination of the return product must indicate, in our judgment, a manufacturing defect. This warranty does not extend to any product which has been subjected to misuse, neglect, accident, improper installation, or where the date code has been removed or defaced. QSC shall not be liable for incidental and/or consequential damages. This warranty gives you specific legal rights. This limited warranty is freely transferable during the term of the warranty period. The warranty on QSC products is NOT VALID if the products have been purchased from an unauthorized dealer/online e-tailer, or if the original factory serial number has been removed, defaced, or replaced in any way. Damage to, or loss of any software or data residing on the product is not covered. When providing repair or replacement service, QSC will use reasonable efforts to reinstall the product’s original software configuration and subsequent update releases, but will not provide any recovery or transfer of software or data contained on the serviced unit not originally included in the product. Customers may have additional rights, which vary from state to state or from country to country. In the event that a provision of this limited warranty is void, prohibited or superseded by local laws, the remaining provisions shall remain in effect. The QSC limited warranty is valid for a period of three (3) years from date of purchase in the United States and many (but not all) other countries. For QSC warranty information in countries other than the United States, contact your authorized QSC international distributor. A list of QSC International distributors is available at www.qsc.com. To register your QSC product online, go to www.qsc.com and select ”Product Registration”. Other questions regarding this warranty can be answered by calling, e-mailing or contacting your authorized QSC distributor.
Phone: 1-800-854-4079 within US and Canada, +1-714-754-6175 international,
Email: [email protected], Website: www.qsc.com.
If you would like a full copy of the AcousticDesign User manual, visit the QSC Audio Products website at www.qsc.com, or contact Customer Service +1 714 957-7150 or toll free (USA only) (800) 772-2834 to receive a copy by mail.
Features
- DMT™ (Directivity Matched Transition) ensures smooth, uniform frequency response over the coverage area
- X-Mount™ system enables the loudspeaker to be easily installed and deployed at a variety of angles with no slippage over time
- Advanced voicing filter sets using QSC Intrinsic Correction™, available through either Q-Sys processing or CXD amplifier platforms
- Low-saturation and low-loss 70/100V transformers with 8Ω bypass
- Lightweight ABS enclosures offer long-term durability and lasting good looks
- Sealed input panel cover and powder coated aluminum grilles for added weather resistance
- Meets IEC60529 IP-54 for dust and splash resistance
- M10 fittings for optional yoke mount or suspended installations
- Available in black (RAL 9011) or white (RAL 9010)
- Complete EASE, CAD & BIM information available online

Small format, surface mount loudspeaker
Restaurant ∙ Retail ∙ Audio Visual ∙ Education ∙ Concourses ∙ Casinos ∙ Transportation Terminals ∙ Worship Facilities ∙ Large System Ancillary Support
- The QSC AcousticDesign™ AD-S10T is a surface mounted 70/100V, 10” two-way loudspeaker system, ideally suited for a wide variety of foreground and background sound reinforcement applications. AcousticDesign™ series offers integrators a premium quality installed sound solution where performance, coverage, and aesthetics are paramount. Combined with unprecedented ease-of-installation and high weather resistance, the AcousticDesign™ series provides integrators a versatile and confident install solution.
- The AD-S10T features a high quality 10” weather treated paper cone woofer on a 2.5” voice coil. A carefully selected 1” exit, 1.4” compression driver perfectly matches the sensitivity and performance of the woofer for outstanding full-range reproduction.
- Consistent and even 90° axisymmetric (conical) coverage is achieved through DMT™ (Directivity Matched Transition), a QSC innovation which matches the directivity patterns of the woofer and the high-frequency waveguide at the crossover point. The result is a coherent transition between transducers and improved off-axis response.
- The even, accurate frequency response of the AD-S10T is aided by a 100-watt low-loss, low-saturation transformer with selectable taps, including an 8Ω bypass. To enhance weather resistance, the rotary selector is located on the back of the enclosure, protected by a weather grommet. With rugged ABS enclosures, sealed input panel covers, and powder-coated aluminum grilles for weather resistance, the AcousticDesign™ surface mounted series exceed IEC60529 IP-54 ratings for dust and splash resistance.
- Installers will appreciate the award-winning X-Mount™ system included with each fullrange AcousticDesign™ model. This ingenious mounting solution achieves unprecedented ease-of-installation in horizontal, vertical, wall, or ceiling deployments. Knurled surfaces at the pivot planes ensure the load will not drift or sag over time. Articulation marks allow reconfiguration of the X-Mount™ while on the ground with no special tools required. Once secure, the loudspeaker installs in seconds, allowing the installer to work safer, smarter, and faster with repeatable results.
- The AD-S10T also includes M10 fittings for optional yoke mount (YMS10T) or shoulder eybolt (M10 Kit-C) accessories for installation versatility.
- To further enhance performance and speed of install with optimum result, advanced voicing filter sets using QSC Intrinsic Correction™ techniques are obtainable using Q-Sys networked audio processing platforms, including CXD amplifiers for a complete QSC systems solution.
- The AcousticDesign™ series feature a stylish appearance free of obtrusive logo adornments for aesthetically sensitive installations. AcousticDesign™ surface loudspeakers are available in QSC standard black (RAL 9011) or white (RAL 9010) and may be painted to match any decor. To assist in successful systems integration, complete EASE, CAD, and BIM files are available for online download at QSC.com.
AD-S10T Details
Horizontal Contour:
Impedance / Frequence Response:
Dimensions:


Specifications:
- System Details AD-S10T
- Effective frequency range1 50 – 19k Hz
- Rated noise power / voltage2 250 watts / 45 volts (rms)
- Broad-band sensitivity3 92 dB SPL
- Coverage angle (-6 dB) 90°
- Directivity factor (Q) 10
- Directivity Index 10 dB
- Maximum continuous SPL4 116 dB
- Maximum peak SPL4 122 dB
- Rated impedance 8 ohms
- Recommendedamplifierpower 500 watts
- Transformer taps 70 V: 100, 50, 25, 12.5 watts and 8 ohm bypass 100V: 100, 50, 25 watts and 8 ohm bypass
- HF transducer 1” exit / 1.4” voice-coil compression driver
- LF transducer 10” weather resistant paper cone woofer, 2.5” / 64 mm voice-coil
- Input connector type Euroblock connector with parallel output
- Enclosure material Painted ABS polymer
- Grille material Powder coated aluminum
- X-Mount material Powder coated aluminum
- Enclosure Details
- Ingress protection IP-54
- Operating environment Designed for indoor and outdoor use
- Testing The AD Series loudspeakers qualified for outdoor use using the following tests:
- Salt fog: MIL-STD-810G Method 509.5 for 100 hrs.
- Humidity: MIL-STD-810G Method 507.5,
- Natural cycle B2, cyclic high RH for 7 days
- High and low temperature: tested to QSC internal standards between -20° and 50° C
- OperatingTemperature Range -20 to 50 °C / -4 to 122 °F
- Net weight 31 lb / 15 kg
- Product dimensions 20.3” x 12.5” x 11.7” (516 x 318 x 298 mm)
- Shipping weight 40.6 lb / 18.45 kg
- Shipping dimensions 31.7” x 16.1” X 16.1” (805 x 409 x 409 mm)
- Included accessories X-Mount mounting system, euroblock connector, input panel cover
- Optional accessories YMS10T yoke mount, M10 Kit-C
- Free-field, -10 dB from on-axis sensitivity
- IEC60268-1 noise signal for 2 hours
- On-Axis, free-field sensitivity, 2.83V, 1 m
- Calculated from rated noise voltage and sensitivity
QSC Limited Warranty
THIS LIMITED WARRANTY BY QSC AUDIO PRODUCTS (“QSC1 GIVES THE PURCHASING CUSTOMER (“YOU” OR “CUSTOMER1 SPECIFIC LEGAL RIGHTS, AND YOU MAY HAVE OTHER RIGHTS THAT VARY FROM STATE TO STATE OR TERRITORY OR BY COUNTRY OR PROVINCE. OTHER THAN AS PERMITTED BY LAW, QSC DOES NOT EXCLUDE, LIMIT OR SUSPEND OTHER RIGHTS YOU MAY HAVE, INCLUDING THOSE THAT MAY ARISE FROM THE NONCONFORMITY OF A SALES CONTRACT. FOR A FULL UNDERSTANDING OF YOUR RIGHTS YOU SHOULD CONSULT THE LAWS OF YOUR STATE OR TERRITORY COUNTRY OR PROVINCE.
QSC warrants the QSC-manufactured hardware, products, and accessories contained in the original packaging (“QSC Product”) against defects in materials and workmanship when used normally in accordance with QSC’s published guidelines for a period (“Warranty Period. The Warranty Period is the greater of (i) three (3) years from the date of purchase, or (ii) the maximum period required under the local laws where the QSC Product is purchased. QSC’s published guidelines include but are not limited to information contained in technical specifications, user manuals, and service communications. QSC is not responsible for any damage or injury arising from failure to follow instructions relating to the proper use of any QSC Product. Notwithstanding the foregoing, the Warranty Period for QSC TouchMix is the greater of (i) one {1) year from the date of purchase, or (ii) the maximum period required under the local laws where QSC TouchMix is purchased.
The most up-to-date version of this warranty statement may be found at www.qsc.com . Warranty Exclusions. This limited warranty does not apply to any non-QSC branded hardware products or any software, even if packaged or sold with QSC Products(s). Manufacturers, suppliers, or publishers other than QSC, may provide their own warranties to you, but QSC, in so far as permitted by law, provides the associated software included with their QSC Products on an “AS IS” basis. Software distributed by QSC, with or without the QSC trademark is not covered by this limited warranty. Please refer to the licensing agreement accompanying the software for details of your rights with respect to its use. This limited warranty does not apply: (a) to consumable parts, such as batteries unless failure has occurred due to a defect in materials or workmanship ; (b) to cosmetic damage, including but not limited to scratches, dents, and broken plastic on ports; (c) to damage caused by use with another product; (d) to damage caused by accident, abuse, misuse, flooding, immersion or spillage of fluids, fire, earthquake, acts of God, or other external causes; (e) to damage caused by operating the QSC Product outside QSC’s published guidelines; (f) to damage caused by service (including upgrades and expansions) performed by anyone who is not an authorized representative of QSC; (g) to QSC Product that has been modified to alter functionality or capability without the written permission of QSC; (h) to defects caused by normal wear and tear or otherwise due to the normal aging of the QSC Product, (i) purchased from an unauthorized dealer or online vendor, or G) if any serial number has been removed, altered or defaced from the QSC Product. The duration of any implied warranties, including the implied warranty of merchantability, is limited to the duration of the express warranties herein. QSC hereby excludes incidental and consequential damages, including loss of time, inconvenience, or loss of use of the apparatus, for any breach of the express or implied warranty applicable to this apparatus. Failure to follow the safety instructions and/or maintenance and repair recommendations contained in the User Manual voids all express and/or implied warranties applicable to this apparatus. Proper care and maintenance can add years to the life of QSC hardware. Improper care and maintenance may void manufacturer warranties stated herein and ca use permanent damage to the hardware.
Advanced technology, e.g., the use of modern materials and powerful electronics, requires specially adapted maintenance and repair methods. T avoid a danger of subsequent damage to the apparatus, injuries to persons and/or the creation of additional safety hazards, all maintenance or repair work on the apparatus should be performed only by a QSC authorized service station or an authorized QSC International Distributor. QSC is not responsible for any injury, harm or related damages arising from any failure of the customer, owner or user of the apparatus to facilitate those repairs.
Repair or Replacement. QSC will, at its option, replace or repair defective products when the defect occurs under normal installation and use; provided, that the defective QSC Product is returned to the original point of purchase, a QSC factory, one of QSC’s authorized service stations or an authorized QSC International Distributor via pre-paid transportation with a copy of proof of purchase (e.g., a sales receipt). This limited warranty provides that the examination of the returned QSC Product must indicate, in QSC’s judgment, a defect in materials or workmanship. When providing repair or replacement service, QSC will use reasonable efforts to reinstall the product’s original software configuration and subsequent update releases, but will not provide any recovery or transfer of software or data contained on the serviced QSC Product unit not originally included in the QSC Product. If QSC is unable to repair or replace the product, it will refund the lesser of either the current value of the product at the time the warranty claim is made or the purchase price.
DISCLAIMER OF WARRANTIES. EXCEPT FOR THE EXPRESS WARRANTIES HEREUNDER. QSC DISCLAIMS ALL OTHER WARRANTIES, WHETHER EXPRESS OR IMPLIED, BY OPERATION OF LAW OR EQUITY, INCLUDING BUT NOT LIMITED TO, NON-INFRINGEMENT, TITLE, MERCHANTABILITY, OR FITNESS FOR A PARTICULAR PURPOSE. QSC MAKES NO WARRANTIES OR CLAIMS THAT: (I) ANY QSC PRODUCT WILL MEET ANY OF A CUSTOMER’S REQUIREMENTS; (II) QSC PRODUCT WILL BE ERROR FREE; AND (Ill) ANY ERRORS IN
THE QSC PRODUCT WILL BE CORRECTED. QSC FURTHER DISCLAIMS ANY REPRESENTATION THAT IT WILL BE ABLE TO REPAIR ANY QSC PRODUCT UNDER THIS LIMITED WARRANTY OR REPLACE THE QSC PRODUCT WITHOUT RISK TO OR LOSS OF INFORMATION OR DATA STORED ON THE QSC PRODUCT. NO ORAL STATEMENTS BY QSC WILL BE CONSIDERED REPRESENTATIONS OR WARRANTIES. SOME STATES AND TERRITORIES OR COUNTRIES AND PROVINCES DO NOT ALLOW LIMITATIONS ON HOW LONG AN IMPLIED WARRANTY (OR CONDITION) MAY LAST, SO THE LIMITATION DESCRIBED ABOVE MAY NOT APPLY TO YOU. LIMITATION OF LIABILITY. EXCEPT AS PROVIDED IN THIS LIMITED WARRANTY AND TO THE MAXIMUM EXTENT PERMinED BY LAW, QSC IS NOT RESPONSIBLE FOR DIRECT, INDIRECT, SPECIAL, INCIDENTAL, OR CONSEQUENTIAL DAMAGES RESULTING FROM ANY BREACH OF WARRANTY OR CONDITION, OR UNDER ANY OTHER LEGAL OR EQUITABLE THEORY, INCLUDING BUT NOT LIMITED
TO LOSS OF USE; LOSS OF REVENUE; LOSS OF ACTUAL OR ANTICIPATED PROFITS (INCLUDING LOSS OF PROFITS ON CONTRACTS); LOSS OF THE USE OF MONEY; LOSS OF ANTICIPATED SAVINGS; LOSS OF BUSINESS OPPORTUNITY OR PROSPECTIVE ECONOMIC ADVANTAGE; LOSS OF GOODWILL; LOSS OF REPUTATION; LOSS OF, DAMAGE TO, COMPROMISE OR CORRUPTION OF, ANY DATA; OR ANY INDIRECT OR CONSEQUENTIAL LOSSES OR DAMAGES HOWEVER CAUSED, INCLUDING THE REPLACEMENT OF EQUIPMENT AND PROPERTY, ANY COSTS OF RECOVERING, PROGRAMMING, OR REPRODUCING ANY PROGRAM OR DATA STORED IN OR USED WITH THE QSC PRODUCT OR ANY FAILURE TO MAINTAIN THE CONFIDENTIALITY OF INFORMATION STORED IN THE QSC PRODUCT. THE FOREGOING LIMITATIONS SHALL NOT APPLY TO DEATH OR PERSONAL INJURY CLAIMS, OR ANY STATUTORY LIABILITY FOR INTENTIONAL AND GROSS NEGLIGENT ACTS AND OR OMISSIONS.
Export Control. You may not use or otherwise export or re-export the QSC Products and associated software except as authorized by United States law and the laws of the jurisdiction(s) in which the QSC Products and associated software were obtained . In particular, but without limitation, the QSC Products and associated software may not be exported or re-exported (a) into any U.S. embargoed countries or (b) to anyone on the U.S. Treasury Department’s list of Specially Designated Nationals or the U.S. Department of Commerce Denied Person’s List or Entity List. By using the QSC Products and associated software, you represent and warrant that you are not located in any such country or on any such list. You also agree that you will not use the QSC Products and associated software for any purposes prohibited by United States law, including, without limitation, the development, design, manufacture or production of missiles, nuclear, chemical or biological weapons.
Government End Users. The QSC Products and associated software and related documentation are “Commercial Items”, as that term is defined at 48 C.F.R. §2.101, consisting of “Commercial Computer Software” and “Commercial Computer Software Documentation”, as such terms are used in 48 C.F.R. §12.212 or 48 C.F.R. §227.7202, as applicable. Consistent with 48 C.F.R. §12.212 or 48 C.F.R. §227.7202-1 through 227.7202-4, as applicable, the Commercial Computer Software and Commercial Computer Software Documentation are being licensed to any U.S. Government end users (a) only as Commercial Items and (b) with only those rights as are granted to all other end users pursuant to the terms and conditions herein. Unpublishedrights
are reserved under the copyright laws of the United States of America. For QSC warranty information in countries not listed above, contact your authorized QSC international distributor. To register your QSC Product online, visit http://qscservice.com/formsjproduct-registration/. Other questions regarding this warranty can be answered by calling ore-mailing:
Phone: Within US and Canada: 1-800-854-4079
Outside the U.S: + 1 (714) 754-6175 or by contacting your authorized QSC distributor.
Email: [email protected]
Warning To Valued Consumers. This limited warranty on QSC Products shall be VOID if the QSC Products(s) have been purchased from an unauthorized dealer I online vendor, or if the original factory serial number has been removed, defaced, or replaced in any way. Recently, QSC became aware of several instances in which serial number tampering has occurred. Unauthorized dealers I online vendors and/or their suppliers frequently alter the original serial numbers in an effort to prevent manufacturers from tracing the supplier source. QSC sells QSC Products through authorized retail and online channels to ensure that consumers obtain quality after-thesale support and service. Protect your limited warranty by purchasing QSC Products from an authorized QSC dealer or vendor. Check the unit and its packaging to determine whether the factory serial number may have been altered. If in doubt, contact QSC at+ 1 (800) 854-4079.
Buy Authorized. We recommend that you make your purchase of a new QSC Product (speaker or amplifier) from an AUTHORIZED DEALER. QSC Authorized Dealers are under agreement with QSC to provide a clearly defined, high level of service, support (before and after the sale) and product availability. QSC stands by its authorized dealer network in support of their efforts to provide you, the customer with the best possible purchase and ownership experience. Should you choose to purchase your new QSC Product from a non-authorized dealer, QSC may not be able to assist you should there be issues regarding your purchase experience.
For a list of authorized QSC dealers visit http://jjqsc.com/find-us/locatorj.
For a copy of the QSC Lim~ed Warranty, visit the QSC Audio Products website at www.qsc.com






















