DLS RCS12.D2 12 Inch Slim Subwoofer User Manual
Thank you for buying a DLS Reference RGS12.D2 subwoofer. For us, its all about the sound experience. We care deeply about sound and construction quality. In order for your experience to be as optimal as possible, it is important that you fully read this manual, preferably before you start your installation. Keep the manual in a safe and accessible place for future reference.
Your subwoofer must be installed correctly in order to work as intended. Make sure you have all necessary tools nearby before starting and that you are completely confident in how to proceed. If you feel the slightest uncertainty; feel free to take the help of an experienced installer or a car audio dealer.
Warranty
This subwoofers covered by warranty, depending on the conditions in the country where t is sold. If the product s returned for service, please include the original dated receipt with the product,
DECLARATION OF CONFORMITY
DLS subwoofers for vehicles are manufactured in accordance with the EU directive EEC 95/54 (72/245/ EEC) and are marked with the approval number. They are also marked in accordance with the WEEE-directive 2012/19/EC. The products are also produced in accordance with the EU RoHS ditective 2015/863/EU.
DLS products are engineered by DLS Sweden, apartof:
Winn Scandinavia AB
Elementvéagen 15 – SE-702 27 Orebro – Sweden
Tel: +46 19 20 67 65 –
E-mail: [email protected]
www.dis.se
Designed & Sound tuned in Sweden.
Installation
Your RCS12.D2 subwoofer has a dual 2 ohm voice coil. How to connect the subwoofer depends on what type of amplifier you use and it’s optimum load. The best way to do a correct connection is to follow the instructions given in the manual for the amplifier. Most amplifiers today have built-in low pass crossover and possibilities to connect your subwoofer in bridged mode.
When designing a subwoofer system, consider the following:
- Subwoofers being used in the same enclosure or powered by the same amplifier should be identical. Do not use different types of subwoofers that will play in the same frequency range.
- If you are designing a multiple sub- woofer system, be sure to configure the subwoofers so that they each receive the same amount of power from the amplifier.
- Do not mix serial and parallel connected woofers, voice coils or pairs. If you plan to use an odd number of subwoofers, be sure to connect all the woofers in either series or parallel connection.
- For wiring, use high class speaker wires, min AWG13 (2.5 mm?).
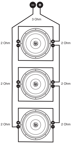
Wiring diagram
Warning! Do not expose your amplifier to loads below the manufacturer’s recommens- dations. Below you wil find some examples of different wiring schematics. Use the following examples to determine the required impedance load of your connection.
Parallel connection
One 2 Ohm subwoofer = 1 Ohm load

Parallel connection
Two 2 Ohm subwoofer = 0.5 Ohm load
Serial connection
One 2 Ohm subwoofer = 4 Ohm load
Serial connection
Three 2 Ohm subwoofer = 12 Ohm load
Serial / Parallel connection
Two 2 Ohm subwoofer = 2 Ohm load

Serial / Parallel connection
Three 2 Ohm subwoofer = 1.33 Ohm load
Serial / Parallel connection
Three 2 Ohm subwoofer = 3 Ohm load
Running-in time
Allow the subwoofer to play for at least 15-20 hours in order to perform at its absolute best. This run-in can be made with bass tone sweep or with just music. Start at a moderate volume and increase the volume step by step during the running-in period. After the 15-20 hour run in session the performance and characteristics will be in the correct condition.
DLS support
For technical assistance, ask your car audio dealer where the product was sold or the distributor in your country. You can always contact the DLS Helpdesk in Sweden at this email: [email protected]. Information can also be found on our WEB-site www.dis.se We follow a policy of continuous advancement in development. For this reason, all or part of specifications and designs may be changed without prior notice.
Enclosure info
This subwoofer is normally designed for enclosure mounting. In “open air’ installa- tions the power handiing capacity is reduced by more than 30% from the nominal value. We do not recommend using an “open air’ installation for the RCS12.D2 subwoofer.
General
Build your enclosure in a stable and airtight material. MDF-board or particle board, 19-25mm is two good choices. Larger enclosures must have bracing inside to avoid vibrations. The enclosure must be completely airtight. Use sealing compound in all joints, also around the cable terminals. The size of the enclosure is decided and calculated by the electro-acoustic parameters of the woofer.
DLS recommends that you should choose the enclosure you will use based on the type of music you listen to, how much amplifier power you will use for the subwoofer and how much space inside the vehicle you can devote to a subwoofer enclosure
Note! RCS12.D2 has a design with “open voice coil’ for improved cooling. This construction gives the best sound perfor- mance. To prevent dirt from entering the voice coil gap, follow these instructions:
- Keep the subwoofer in the plastic bag until it is time for installation.
- Carefully clean the enclosure inside with a vacuum cleaner before mounting the subwooer.
Sealed enclosures
Sealed enclosures constructions is straight forward and are easy to build. The size is not critical, but it can’t be too small. The speaker data such as Fs, Qts, Vas and X-max decides the size of the enclosure. A large subwoofer needs larger boxes. Two woofers need a box of the double size etc. The enclosure must be completely airtight.
A sealed enclosure provides the most control over the woofer’s movement, a woofer mounted in a sealed enclosure will handle more power than a woofer mounted in a vented enclosure type.
Sealed enclosures provide more accurate sonic reproduction than other enclosure types when mounted inside a vehicle, so they are well suited to all types of music. An optimum sealed enclosure is always smaller than vented enclosures optimized for a particular subwoofer, so they require the smallest amount of space inside the vehicle.
Vented enclosures
Vented enclosures are built in the same way as sealed but with a vent hole (port), normally on the front panel.
Vented enclosures provide normally a better efficiency in the 40-50 Hz range, but this efficiency comes atthe expense of sound in the lowest octave (normally below and power handiing at the lowest frequen- cies ( below the ports tuning frequency). If you are using a small amplifier a vented box will provide more perceived bass output from less power. Vented enclosures are also well suited to a variety of music types.
Vented enclosures require more of the builder and the volume and port must be built more exactly to the specifications. An optimum vented enclosure is always larger than the optimum sealed box for the same woofer and will require more space inside the vehicle.
Damping
Most enclosures should be damped inside with synthetic (acoustic) wool or damping mat (line). In a sealed box we recommend the use of damping wool and should be filled with acoustic wool up to 75%.
In a vented enclosure attach the damping material on the wall opposite from the subwoofer and port. If you require more damping it’s also possible to add sides and top/bottom. Do not place any damping material in the port or at its openings.
Recommended enclosures
The recommended enclosure ~ volume refers to the inner volume and includes the driver displacement volume.
| Type | Volume | Qtc | F3 | Fb | Port |
| Sealed | 20-33L 0.71-117cuft | 0.829-0.707 | 54Hz-51Hz | ||
| Vented | 42L 1.48cuft | 39Hz | 42Hz | D:4’/104mm L: 12.8″/ 325mm |
Note! The performance of the recom- mended enclosures will vary from vehicle to vehicle. It is more difficult to get a tight and well defined bass in a SEDAN vehicle because of the separated space between the trunk and the passenger compartmet
Enclosure placement
In smaller vehicles of different models (like a VW Golf, Peugeot 206, 306, etc. the enclosure should be installed with the subwoofer directed backwards or directed upwards. This way of mounting is valid for all types of vehicles where the trunk is incorporated with the inner compartment. In sedan vehicles where the passenger. compartment is separated from the trunk, one option is to install enclosure with the
subwoofer directed towards the rear seat.
Some cars have an opening in the middle of the rear seat for storage. You can install the enclosure behind this opening and direct speaker through this opening. Be sure you seal the sides of the enclosure with additional covering so no pressure will slip between the opening and your subwoofer and into the trunk area. The floor and sides in the trunk area can also be good alternatives for the enclosure placement. In large vehicles like station wagons the best sound is achieved with the enclosure installed behind the rear seat with subwoofer directed backwards. You can also install the enclosure on one side of the luggage compartment.
Calculate enclosure volume
When calculating the inner volume of an enclosure you just multiply the width (W) x height (H) x depth (D). Use measures in dm and you will get the answer i litres.
A trapeziod box is calculated as this:
) x Height (H) x (Upper depth(UD) + Lower dept
Specifications
- Artno CS-RCS12.D2 Electro-Acoustic
- Parameters Size: 12″/300mm Fs: 20Hz
- Impedance: 242 0hm Re: 3.8 (1.9+1.9)
- Ohm RMS power: 600W ams: 5.601
- MAX power: 1200W Qes: 0.452 87.5dB 1W/
- 1M Qts: 0.418 257/ 63.5mm Cms: 0.165mm/N
- Voice coil material: – 4-layer copper voice coil /
- TIL former Mms: 178.59
- Cone material: Sandwich Composite /
- PP dust cap BI: 21.7 Magnet: 650z
- Ferrite Vas: 67.2L
- Freq. range: 25Hz-500Hz
- Sd: 530.9cm?
- Weight: 7.1kg
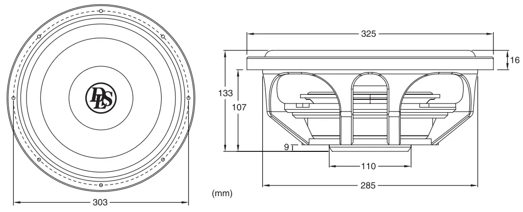
Dimensions


Product markings

The crossed-out wheelie bin symbol means that the product, literature and pac- kaging included must be taken to separate collection at the end of their working life. Do not dispose of these products as unsorted municipal waste: take them for recycling. For info on your nearest recycling point, check with your local waste authority.
This product has been granted with the CE certification mark to show that the product follows the health, safety, and environmental protection standards for products sold within the European Economic Area (EEA).

DLS products complies with the relevant provisions of the RoHS for the European Urion In common with allElectcal 1 and Electronic Equipment (EEE) the product should not be compliant | gisposed of as household waste. Alternative arrangements may apply in other jurisdictions.
DLS is a global partner of the European Mobile Media Association, an organisation that focus on promoting the europSan mavle medio assocalon custom made mobile media installations to consumers.
We follow a policy of continuous advancement in development. For this reason all or part of specifications & designs may be changed without prior notice. We reserve for possible typos, factual or numeric errors that may have been printed on any products, package designs, user manuals and/or other included accessories.


















