EATON Pow-R-Line CS SwitchBoards

Safety measures
| Symbol | Meaning |
|
| The addition of either symbol to a “Danger” or “Warning” safety label indicates that an electrical hazard exists which will result in personal injury if the instructions are not followed |
| This is the safety alert symbol. It is used to alert you to potential personal hazards. Obey all safety messages that follow this symbol to avoid possible injury and death. |
| DANGER |
| “DANGER” INDICATES AN IMMINENTLY HAZARDOUS SITUATION WHICH, IF NOT AVOIDED, WILL RESULT IN DEATH OR SERIOUS INJURY. |
| WARNING |
| “WARNING” INDICATES A POTENTIALLY HAZARDOUS SITUATION WHICH, IF NOT AVOIDED, CAN RESULT IN DEATH OR SERIOUS INJURY. |
| CAUTION |
| “CAUTION” INDICATES A POTENTIALLY HAZARDOUS SITUATION WHICH, IF NOT AVOIDED, CAN RESULT IN MINOR OR MODERATE INJURY. |
| CAUTION |
| “CAUTION”, USED WITHOUT THE SAFETY ALERT SYMBOL, INDICATES A POTENTIALLY HAZARDOUS SITUATION WHICH, IF NOT AVOIDED, CAN RESULT IN PROPERTY DAMAGE. |
Eaton Corporation’s liability for any errors or omissions in this document is limited to the documentary correction of errors. Eaton will not be responsible in any event for errors or omissions in this document or for any damages, incidental or consequential (including monetary losses), that might arise from the use of this document or the information contained in it. Information in this publication is not intended for use as a training manual for non-qualified personnel. The information or statements in this publication concerning the suitability, capacity or performance of the switchboard(s) may not cover all configurations of this custom built product. Eaton has made all reasonable efforts to ensure that the instructions in this document are adequate and free of material errors and omissions. Eaton will, if necessary, explain issues, which may not be covered by the document. The information contained in the Instruction Leaflet is subject to change without notice.
Introduction
This instruction manual is designed to supplement other industry standards including all local, provincial and federal codes and safety regulations, such as OSHA. (C22.1 Canadian Electrical Code). Operation and Maintenance of Dead- front Distribution Switchboards Rated 600 Volts and Less, other workplace, electrical installation requirements and all safety rules.
Safety
Due to the weight and size of switchboards and dangers from electrical hazards, every precaution should be tak en to maintain safe working conditions when handling this equipment. Due to the custom nature of switchboards and the site variables, every potential situation cannot be anticipated. Safety must always be the overriding factor.
Pre-installation: receiving, handling, and storage
Receiving
Upon delivery, use the packing list to confirm the number of items against what was received to ensure that the shipment is complete. Any discrepancies should be noted on the freight bill before signing. Report any shortages or damage to the freight carrier immediately. Immediately upon receipt of the switchboard, the plastic covering should be carefully removed and a thorough inspection of each section should be made to detect any damage incurred during shipment. Any damage should be noted on the bill of lading (freight bill) and the consignee receiving the equipment should notify the freight carrier. FAILURE TO NOTIFY THE FREIGHT CARRIER OF DAMAGE IN A TIMELY MANNER MAY RESULT IN THE CONSIGNEE ASSUMING THE COSTS ASSOCIATED WITH REPAIR OR REPLACEMENT OF DAMAGED EQUIPMENT.
After inspection, it is recommended that a plastic covering be used to protect the equipment from dust, dirt, moisture and damage until ready for installation. The switchboard should remain attached to its shipping skid until it has been moved into its final installation position.
Handling
WARNING: THE SWITCHBOARD IS TOP-HEAVY. USE CARE IN HANDLING.
Switchboards are top heavy. Switchboard sections may weigh over 2000 pounds. Before moving or lifting, verify that the equipment used to handle the switchboard is within safe limits of its lifting capacity. Switchboard shipping lengths will vary. Each shipping section is bolted with lag bolts to heavy wooden skids that extend beyond all sides of the switchboard. DO NOT pass cables or chains through the holes in the lifting means. Utilize cables or chain with hooks or shackles rated for the load and weight of the switchboard shipping length to be lifted. Prepare a sling and a spanner or spreader. (See Figure 4 and 5.) Eaton does not provide chain, cables, shackles, hooks, spanner or spreader. Lifting bars on long lineups may require additional spreaders to reduce any horizontal compressive force.
Utilizing lifting means
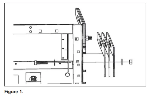
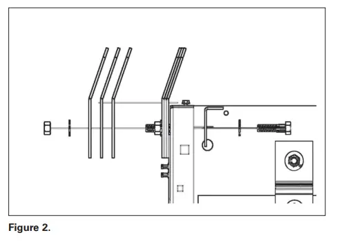
Top Lifting means are bolted to each main switchboard shipping length(See figure 1). It includes a grade 5, 3/8”-16 hex bolt 1-1/2” lg, two washers, Hex nut, internal support for each side and three lifting eyes for each corner. See Figure 2. Torque rating for the bolt is 26 ft-lbs. Lifting angle minimum 45degree. If 45degree angle can’t be achieved use normal derating factor based on reduced lift angle.



- Chains/cables must be securely attached to hooks, eyes and shackles and the spanner/spreader. Prior to lifting, check the security of the rigging assembly. Use the crane to bring the assembly taut without raising the switchboard from the floor.
- Select or adjust the rigging lengths to compensate for any unequal weight distribution of load and to maintain the switchboard in an upright position. Do not allow the angle between the lifting cables and vertical to exceed 45 degrees in order to reduce the tension
on the rigging and the compressive load on the lifting or spanner bars and spreaders. Check the security of the rigging, again. Make any adjustments necessary before moving the equipment. - Slowly lift equipment to the minimum height from the floor required to safely relocate it. Lift the equipment to approximately 2 inches above its resting place. Safely make a visual inspection of the rigging. If necessary, return the switchboard to its original resting place to make any modifications necessary to the rigging.

- Forklifts
- A forklift may be utilized for handling switchboards. Only personnel trained for that equipment should operate forklifts.
- Be sure that the ground surface is solid and follow all safety recommendations for operating the forklift. Be aware of wet or slick floors and surfaces, which can affect stopping and turning. Check labeling on the switchboard packaging material for additional information.
- Verify that the forklift load and lifting ratings are within safe limits for the weight of the switchboard being lifted.
- If lifting the switchboard from the front use caution. Damage to components, such as breakers, fusible switches and metering, can result.
- The forks or blades of the forklift must run through the entire switchboard shipping length and shall be extended to the outermost sides of the wooden shipping skids. (See Figure 6.)
- Balance the load carefully, and secure the switchboard with a safety strap, belt or leash approved for this purpose. Take care in positioning of the strap to ensure stability of the equipment and confirm that it is not in an area that will damage components.
- Slowly lift equipment to the minimum height from the floor required to safely relocate it.
- CAUTION
- THE SWITCHBOARD IS TOP-HEAVY. USE CARE IN HANDLING.

- Note: Always use caution when moving switchboards, which are top-heavy equipment.
Rollers
- Rollers should only be used on solid and flat surfaces, such as a finished floor, with little or no incline. Only use rollers suitable for this purpose. Steady the load to prevent tipping.
Storage
- Switchboards, which cannot be immediately installed and energized, should be stored in an indoor dry, clean and heated environment.
- Do not store in areas where conditions such as dampness, changes in temperature, cement dust or a corrosive atmosphere is present.
- Should the storage area be prone to moisture condensation, take precaution by making sure that the switchboard is covered and install temporary heating equipment.
- Approximately 250 watts per vertical section are required for average conditions.
- Switchboards should be placed on solid, level surfaces for storage. Switchboard sections must remain in an upright position at all times. Laying switchboard sections on their back or side can result in permanent damage to components and the switchboard structure.
Pre-installation preparation
- The permanent location of switchboards must be on a smooth, solid and level foundation. Alignment is verified in the factory prior to shipment.
- An uneven foundation can cause misalignment of sections, units, doors and other parts.
- If a housekeeping pad is utilized, check factory drawings and verify handle height rules relative to the Canadian Electrical Code (CEC) and utility meter heights where applicable.
- When embedded anchors or channel sills are used, materials and attachments must be adequate to support the structure(s). Switchboard sections must be aligned and level over the length of the installation.
- From the manufacturer’s drawings, determine the layout of the electrical distribution equipment for each location. Verify and confirm that the available equipment space and equipment location(s) is in compliance with the minimum working space clearances per the CEC.
- Refer to the manufacturer’s switchboard drawings for available conduit area in each section before installing
the finished grade flooring. (See Figure 7.) Conduits must be installed in conduit area shown to ensure compliance with CEC wire bending space requirements. - Note: Conduit areas may vary in each section of a multi-section switchboard lineup. Please refer to plant drawings. Conduits, floor and/or wall openings, such as busway or other penetrations, should be located relative to the space shown on the manufacturer’s drawings.
- Refer to the Canadian Electrical Code for installations in damp locations for additional requirements.
- Final preparation of the entire area and around the switchboard should be thoroughly cleaned of all debris.
Installation
- Use caution and appropriate equipment and practices when moving the switchboard into its final position.
CAUTION
- THE SWITCHBOARD IS TOP-HEAVY. USE CARE IN HANDLING.
- Determine the switchboard orientation with the use of the manufacturer’s drawings and markings on the switchboard sections. Switchboards may be shipped either in individual sections or in two or more sections joined by the manufacturer.
- The alignment of multi-section switchboards is designed to be front and rear-aligned or rear (only) aligned. Drawings provided by the manufacturer and located in the switchboard will show footprint details. Orientation, as shown on the drawings, must be maintained. (See Figures 7 and 8.)


Figure 8. Example of rear-aligned Switchboard
- Sections may contain factory cross bus and/or cable to connect power between switchboard structures and other components. Installers should note the location and orientation of all splice plates and/or cables as a reference for installation once sections are joined.
- If supplied, remove splice plates and associated hardware, again noting the orientation for re-installation once the switchboard is in place. If additional hardware is needed to complete these connections, extra hardware will be provided. For shipping purposes, it will typically be secured inside one of the structures. Keep bus and hardware in a clean and protected environment to guard against damage until re-installation. Protect any factory-installed cables (wire) used to connect components between sections from damage when moving switchboard sections into place.
- Use caution and appropriate equipment and practices when moving switchboard into its final position.
WARNING
- THE SWITCHBOARD IS TOP-HEAVY. USE CARE IN HANDLING.
- Exercise caution while maneuvering top-heavy switchboard sections into place. Switchboard sections must always remain in the upright position during installation. Use care when moving the switchboard so as not to damage the section, including the structural base and frame. Some switchboards house sensitive components, which can be damaged by rough handling.
- Prior to moving the switchboard sections into their permanent position, make note of all obstacles including conduit stubs. Implement a plan for safe transition and appropriate means to accommodate these obstructions. Take note of conduits entering through the bottom of the switchboard, rear of the switchboard, and at the top of the switchboard to ensure appropriate clearances from chassis, structure, cross bus, ground, neutral and components.
- Provide space for a minimum 1/2” clearance from the back of the switchboard and any wall for front accessible switchboards installed indoors. Front accessible switchboards, which are built and marked for outdoor installation, must maintain a 6-inch minimum clearance from any wall or building structure. For other required clearances, including rear-connected switchboard, refer to the Canadian Electrical Code (CEC) clearances.
- When unpacking the switchboard, exercise cares not to scratch or mar the finish. Repair all scratches with touch- up paint, which is available from Eaton. Remove shipping skids and all packaging material. Remove any temporary shipping braces or spacers. Remove lifting angles and associated hardware. Plug lifting angle holes with hole plugs supplied by the manufacturer. (See Figure 9.)

- Where two or more switchboard sections are to be joined together, they should first be aligned and all sections leveled.
- Once aligned and level, attach switchboard sections together.
Attaching switchboard sections
- The manufacturer has provided hardware with the equipment to join switchboard sections. The hardware includes 3/8” x 1 1/8” carriage bolts and 3/8” hex nuts with captive Belleville-type washer. (See Figure 10.)
- Holes are provided on the side of each switchboard section for this purpose. Three holes are located on the side of each section towards the front and back. Switchboards with deep designs, including rear-connected switchboards, may have an additional three holes for attachment on the center vertical section support. (See Figure 11.)


Figure 12. Joining switchboard sections
- Join sections utilizing the carriage bolts and hex nuts with captive Belleville-type washer through the holes provided. (See Figure 12.) While maintaining level and alignment of the structures, torque each connection to the values shown in Appendix Table 2.
- If switchboard sections are outdoor type, re-install roof cap(s). Visually inspect the roof cap to ensure a reliable, permanent watertight fit prior to energizing the switchboard.
- Once the switchboard structures are attached, visually inspect the board for foreign objects and visually inspect the structure for proper clearances of live parts.
Electrical connection of switchboard sections
- Several methods may be used to make electrical connections within switchboards. More than one of these methods may be used in a section and/or switchboard lineup.
- These include bus splice plates, factory installed cable and busway connections. Consult the manufacturer ’s drawings for details for each switchboard section.
- Remove structure deadfront covers and side sheets as needed
to access switchboard chassis and components. Retain all cover mounting hardware and covers for re-assembly. Protect hardware and parts from moisture, debris and damage. - Splice plates
- Splice plates are short pieces of bus bar that join the main bus running horizontally through multiple section switchboards. Depending on the configuration and alignment of the switchboard, the splice plates used for the main cross bus may vary. These plates may either be flat or “Z” shaped. (See Figure 13.)

- For larger amperage switchboards, multiple splice plates are to be used on the same phase. Maintain the orientation, by phase and sequence of the splice plates. The orientation of the splice plates must remain identical as they were shipped from the manufacturer. Clearances must be maintained. If unsure about the correct orientation or questions about the installation, contact Eaton before installing the splice plates.
- Splice plates are used to attach the main horizontal bus between switchboard sections or shipping splits. While maintaining the correct phase orientation and sequence, install splice plates with the carriage bolts and hex nuts with captive Bellville washers supplied by the manufacturer. Refer to Appendix Table 2 for torque values.
- Carriage bolts must align with the corresponding rectangular holes in the fixed horizontal bus and the splice plates. If multiple splice plates are used, install in the same sequence as shipped from the manufacturer. The neutral (when furnished) and ground bus should be connected in the same manner.
- Inspect splices plates and main fixed horizontal bus prior to installation. If there is any suspected damage, contact the manufacturer immediately for replacements.
- NEVER ENERGIZE ANY SWITCHBOARD WITH DAMAGED BUS OR COMPONENTS.
- To accommodate future serviceability, the manufacturer recommends that the head of the carriage bolt should be mounted from the rear of the switchboard for FRONT
- ACCESSIBLE switchboards with the hex nut with Belleville washer positioned to the front.
- For REAR ACCESSIBLE switchboards, the manufacturer recommends that the head of the carriage bolt should be mounted from the front of the switchboard with the hex nut and Belleville washer positioned to the rear.
- Repeat the process until all holes in the horizontal bus are connected with bolts and nuts for each shipping split. Inspect connections to ensure that there is no foreign material at the connection point and that all connections are properly aligned and bolts are seated.
- Torque all connections to torque requirements on labels affixed to each switchboard and as shown in Appendix Table 2.
IFS switchboard factory cabling
- Some switchboards utilize cable/wire for some connections in lieu of the bus. Cabling is typical in Integrated Facility System™ (IFS™) type switchboards that incorporate lighting and appliance branch circuit panelboards and dry-type distribution transformers within a switchboard lineup.
- Eaton’s selection of wire and cable follows CSA 22.2 NO.31 switchboard procedures and the Canadian Electrical Code standards for IFS switchboards.
- The manufacturer identifies each phase conductor by means of color-coded tape if required. Markings are affixed to both the line and load ends of the conductors.
- Markings follow the industry-accepted phase colors. (See Figure 14 and Table 1.)

Table 1. Wire label color codes
| 240 Vac systems and below nominal | |
| Phase A | Red |
| Phase B | Black |
| Phase C | Blue |
| Neutral | White |
| Ground | Green |
- Conductors installed by the manufacturer have been cut and stripped to pre-determined lengths for connection between components. When conductors are intended to run between components in two different sections that are joined by the manufacturer, the manufacturer will connect both the line and load ends of the conductors.
Note: The Canadian Electrical Code restricts the field installation of conductors that run horizontally through switchboard vertical sections. Refer to the CEC for specifics.
- When there is a shipping split between sections that are cabled, the factory connects one end of the conductor s. The remainder of the conductors are coiled and secured in the section with the connection.
- Factory drawings included in the switchboard clearly indicate the required field connections for the coiled conductors.
- Inspect conductors/cables for damage. Any damaged conductors must be replaced. Contact manufacturer for replacement.
- Factory color-coded markings indicate phasing/neutral and are marked on both the line and load ends of the conductors
- Using the factory drawings, the installer connects conductors to the component(s) indicated on the drawings keeping phases correctly oriented. Care should be taken in forming insulated cables to ensure that no insulation is forced permanently against the edges of any metal parts.
- Torque both line and load connections to values indicated on the labeling on the switchboard. Refer to Appendix Table 2 for torque values.
Installation of incoming switchboard connections
DANGER
DE-ENERGIZE SWITCHBOARD — HAZARDOUS VOLTAGE. WILL CAUSE SEVERE INJURY OR DEATH.
- DO NOT work on electrical equipment while energized. Verify power entering the equipment is de-energized at the source.
- Power is normally brought into a switchboard either by cable or by busway (busduct).
- Remove structure covers as needed to access switchboard chassis and components. Retain all cover mounting hardware and covers for re-assembly. Protect hardware and parts from moisture, debris and damage.
- Note: As a minimum, all switchboard connections are rated for use with 75°C or higher rated conductors. When wire is used with temperature ratings above 75°C, it shall be sized based on the ampacity of wire rated 75°C.
Wire/cabling
- When cable connections are used, either mechanical set screw or compression lugs are typically supplied. (See Figure 15.) See factory drawing for specific lug terminations and wire ranges. Some utilities make their own service entrance connections. In these cases, the manufacturer typically supplies lug landing provisions or a landing pad in lieu of lugs. These are designed to the specific utility’s requirements. Refer to the manufacturer’s drawings for specifics covering this connection.

- Unless a switchboard specifically restricts entry to a single means or area, cables may enter through the top, bottom, side or back of the main incoming section. These restrictions are typically required to conform to wire bending space requirements of the CEC. Consult the manufacturer ’s drawings for conduit entry data.
- Once the conductors are pulled inside the main section, the cables should be formed in the space provided. Clearly identify and segregate conductors by phase and neutral.
- Care should be taken in forming insulated cables to ensure that no insulation is forced permanently against the edges of any metal parts.
- Using appropriate tools, the installer must strip the conductor insulation sufficiently to fill the entire barrel of the connector with bare, uninstalled conductor. Conductor must be stripped without damage to the conductor strands. Bare strands should be of equal length (flush) on the end cut.
- Do not strip off more insulation than needed. Exposure of bare conductor outside lug can compromise clearances.
- The connector and conductor should be free of all foreign debris.
- Never clip cable/wire strands in order to fit within connectors. If cable/wire does not match the rating of the connector, contact the manufacturer.
- Mechanical set screw lugs are the most common. Use an antioxidant compound, if required. Insert bare conductor into lug so the bare conductor fills the full length of the lug body. Tighten lug, then torque to levels indicated on the switchboard label.
- If compression lugs are utilized and supplied with the switchboard, the lugs will be mounted on the incoming lug pad. Remove lugs from the pad. Use an antioxidant compound, if required. Use a crimping tool approved for that specific lug manufacturer and lug size. Follow instructions provided by the manufacturer of the crimp tool.
- Once the lug is affixed to the conductor, re-install the lug on the lug pad utilizing the existing hardware. Torque hardware using information provided on switchboard labeling. Refer to Appendix Table 2 for torque values.
- Other requirements for rear-connected switchboards
- On systems that require short circuit current ratings above 10,000 amperes RMS, Cable Bracing may be required to restrict cable movement. Lashing and lacing cables accomplish this.
Pre-energizing procedures and inspection
Before energizing any switchboard, perform a comprehensive inspection to make certain that the switchboard is ready to be energized. This includes the following steps:
- Verify that the switchboard is not energized.
- Visually inspect the switchboard and remove all foreign materials, such as, tools, scraps of wire and other debris from all switchboard sections.
- Remove and discard all packing materials and temporary shipping braces from the switchboard.
- Any accumulation of dust and dirt should be removed with a vacuum cleaner. Use a lint-free cloth to remove dust and dirt
on other surfaces. Never use compressed air as this may blow contaminants into electrical and/or electronic components. Never use solvents or other chemicals to clean surfaces or components. - Visually inspect all ventilation points to ensure that there is no blockage or debris. Remove all debris, if present.
- Verify all field bus and wire connections have the proper torque per instructions on the switchboard and on components.
- All factory connections are made utilizing calibrated power tools. However, vibrations do occur in transit and handling. Verify factory connections by checking at least 10% of the total factory connections for tightness. If this spot check reveals loose connections, proceed to check all factory connections. These connections include bus hardware connections, circuit breaker and switch terminals, contactors, metering and other connections, including the incoming terminals.
- Visually inspect switchboard insulators, bus bar and conductors for damage. DO NOT ENERGIZE IF DAMAGE IS FOUND. Contact Eaton.
- If fusible switch type overcurrent devices are used, verify proper fusing has been selected and installed. Eaton does not typically supply switchboards with these fuses.
Overcurrent devices
Overcurrent devices are typically shipped in either the open (OFF) or “tripped” position. Manually close, and then open these devices to ensure they are functioning properly. At the completion of this process, be sure that the over-current device is in the “OFF” or “tripped” position.
Inspect overcurrent devices for any visible damage. If damage is found, DO NOT ENERGIZE the switchboard. Contact Eaton.
Circuit breakers
Some circuit breaker types include the ability to adjust trip settings. When shipped, settings are typically at the minimum rating. There are two types of trip units included in this group. These types are adjustable thermal magnetic and electronic trip units.
Thermal magnetic trip units may have an adjustable magnetic setting. Use the engineering study recommendations, if available, to adjust to the proper setting. Low magnetic settings feeding high inrush loads, such as motors, could nuisance trip on startup. For specifics on breaker types, consult the circuit breaker instruction leaflets shipped with the switchboard.
Electronic trip units have several settings depending on the breaker ordered. Electronic trip units may include long-time (L), short-time (S), instantaneous (I) and ground fault (G) settings. These trip units are available in combinations LS, LSI, LSG, and LSIG. Check the electrical drawings, engineering study or the engineer’s recommendations for these trip unit settings. For details on each type, refer to the Eaton circuit breaker and electronic trip unit instruction leaflets shipped with the switchboard. For certain breakers with electronic trip units, a portable test kit is available from Eaton. An auxiliary power module is included in the test kit. This auxiliary power module powers the electronic trip unit when the board is de-energized and allows testing. The kit includes complete instructions and test times for testing long-time, short time/instantaneous operations and optional ground fault operation of the circuit breakers.
Overcurrent devices with ground fault protection
This switchboard may contain overcurrent devices with Ground Fault Protection (GFP). The Canadian Electrical Code may require ground fault protection for this installation. Other GFP applications may be used including multi-level ground fault protection. Refer to the switchboard drawings and electrical construction drawings for usage and placement within the switchboard. Ground fault protection may be installed integral to over-current device(s) or as a separate system. Separate systems typically are connected to a shunt tripping mechanism on an overcurrent device. Visibly inspect connections on GFP systems, neutral sensor s and ground connections. Refer to manufacturer’s instructions for details. Prior to shipment, the manufacturer has preset the ground fault protection at minimum set points. Adjust settings per engineered electrical plan drawings. If this information is not readily available, contact the design engineer or other qualified persons responsible for the specifics of the installation and system design.
Prior to testing the GFP system, remove the neutral disconnect link(s) on the switchboard to isolate the neutral of the system from the supply and ground. Confirm that the neutral connection has been run from the supply to the service equipment per the Canadian Electrical Code. GFP systems should be performance tested when first installed. Conduct tests in accordance with the approved instructions provided with the equipment. A written test report should be available for the Authority Having Jurisdiction. Refer to the Canadian Electrical Code for specific requirements or contact Eaton. For certain breakers with electronic trip units, a portable test kit is available from Eaton, at additional cost. The kit includes complete instructions and test times for testing long-time, short-time/instantaneous operations and ground fault operation of the circuit breakers. Use of testing equipment other than that supplied by Eaton can cause permanent damage to the circuit breaker trip unit and will void the warranty.
- CAUTION: DO NOT TEST A CIRCUIT BREAKER WHILE IT’S IN SERVICE AND ENERGIZED.
- CAUTION: TESTING OF A CIRCUIT BREAKER THAT RESULTS IN THE TRIPPING OF THE CIRCUIT BREAKER SHOULD BE DONE ONLY WHEN THE SWITCHBOARD IS DE-ENERGIZED.
- Field-testing of ground fault protection must follow instructions provided with each GFP device. Due to the varied types of GFP systems, testing instructions can vary from device to device. Refer to the specific testing instructions for each device. Refer to instruction leaflets that are shipped with each switchboard containing GFP or contact Eaton.
Current transformers
- Switchboards containing metering and monitoring equipment may contain current transformers (CTs) integral to the switchboard. Ensure that the load side of the CTs are connected or are shorted together with terminal block shorting means. Remove shorting means for normal CT operation with metering equipment. For additional information and instructions, refer to instruction leaflet shipped with the switchboard.
Preparing switchboard for insulation/megger testing
- CAUTION: FAILURE TO SHORT OR DISCONNECT DURING SWITCHBOARD TESTING WILL RESULT IN FAILURE OF ELECTRONIC COMPONENTS.
Devices installed with control power fusing
- Devices, which require control power fusing, can be easily damaged beyond repair if not disconnected during the testing phase.
- These devices include, but are not limited to, customer metering equipment, electronic breaker trip units, motor operators and communication equipment
- WARNING: DISCONNECT POWER AT SOURCE BEFORE REMOVING OR INSTALLING FUSES. HAZARDOUS VOLTAGE WILL CAUSE SEVERE INJURY OR DEATH.
- Prior to testing the switchboard, turn off all control power devices in the switchboard to prevent damage to components. The control power may be turned off by utilizing the control power switch or by removing the fuses. Components that use power supplies include customer metering and certain breaker accessories and these must be isolated before testing.
- CAUTION: FAILURE TO DISCONNECT CONTROL POWER DURING SWITCHBOARD TESTING WILL RESULT IN FAILURE OF ELECTRONIC COMPONENTS.
- Failure to disconnect control power during switchboard testing will result in failure of electronic components and void manufacturer’s warranty. Transient Voltage Surge Suppression (TVSS) and Surge Protective Devices (SPD)
- Prior to testing the switchboard, disconnect the line and neutral connections to all TVSS and/or SPD units in the switchboard. Keep hardware in a clean and protected environment to guard against damage until re-installation
- CAUTION: FAILURE TO DISCONNECT LINE AND NEUTRAL DURING TESTING WILL CAUSE THE TVSS AND SPD SURGE PROTECTION SYSTEM TO FAIL AND WILL VOID THE WARRANTY ON THE DEVICE.
- Failure to disconnect the line and neutral during testing will cause the TVSS and SPD surge protection system to fail and will void the warranty on the device. After testing, re-install all connections.
- Pre-energizing switchboard insulation testing Exercise extreme care to prevent the equipment from being connected to the power source while tests are being conducted.
- Prior to energizing the switchboard, perform a Megger or DC test of the switchboard’s insulation. With the neutral isolated from the ground and the switches and/or circuit breakers open, conduct electrical insulation resistance tests from phase to phase, phase
to ground, phase to neutral, and neutral to ground. Retain results for use to compare to results produced in the future. A form for recording test results is provided in the - Appendix of this document. Prior to testing, remove all control power fusing and connections to products, which will be damaged in this test. See above.
- WARNING
- TO PREVENT DAMAGE TO GROUND FAULT CONTROL CIRCUITS, METERING CIRCUITS, OR OTHER CONTROL CIRCUITS WHEN MEGGERING THE SWITCHBOARD, ISOLATE CIRCUITS FROM THE SWITCHBOARD SYSTEM BEFORE BEGINNING THE MEGGER OPERATION. BE SURE TO RECONNECT THOSE CIRCUITS AFTER MEGGER TESTS ARE COMPLETED.
NOTE: SOME GROUND FAULT CIRCUITS MAY NOT BE FUSED, THEREFORE ISOLATION OF THOSE CIRCUITS REQUIRES DISCONNECTING WIRING FROM BUS BARS. - DO NOT USE AC dielectric testing.
- WARNING: DO NOT USE AC DIELECTRIC/MEGGER TESTING.
- Test resulting in readings at or above 1 megaohm is satisfactory. If failed to comply with these procedures. Eaton is not liable for damage
Post-testing - After testing, and with the switchboard de-energized, reconnect all devices, control fusing and disconnects removed prior to testing. Re-attach Transient Voltage Surge Suppressors (TVSS) and Surge Protective Devices (SPD).
- Securing the switchboard
- Re-install all side covers, deadfront plates, doors and trim parts
on the switchboard using hardware supplied by the manufacturer. Take caution that conductors are not pinched between parts when installing the deadfront, cover plates, side sheets and filler plates. All parts should be aligned and secured when installed. Do not leave holes or gaps in the deadfront construction. Clean up any debris in and around the switchboard.
Energizing switchboard
- WARNING
- HAZARDOUS VOLTAGE WILL CAUSE SEVERE INJURY OR DEATH.
- WARNING
- ONLY THOSE PROFESSIONALS TRAINED AND QUALIFIED ON ELECTRICAL DISTRIBUTION SWITCHBOARDS SHOULD INSTALL AND/OR SERVICE THIS EQUIPMENT.
- Extreme hazards can exist when energizing electrical distribution equipment and switchboards. Take all precautions necessary to protect people and property when energizing the equipment. Short circuits and ground faults may exist as a result from inadequate installation. Short circuits and ground faults within the switchboard can cause catastrophic damage, injury and death.
- Prior to energizing the switchboard, turn OFF all over- current devices and loads internal to the switchboard plus mains in downstream equipment.
- Verify and follow the sequence of energizing circuits and loads. Verify phase sequencing on loads, such as motors, which can be damaged or destroyed by incorrect phase connections.
- If provided, use remote operators to close and energize switchboard, overcurrent devices and loads.
- Beginning with the main(s), turn ON each overcurrent device.
Maintenance
- It is essential to maintain the equipment in satisfactory condition.
- To ensure continued quality service, a systematic maintenance schedule is vital.
- Facility operation and local conditions vary to such an extent that the schedule must be prepared to suit the conditions.
- The maintenance schedule for individual devices, such as circuit breakers, meters, fusible switches, etc., should be based upon recommendations contained in the individual instruction leaflet for each device.
- Inspection and test operations should be coordinated with an overall testing program to result in the least operating inconvenience and system shutdowns.
DANGER
- HAZARDOUS VOLTAGE WILL CAUSE SEVERE INJURY OR DEATH. DE-ENERGIZE SWITCHBOARD PRIOR TO SERVICING.
WARNING
- ONLY THOSE PROFESSIONALS TRAINED AND QUALIFIED ON ELECTRICAL DISTRIBUTION SWITCHBOARDS SHOULD INSTALL AND/OR SERVICE THIS EQUIPMENT.
- Prior to performing any maintenance on the switchboard, first de-energize the switchboard at the source. Use lock-out/tag-out precautions as prescribed in CEC and other safety manuals.
- The switchboard should be given a thorough maintenance check annually.
- Exercise extreme care to prevent the equipment from being connected to the power source while tests are being conducted.
Switchboard insulation resistance testing
- Maintenance before cleaning
- Prior to cleaning, perform an initial Megger or DC test of the switchboard insulation, between phases and ground. Inspect for symptoms which may indicate overheating or weakened insulation. Record test readings.
- Prior to testing, remove all control power fusing and connections to products, which will be damaged in this test. This includes all components with control wire fusing, Transient Voltage Surge Suppression, Surge Protective Devices, metering equipment, etc.
WARNING
- TO PREVENT DAMAGE TO GROUND FAULT CONTROL CIRCUITS, METERING CIRCUITS, TRANSIENT VOLTAGE SURGE PROTECTION (TVSS) OR OTHER CONTROL CIRCUITS, WHEN MEGGERING SWITCHBOARD, ISOLATE CIRCUITS FROM SWITCHBOARD SYSTEM BEFORE BEGINNING THE MEGGER OPERATION. BE SURETO RECONNECTTHOSE CIRCUITS AFTER MEGGER TESTS ARE COMPLETED.
NOTE: SOME GROUND FAULT CIRCUITS MAY NOT BE FUSED, THEREFORE ISOLATION OF THOSE CIRCUITS REQUIRES DISCONNECTING WIRING FROM BUS BARS. - DO NOT USE AC dielectric testing.
WARNING
- DO NOT USE ALTERNATING CURRENT (AC) DIELECTRIC/ MEGGER TESTING. DAMAGE TO COMPONENTS WILL OCCUR.
Cleaning
- While the switchboard is de-energized, remove dust and debris from bus bars, connections, supports and enclosure surfaces. A vacuum cleaner with a long nozzle will be of assistance. Wipe clean with a lint-free cloth. Do not use solvents to clean equipment as damage to surfaces can occur.
Should the switchboard be exposed to adverse conditions, such as, airborne contaminants, more frequent inspections and cleaning may be required.
WARNING
- DO NOT USE COMPRESSED AIR TO CLEAN OR BLOW OUT DEBRIS OR DUST IN SWITCHBOARDS.
- Use of compressed air to clean or blow out debris in switchboards may imbed the contaminants within overcurrent devices, metering equipment and other components. Damage to insulation and other surface materials can occur. Do Not Use Compressed Air in cleaning.
- Switchboard insulation resistance testing
- Maintenance after cleaning
- After cleaning, perform a second Megger or DC test of the switchboard insulation between phases and ground.
- Prior to testing, remove all control power fusing and connections to products, which will be damaged in this test. This includes all components with control wire fusing, Transient Voltage Surge Suppression, Surge Protective Devices, metering equipment, etc.
WARNING
- TO PREVENT DAMAGE TO GROUND FAULT CONTROL CIRCUITS, METERING CIRCUITS, TRANSIENT VOLTAGE SURGE PROTECTION (TVSS) OR OTHER CONTROL CIRCUITS, WHEN MEGGERING SWITCHBOARD, ISOLATE CIRCUITS FROM SWITCHBOARD SYSTEM BEFORE BEGINNING THE MEGGER OPERATION. BE SURETO RECONNECTTHOSE CIRCUITS AFTER MEGGER TESTS ARE COMPLETED.
- NOTE: SOME GROUND FAULT CIRCUITS MAY NOT BE FUSED, THEREFORE ISOLATION OF THOSE CIRCUITS REQUIRES DISCONNECTING WIRING FROM BUS BARS.
- DO NOT USE AC dielectric testing.
WARNING
- DO NOT USE ALTERNATING CURRENT (AC) DIELECTRIC/ MEGGER TESTING. DAMAGE TO COMPONENTS WILL OCCUR.Test resulting in readings at or above 1 megaohm is satisfactory.
- Compare these test readings with prior readings and retain with previous testing for future comparisons. Trends of lowered insulation resistance are signs of potential problems. A form is provided in the Appendix to record readings.
Bus and cable connections
- Inspect bus bar and cables for visible damage.
- Visually inspect connections for overheating and damage.
- All bus bar and cable connections should be checked and torqued in accordance with labeling on the switchboard. Refer to Appendix Table 2 for torque values.
- Inspect for broken wire strands and pinched or damaged insulation on cable connections.
Insulation
- All bus bar and structure insulation in the switchboard including bus supports, bus shields, bus bracing, insulating barriers, etc., should be visually checked for damage.
- Replace damaged parts. The life of insulation material is dependent on keeping the material dry and clean.
Overcurrent devices
- Maintenance instructions and field-testing for overcurrent devices are included with the instruction leaflet for each device within a family. Refer to the leaflet on each device. If leaflets are missing, contact Eaton for replacement.
Circuit breakers
- Visually inspect circuit breakers for signs of discoloration, cracking, scorching, overheating or broken parts. Exercise the breaker operating mechanism making sure it is opening and closing. A breaker showing signs of any one of these issues should be replaced.
Fusible overcurrent devices
- Visually inspect the switching mechanism and fuse connections. Visually inspect the fusible devices for signs of discoloration, cracking, scorching, overheating or broken parts. Replace any worn parts or the entire switch.
Fuse replacement
DANGER
- HAZARDOUS VOLTAGE WILL CAUSE SEVERE INJURY OR DEATH. DE-ENERGIZE BOARD PRIOR TO SERVICING FUSIBLE DEVICES.
- Be sure the switch mechanism is turned to the OFF position before attempting to remove fuses. Visually inspect the switch contacts, blades and mechanism to ensure that the mechanism is in the open/off position.
- Check fuses to ensure that they are of the proper class, ampere, voltage and interrupting rating. Ensure that non-current limiting fuses are not used as replacements for current limiting fuses. Never attempt to defeat rejection mechanisms which are provided to prevent the installation of the incorrect class of fuse.
Meters, controllers, surge equipment, and other devices
- Individual devices should be maintained according to the specific instructions supplied for each device. Remove dust and dirt from exterior with a dry lint-free cloth. Unless specifically instructed in the individual device instruction leaflet, do not attempt to open sealed cases or containers.
WARNING
- NEVER USE COMPRESSED AIR TO CLEAN OR BLOW OUT DEBRIS OR DUST IN SWITCHBOARDS.
Secondary wiring
- Check all wiring connections for tightness, including those at the current and potential transformers, if present, and at all terminal blocks. Check all secondary wiring connections to ensure they are properly connected to the switchboard ground bus, where indicated. Look for broken wire strands and pinched or damaged insulation.
- Ventilation
- Check all grills and ventilation ports for obstructions and accumulations of dirt. Clean ventilation ports, if necessary. For switchboards installed outdoors, inspect the air space under the switchboard to be sure that it is clean and clear of debris, leaves and obstructions.
Records
- It is essential to maintain the equipment in satisfactory condition.
- Maintain a permanent record of all maintenance acti vities and testing for future reference. (See Appendix B.)
- The condition of each switchboard should be recorded as a guide for anticipating the need for any replacement parts or components or special attention at the next regular maintenance period. It is recommended that a series of inspections be made at quarterly intervals until the progressive effects of local conditions can be analyzed to determine a regular schedule.
Switchboard events and service interruptions
- Short-circuits, ground faults, and overloads
WARNING
- DO NOT ATTEMPT TO RE-ENERGIZE SWITCHBOARD OVER- CURRENT DEVICES AFTER ELECTRICAL EVENTS, SUCH AS SHORT CIRCUITS, GROUND FAULTS AND OVERLOADS, UNTIL THE CAUSE OF THE EVENT HAS BEEN IDENTIFIED AND CORRECTED.
- A thorough assessment, identification and correction of the event origin must be completed. An additional assessment of the conductor insulation and other insulating materials should be made. Replace all damaged insulation materials, conductors and overcurrent devices. Original switchboard parts, insulators, insulation material and overcurrent devices must be replaced with renewal parts from Eaton. (See Renewal Parts page 20).
- Do not attempt to re-energize switchboard overcurrent com- ponents after electrical events, such as short circuits, ground faults and overloads, until the cause of the event has been identified and corrected.
- After the event has been rectified, test equipment per the maintenance process described in this publication.
Physical damage
- Any physical damage to the switchboard that occurs after the switchboard is installed must be corrected. A thorough inspection, which includes the exterior enclosure and dead-front, plus interior components in the damaged portion of the switchboard, should be conducted. Replace all damaged parts and components. Ensure that there are no gaps in the switchboard enclosure that could cause exposure to live parts. Contact Eaton for renewal parts and assistance.
- After the physical damage has been corrected, test equipment per the maintenance process described in this publication.
Water damage
DANGER
- WET SWITCHBOARDS PRESENT A HAZARDOUS CONDITION AND MAY CAUSE INJURY OR DEATH. DE-ENERGIZE POWER TO ALL EQUIPMENT BEFORE SERVICING.
- DO NOT WORK ON SURFACES OR FLOORS WHERE THERE IS STANDING WATER.
DANGER
- DO NOT WORK ON SWITCHBOARDS OR ENTER AREAS THAT HAVE STANDING WATER. DE-ENERGIZE ALL EQUIPMENT IN AREAS WITH STANDING WATER.
- DO NOT WORK ON WET ENERGIZED ELECTRICAL EQUIPMENT.
Major accumulation of water or moisture on any part of the switchboard can cause catastrophic damage to the switchboard. If a switchboard has been submerged by more than 2 inches or where running or standing water has had contact with current carrying parts, it has sustained significant damage.
WARNING
- SWITCHBOARD COMPONENTS, INCLUDING CIRCUIT BREAKERS, FUSIBLE SWITCHES, METERING, ETC., SUBJECTED TO WATER OR MOISTURE MAY BE RENDERED UNSAFE. REPLACEMENT IS REQUIRED.
- The switchboard and its components may be damaged beyond repair and may need replacement.
- Do not attempt to clean or repair water damaged equipment or components.
- De-energize the switchboard at its source.
- Do not energize.
- Contact Eaton for replacement.
- Minor accumulations of moisture, such as condensation, over a short period of time may be corrected using heat.
- De-energize switchboard
- Apply approximately 250 watts per vertical section for a sufficient period of time until the moisture disappears, then remove all heat sources and materials used for drying.
- Inspect for damage to components and any corrosion. If any damage or corrosion is present, contact Eaton. DO NOT RE-ENERGIZE THE SWITCHBOARD.
- After the switchboard has completely dried, remove all materials and tools from the equipment. Inspect all connections for damage and torque. Re-install all covers, fillers, deadfront assemblies and side sheets. Conduct switchboard insulation resistance testing described in this publication.
Renewal parts
- Switchboards can be complex assemblies with unique parts to fit the specific application and need. The manufacturer offers expertise with renewal part identification. To ensure safety and to maintain CSA certification, it is essential that only new parts and components from Eaton be utilized.
- When ordering renewal parts or when requesting information on the switchboard, it is essential to include as much information as possible.
- Each switchboard will have a nameplate and other identification marks with details that will help expedite information requests and orders. The following may be required to help identify parts and information requests.
- GO or General Order Number
- Item number
- Description of the equipment
- Supply voltage
- Equipment ratings
- Catalog number or style number of part, if available
- Electrical distribution equipment has a limited life span. As such, the manufacturer cannot guarantee the availability of obsolete equipment or parts. Equipment replacement may be recommended.
Appendices
Appendix A
Table 2. Torque values for copper or aluminum busbar connections
| Bolt size | Torque Inch Lbs | Torque Foot Lbs |
| #10 | 30 Inch Lbs. | 2.5 Foot Lbs. |
| 1/4″ | 65 Inch Lbs. | 5.4 Foot Lbs. |
| 5/16″ | 130 Inch Lbs. | 10.8 Foot Lbs. |
| 3/8″ | 240 Inch Lbs. | 20.0 Foot Lbs. |
| 1/2″ | 600 Inch Lbs. | 50.0 Foot Lbs. |
Note: For other torque values, refer to instruction leaflet for the specific component.
Note: *Some applications use (2) Belleville wahsers per bolt. Convex side up. In these cases bolts should be torqued to 70 foot/ pounds.
Appendix B
Switchboard maintenance, testing, and inspection logs Refer to the “Maintenance” section of this document on page 13 for detailed information.
- DANGER: HAZARDOUS VOLTAGE WILL CAUSE SEVERE INJURY OR DEATH. DE-ENERGIZE BOARD PRIOR TO SERVICING FUSIBLE DEVICES ONLY “QUALIFIED PERSONS” SHOULD INSTALL AND OR SERVICE THIS EQUIPMENT.
- WARNING: TO PREVENT DAMAGE TO GROUND FAULT CONTROL CIRCUITS, METERING CIRCUITS, TRANSIENT VOLTAGE SURGE PROTECTION (TVSS) OR OTHER CONTROL CIRCUITS, WHEN MEGGERING SWITCHBOARD, ISOLATE CIRCUITS FROM SWITCHBOARD SYSTEM BEFORE BEGINNING THE MEGGER OPERATION. BE SURE TO RECONNECT THOSE CIRCUITS AFTER MEGGER TESTS ARE COMPLETED.
NOTE: SOME GROUND FAULT CIRCUITS MAY NOT BE FUSED, THEREFORE ISOLATION OF THOSE CIRCUITS REQUIRES DISCONNECTING WIRING FROM BUS BARS. - WARNING: DO NOT USE ALTERNATING CURRENT (AC) DIELECTRIC/ MEGGER TESTING. DAMAGE TO COMPONENTS WILL OCCUR.
Table 3. Initial insulation resistance test record
| Date | All overcurrent devices open | ||||||
| Phase to Phase Connections | Phase-to-ground connections | Neutral-ground connection | |||||
| A-B | A-C | B-C | A—Ground | B—Ground | C—Ground | ||
| Date | All overcurrent devices closed | ||||||
| Phase-to-phase connections | Phase-to-ground connections | Neutral-ground connection | |||||
| A-B | A-C | B-C | A—Ground | B—Ground | C—Ground | ||
| Notes: | |||||||
| Date | All overcurrent devices open | ||||||
| Phase-to-phase connections | Phase-to-ground connections | Neutral-ground connection | |||||
| A-B | A-C | B-C | A—Ground | B—Ground | C—Ground | ||
| Date | All overcurrent devices closed | ||||||
| Phase-to-phase connections | Phase-to-ground connections | Neutral-ground connection | |||||
| A-B | A-C | B-C | A—Ground | B—Ground | C—Ground | ||
| Notes: | |||||||
| Date | All overcurrent devices open | ||||||
| Phase-to-phase connections | Phase-to-ground connections | Neutral-ground connection | |||||
| A-B | A-C | B-C | A—Ground | B—Ground | C—Ground | ||
| Date | All overcurrent devices closed | ||||||
| Phase-to-phase connections | Phase-to-ground connections | Neutral-ground connection | |||||
| A-B | A-C | B-C | A—Ground | B—Ground | C—Ground | ||
| Notes: | |||||||
| Date | All overcurrent devices open | ||||||
| Phase-to-phase connections | Phase-to-ground connections | Neutral-ground connection | |||||
| A-B | A-C | B-C | A—Ground | B—Ground | C—Ground | ||
| Date | All overcurrent devices closed | ||||||
| Phase-to-phase connections | Phase-to-ground connections | Neutral-ground connection | |||||
| A-B | A-C | B-C | A—Ground | B—Ground | C—Ground | ||
| Notes: | |||||||
Table 4. Switchboard inspection log
| Date | Checklist | ✓ Notes and actions taken |
| Cleaning | ||
| Bus and cable connections | ||
| Insulation inspection | ||
| Overcurrent device inspection | ||
| Meters | ||
| Controllers | ||
| Surge protective devices | ||
| Other protective devices | ||
| Secondary/control wiring | ||
| Clean ventilation | ||
| Date | Checklist | ✓ Notes and actions taken |
| Cleaning | ||
| Bus and cable connections | ||
| Insulation inspection | ||
| Overcurrent device inspection | ||
| Meters | ||
| Controllers | ||
| Surge protective devices | ||
| Other protective devices | ||
| Secondary/control wiring | ||
| Clean ventilation | ||
| Date | Checklist | ✓ Notes and actions taken |
| Cleaning | ||
| Bus and cable connections | ||
| Insulation inspection | ||
| Overcurrent device inspection | ||
| Meters | ||
| Controllers | ||
| Surge protective devices | ||
| Other protective devices | ||
| Secondary/control wiring | ||
| Clean ventilation |
NOTE: Refer to the “Maintenance” section on page 16.
- Eaton
- 5050 Mainway
- Burlington, Ontario
- L7L 5Z1
- Canada
- EatonCanada.ca
- © 2021 Eaton
- All Rights Reserved
- Printed in Canada
- Publication No. IB015002EN
- November 2021
- Eaton is a registered trademark.
- All other trademarks are property of their respective owners.





























