EATON IL0131095EN Cassette Cell Switch Instruction Manual
Cassette cell switch – RF
WARNING
- ONLY QUALIFIED ELECTRICAL PERSONNEL SHOULD BE PERMITTED TO WORK ON THE EQUIPMENT.
- ALWAYS DE-ENERGIZE PRIMARY AND SECONDARY CIRCUITS IF A CIRCUIT BREAKER CANNOT BE REMOVED TO A SAFE WORK LOCATION.
- DRAWOUT CIRCUIT BREAKERS SHOULD BE LEVERED (RACKED) OUT TO THE DISCONNECT POSITION.
- ALL CIRCUIT BREAKERS SHOULD BE SWITCHED TO THE OFF POSITION AND MECHANISM SPRINGS DISCHARGED. FAILURE TO FOLLOW THESE STEPS FOR ALL PROCEDURES DESCRIBED IN THIS INSTRUCTION LEAFLET COULD RESULT IN DEATH, BODILY INJURY, OR PROPERTY DAMAGE.
WARNING
THE INSTRUCTIONS CONTAINED IN THIS IL AND ON PRODUCT LABELS HAVE TO BE FOLLOWED. OBSERVE THE FIVE SAFETY RULES:
- DISCONNECTING;
- ENSURE THAT DEVICES CANNOT BE ACCIDENTALLY RESTARTED;
- VERIFY ISOLATION FROM THE SUPPLY;
- EARTHING AND SHORT-CIRCUITING; AND
- COVERING OR PROVIDING BARRIERS TO ADJACENT LIVE PARTS. DISCONNECT THE EQUIPMENT FROM THE SUPPLY. USE ONLY AUTHORIZED SPARE PARTS IN THE REPAIR OF THE EQUIPMENT. THE SPECIFIED MAINTENANCE INTERVALS AS WELL AS THE INSTRUCTIONS FOR REPAIR AND EXCHANGE MUST BE STRICTLY ADHERED TO PREVENT INJURY TO PERSONNEL AND DAMAGE TO THE SWITCHBOARD.
Section 1: General Information
The cassette cell switch is a compartment position switch for drawout circuit breakers that provides remote indication of breaker position (disconnect, test, connect). The cassette mounted switch assembly consists of 3 FORM C switches, which are operated by a common actuator. The diagrams (Figures 2 and 3) illustrate the switch contact positions when the breaker is in a specific position within the cassette. As the breaker is levered in or out from one position to another the appropriate switch changes state as a result of contact with the breaker mounted actuator.
Kit Parts Identification
Refer to Figure 1 for visual identification of the parts listed below:
(A) Cell switch assembly (1) (B) 12 mm self-threading TORX head type mounting screws (3) (not shown)

Figure 1. Contents of Kit.

Figure 2.Circuit Breaker Position and Contacts.

Figure 3. Cell Switch Diagrams.
Section 2: Cell Switch Actuator Orientation
The cell switch assembly is mounted to the inside of the cassette side sheet on either the left or right side. The kit comes preassembled for installation to the left side of the cassette. If mounting to the right side sheet is preferred the actuator can be changed as follows.
Step 1: Remove the two M3 screw and the actuator from the assembly.

Figure 4. Step 1.
Step 2: Move the actuator to the opposite side of the assembly and ensure that the arrow molded on the actuator is pointing to the shorter side of the cases, this is the front. Reinstall the screw closest to the arrow first, followed by the one at the end of the lever. Fully seat the screws. Do not over tighten.
Figure 5. Step 2
Step 3: Slowly slide the actuator through its full range to ensure free motion and that it returns fully.
Step 4: Move the cell switch wires from the wire retention slot on the left side of the terminal bracket over to the slot on the right side. This helps keep the wires tight against the cassette side sheet

Figure 6. Step 4
Section 3: Installation of Cassette Cell Switch
Proceed with the following 5 steps.
Note: The circuit breaker must be removed from its cassette prior to starting the installation process.
Step 1: The cell switch assembly (A) is mounted on the inside of the cassette’s side sheet. Three screws are used to mount the assembly and they are supplied with the cell switch kit.

Figure 7.Steps 1 Through 3.
Step 2: Position the cell switch assembly (A) on the inside of the cassette’s side sheet so the three mounting holes match up with the switch assembly mounting holes. Confirm the arrow at the top of the cell switch cases are pointing up and the arrow on the actuator is pointing toward the front of the cassette.
Step 3: Insert the 12 mm TORX head type mounting screw (E) supplied with the kit into the top mounting hole first. Next insert the remaining 12 mm TORX head type mounting screws. Hand tighten to a maximum torque of 25 in.- lbs. (2.8 Nm). Move the actuator front to back to ensure that the slider is free.
Step 4: The terminal block mounting bracket is mounted on the cassette DIN rail next to the secondary terminal blocks assembled to the arc hood (see Figure 7). This is accomplished by engaging the bottom hook of the bracket onto the lower portion of the DIN rail and then rotating the top portion of the bracket toward the arc hood until it snaps on (see Figures 8, 9, and 10).
Ensure the cell switch wiring is routed through the bracket cutout to keep it against the cassette side sheet and out of the path of the breaker. It may be necessary to form the wires to keep them in this position.
Figure 8. Step 4.
Figure 9. Step 4.

Figure 10. Step 4.
Step 5: The circuit breaker can now be put back into the cassette. Lever the breaker into and out of its three positions to ensure that cell switch assembly is operating smoothly.
Note: Keep in mind that the indicator on the front of the circuit breaker must indicate that the breaker is in the DISCONNECT position to permit insertion of the breaker into its cassette.
Wiring to the cell switch terminal block must be kept clear of the arc hood vents.
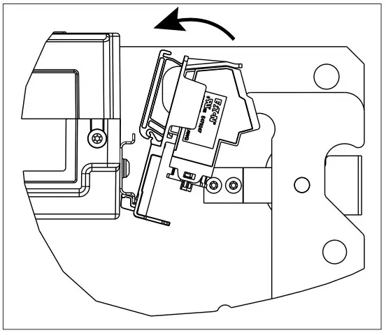
Section 4: Removal of Cassette Cell Switch
Remove the circuit breaker from its cassette and perform Steps 1 through 5 in reverse.
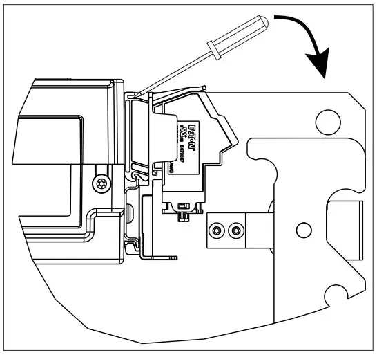
A small tool can be used to aid in removal of the terminal block bracket from the DIN rail. Insert a flat blade screwdriver into the feature at the top of the terminal bracket and lightly pry down to disconnect the bracket (Figure 11). Then rotate the top portion away from the DIN rail and slide it down to disengage the lower bracket hook.

Figure 11. Remoning the Cassette Cell Switch.
IMPORTANT
Recommended maximum electrical ratings @ 250 Vac:
- ENEC 10 (3), 10 A resistive load, 3 A motor load;
- UL/CSA, 0.25 HP 125/250 Vac, 10.1 A 125/250 Vac.
Section 5: Recommended Wiring

Figure 12. Recommended Wiring.
Table 1. Secondary Terminal Points.
| Wire Label | Description | Wire Color |
| D1 | Disconnect NO | Red |
| D2 | Disconnect COM | Black |
| D3 | Disconnect NC | Blue |
| T1 | Test NO | Red |
| T2 | Test COM | Black |
| T3 | Test NC | Blue |
| C1 | Connect NO | Red |
| C2 | Connect COM | Black |
| C3 | Connect NC | Blue |
Disclaimer of warranties and limitation of liability
The information, recommendations, descriptions, and safety notations in this document are based on Eaton Corporation’s (“Eaton”) experience and judgment, and may not cover all contingencies. If further information is required, an Eaton sales office should be consulted.
Sale of the product shown in this literature is subject to the terms and conditions outlined in appropriate Eaton selling policies or other contractual agreement between Eaton and the purchaser.
THERE ARE NO UNDERSTANDINGS, AGREEMENTS, WARRANTIES, EXPRESSED OR IMPLIED, INCLUDING WARRANTIES OF FITNESS FOR A PARTICULAR PURPOSE OR MERCHANTABILITY, OTHER THAN THOSE SPECIFICALLY SET OUT IN ANY EXISTING CONTRACT BETWEEN THE PARTIES. ANY SUCH CONTRACT STATES THE ENTIRE OBLIGATION OF EATON. THE CONTENTS OF THIS DOCUMENT SHALL NOT BECOME PART OF OR MODIFY ANY CONTRACT BETWEEN THE PARTIES.
In no event will Eaton be responsible to the purchaser or user in contract, in tort (including negligence), strict liability, or otherwise for any special, indirect, incidental, or consequential damage or loss whatsoever, including but not limited to damage or loss of use of equipment, plant or power system, cost of capital, loss of power,additional expenses in the use of existing power facilities, or claims against the purchaser or user by its customers resulting from the use of the information, recommendations, and descriptions contained herein.
The information contained in this manual is subject to change without notice.
Eaton
Electrical Sector
1000 Eaton Boulevard
Cleveland, OH 44122
United States
877-ETN-CARE (877-386-2273)
Eaton.com
© 2019 Eaton
All Rights Reserved
Printed in USA
Publication No. IL0131095EN / LNT08
Part Number: IL0131096H03
January 2019


















