
REPLACEMENT PARTS MANUAL
WALL-MOUNTED
PACKAGED AIR CONDITIONER
Models:
| W30AB-A W30AB-B W30AB-C W30AB-D W30AB-F W36AB-A W36AB-B W36AB-C W36AB-D | W36AB-E W36AB-F W30ABDA W30ABDB W30ABDC W36ABDA W36ABDB W36ABDC |
General Notes
- Revised and/or additional pages may be issued from time to time.
- A complete and current manual consists of pages shown in the following contents section.
Important
- Contact the installing and/or local Bard distributor for all parts requirements. Make sure you have the complete model and serial number available from the unit rating plates.
Bard Manufacturing Company, Inc.
Bryan, Ohio 43506
www.bardhvac.com
Manual: 2110-1449D
Supersedes: 2110-1449C
Date: 4-14-20
Contents hide
CABINET COMPONENTS

SEXP-907
CABINET COMPONENTS – STANDARD & DEHUMIDIFICATION

FUNCTIONAL COMPONENTS

FUNCTIONAL COMPONENTS – STANDARD

NS – Not Shown
- Used with stainless steel cabinet option
- Optional on these models
FUNCTIONAL COMPONENTS – DEHUMIDIFICATION

NS – Not Shown
- Used with stainless steel cabinet option
- Optional on these models
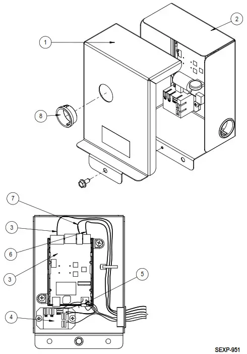
EEV CONTROLLER ASSEMBLY


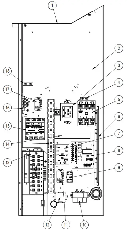
CONTROL PANEL
CONTROL PANEL – STANDARD

NS = Not Shown
- Circuit breakers listed are for units without electric heat, “0Z” models. See heater replacement parts manual for units with electric heat.
SEXP-908
CONTROL PANEL – DEHUMIDIFICATION

NS = Not Shown
- Circuit breakers listed are for units without electric heat, “0Z” models. See heater replacement parts manual for units with electric heat.
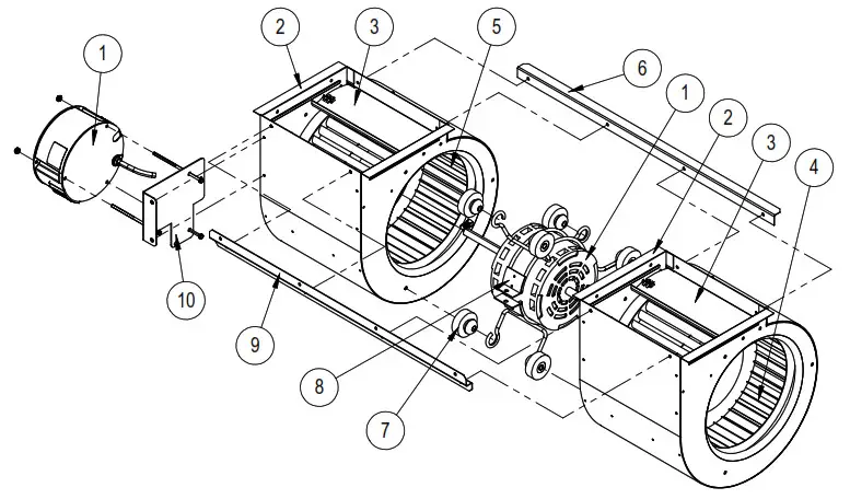
BLOWER ASSEMBLY


CONTROL PANEL – STANDARD

















