20903_ins_duct_avg_passive
Averaging Duct Sensors
BA/#-A
Installation & Operations
Overview and Identification
The Averaging Duct Sensor measures stratified air to give the average temperature along the length of the sensor. The probe is made of flexible aluminum and is available in multiple thermistors or RTD options and multiple enclosure styles. RTDs have continuous wire strands that measure an average temperature along their entire length. Averaging probes with an RTD will measure an average temperature along their entire length without gaps between the sensing elements. Thermistors are multi-point discrete sensing elements. Averaging units with thermistors will have 4 or 9 individual thermistors spread evenly throughout the tube. Coils less than 24’ (7.3m) have 4 sensors, and coils 24’ and greater have 9 sensors (see Fig 10).
Fig. 1: Duct Unit with No Box (NB)

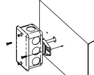
Fig 2: Duct Unit with J-Box (Standard)
Fig. 3: Weatherproof (WP) Duct Unit
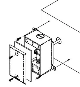
Fig. 4: BAPI-Box (BB) Duct Unit
Fig. 5: BAPI-Box 2 (BB2) Duct
Fig. 6: BAPI-Box 4 (BB4) Duct Unit A Pierceable Knockout Plug is available for the open port in the BB4. (BA/PKP-100)
Fig. 7: Flexible Probe Bracket for mounting averaging sensors (Part #: BA/FPB)
Mounting
- Place the sensor in the middle or top of the duct as shown in Figs 8 & 9 and drill the probe and mounting holes as depicted for the enclosure being used.
- Insert the probe by unrolling it into the duct carefully to avoid kinking. Serpentine the probe at least twice across the stratified air in the duct to achieve the best average temperature reading. At the probe reversing points, a BAPI Flexible Probe Bracket (Fig 7) can be used to support the sensor, avoid kinking and provide isolation from the duct wall.
- Mount the enclosure to the duct using BAPI recommended 5/16” self-tapping, self-drilling sheet metal screws through a minimum of two opposing mounting tabs. A 1/8” pilot screw hole in the duct makes mounting easier through the mounting
tabs. Use the enclosure tabs to mark the pilot hole locations. Weatherproof (WP) enclosures require assembly of the mounting tabs on opposite corners. - Snug up the sensors so that the foam backing is depressed to prevent air leakage but do not over-tighten or strip the duct wall.
Note 1: Be sure not to drill into the weatherproof enclosures (BB, BB2, WP) which will violate the NEMA and/or the IP rating.
Note 2: Be sure to seal your conduit entries to maintain the appropriate NEMA or IP rating for your application if required.
THERMISTOR SENSOR ELEMENT LOCATIONS IN AVERAGING PROBES
8’ (2.4m) – First element located about 8” (200mm) from the tip. Spacing between thermistors is 27-1/2” (700mm).
12’ (3.7m) – First element located about 8” (200mm) from the tip. Spacing between thermistors is 42-1/2” (1080mm).
24’ (7.3m) – First element located about 15-3/4” (400mm) from the tip. Spacing between thermistors is 31-1/2” (800mm).
50’ (15.2m) – First element located about 15-3/4” (400mm) from the tip. Spacing between thermistors is 70-3/4” (1800mm).
Fig. 8: Flexible Sensor Horizontal Mount (Best for Vertical Stratification)
Fig. 9: Flexible Sensor Vertical Mount (Best for Horizontal Stratification)
Fig. 10: Thermistor Sensor Element Location in Probes
Fig. 11: Junction Box or No Box (NB) Mounting Holes and installation
Fig. 12: BAPI-Box 2 (BB2) Mounting Holes and installation.

Fig. 13: BAPI-Box (BB) Enclosure Mounting and installation Holes (Rotate 90° for Horizontal Mounting)

Fig. 14: Weatherproof Box (WP) Mounting Holes and Installation

Fig. 15: BAPI-Box 4 (BB4) Enclosure Mounting Holes and Installation

Wiring & Termination
BAPI recommends using twisted pair of at least 16 to 22AWG stranded wire and sealant-filled connectors for all wire connections. A larger gauge wire may be required for long runs. All wiring must comply with the National Electric Code (NEC) and local codes. Do NOT run this device’s wiring in the same conduit as high or low-voltage AC power wiring. BAPI’s tests show that inaccurate signal levels are possible when AC power wiring is present in the same conduit as the sensor wires.
Fig. 16: 2 Wire Termination for Thermistor or RTD
Fig. 17: 3 Wire Termination for RTD
Fig. 18: Terminal Strip (-TS) Option for 2 Wire Sensors Termination
Fig. 19: Terminal Strip (-TS) Option for 3 Wire Sensors Termination
Fig. 20: Test & Balance (-TB) Option for 2 Wire Sensors Termination
Fig. 21: Test & Balance (-TB) Option for 3 Wire Sensors Termination
Diagnostics
Problems: The controller reports higher or lower than the actual temperature.
Possible Solutions:
– Confirm the input is set up correctly in the front-end software.
– Check to wire for proper termination & continuity (shorted or open wires).
– Measure the temperature at the temperature sensor’s location using an accurate temperature standard. Disconnect the temperature sensor wires and measure the temperature sensor’s resistance with an ohmmeter. Compare the temperature sensor’s resistance to the appropriate temperature sensor table on the BAPI website. If the measured resistance varies from the table by more than 5%, call BAPI technical support. BAPI’s website is found at www.bapihvac.com; click on the “Resources” then “BAPI Sensors Overview” and then click on the type of sensor you have.
Specifications
Sensor: Passive
Thermistor ………….4 sensors in < 24’ probes
9 sensors in > 24’ probes
RTD …………………..Continuous sensor, 2 or 3 wire
Thermistor: Thermal resistor (NTC)
Temp. Output ……….Resistance per order
Accuracy ……………(std) ±0.36ºF, (±0.2ºC)
Accuracy ……………(High) ±0.18ºF, (±0.1ºC), [XP] option
Stability ……………..< 0.036ºF/Year, (<0.02ºC/Year)
Heat dissipation ….2.7 mW/ºC
Temp. Drift ………….<0.02ºC per year
Probe range ……….-40º to 221ºF (-40º to 105ºC)
RTD: Resistance Temp Device (PTC)
Platinum (Pt) ………100Ω and 1KΩ @0ºC, 385 curve
Platinum (Pt) ………1KΩ @0ºC, 375 curve
Pt Accuracy (std) 0.12% @Ref or ±0.55ºF, (±0.3ºC)
Pt Stability ………….±0.25ºF, (±0.14ºC)
Pt Self Heating ……0.4 ºC/mW @0ºC
Pt Probe Range ….-40º to 221ºF, (-40 to 105ºC)
Nickel (Ni) ………….1000Ω @70ºF, JCI curve
Ni Probe Range ….-40º to 221ºF (-40 to 105ºC)
Sensitivity: Approximate
Thermistor ………… Non-linear – Go to bapihvac.com
click “Resources” and “BAPI
Sensors Overview”
Plat. RTD ……………3.85Ω/ºC for 1KΩ RTD
0.385Ω/ºC for 100Ω RTD
Nickel RTD ………..2.95Ω/ºF for the JCI RTD
Lead Wire: 22AWG stranded, etched Teflon, plenum-rated
Probe: Flexible aluminum tube, 3/16” (4.8mm) OD
Probe Length: 8’, 12’ & 24’ (2.4m, 3.7m, 7.3m) per order
Duct Gasket: 1/4” (6.4mm) closed cell foam (impervious to mold)
Enclosure Ratings
J-Box ………………… -JB, NEMA 1
No Box ………………. -NB, No rating
Weather Proof ……. -WP, NEMA 3R, IP14
BAPI-Box …………… -BB, NEMA 4X, IP66
BAPI-Box 2 ………… -BB2, NEMA 4X, IP66
BAPI-Box 4: ……….. -BB4, IP10 (IP44 with Knockout Plug installed)
Enclosure Materials
J-Box ………………… -JB, Galvanized steel, UL94H-B
No Box ………………. -NB, Nylon 66, UL94H-B
Weather Proof ……. -WP, Cast Aluminum, UV rated
BAPI-Box …………… -BB, Polycarbonate, UL94V-0, UV rated
BAPI-Box 2 ………… -BB2, Polycarbonate, UL94V-0, UV rated
BAPI-Box 4: ……….. -BB4, Polycarbonate & Nylon, UL94V-0
Ambient (Encl.) ……. 0 to 100% RH, Non-condensing
All BAPI-Boxes ……. -BB, BB2, BB4, -40ºF to 185ºF, (-40º to 85ºC)
J-Box & No Box …… -JB, NB, -40ºF to 212ºF, (-40º to 100ºC)
Weatherproof ……… -WP, -40ºF to 212ºF, (-40º to 100ºC)
Agency
RoHS, *CE
PT=DIN43760, IEC Pub 751-1983,
JIS C1604-1989
*Passive Thermistors 20KΩ and smaller are CE
Specifications are subject to change without notice.
Building Automation Products, Inc., 750 North Royal Avenue, Gays Mills, WI 54631 USA
Tel:+1-608-735-4800 • Fax+1-608-735-4804 • E-mail:[email protected] • Web:www.bapihvac.com

















