
Installation Manual
ESENSE Duct (Disp)
COs2 / temperature sensor in a housing for mounting in ventilation ducts

Figure 1 The eSENSE Duct with and without display
General
The IAQ-sensor product eSENSE Duct (for mounting in ventilation ducts) is designed to measure carbon dioxide (CO). Option – TR is prepared for temperature measurements by the resistive temperature probe mounted by the user. Option Disp displays the measured CO: value in ppm (parts-per-million) on the LCD.
The units are designed for connecting to Direct Digital Control (DDC) with 0-10V or 2-10V signal inputs. The two parallel signal outputs Out(1) (O-10V) and Out(2) (2-10V or 4-20 mA) give linear signal voltages or currents corresponding to the measuring range.
The output Out(2) also indicates the status by setting the output voltage to 1V or the output current to 2 mA when the sensor self-diagnostics detects any error.

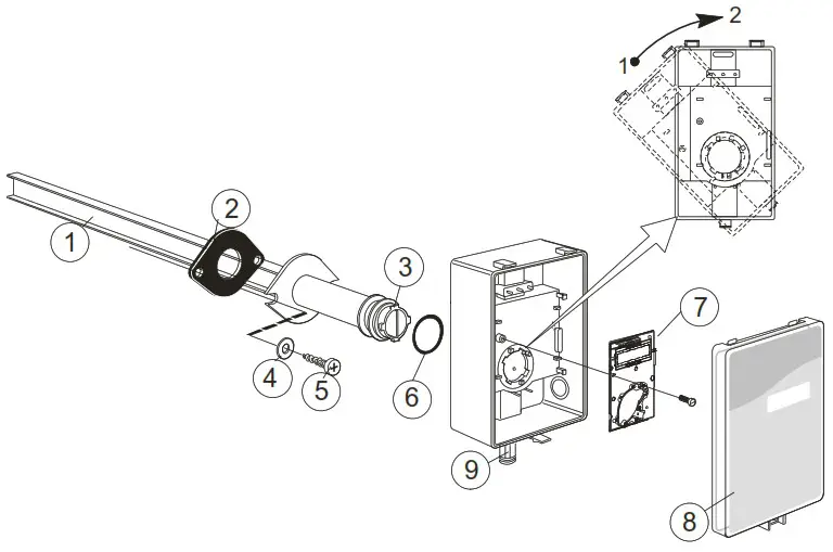
| 1. Sampling probe 2. Sealing gasket 3. Largest locking nob 4. 2 washers (Not included) 5. 2 screws (Not included) | 6. O-ring 29,2×3,53 7. PCB (Factory supplied mounted in box) 8. Snap-in lid 9. Cable entry bushing |
Figure 2 Parts of the eSENSE for duct mounting
Mounting of SENSE on to the duct.

Figure 3 Mounting of the sensor to the ventilation duct
Mounting Instruction
Since there might be a substantial pressure difference in duct mounting applications, it is essential to avoid ambient air from suction into the duct mounting box. For correct function it is indispensable that the sealing of the box cover, the cable entry bushings, the cable feed through and the duct entrance are absolutely tight. The duct entrance may need extra sealing paste in order to prevent leakage. The PCB must be handed carefully and protected from electrostatic discharge.
- Place the O-ring around the hole at the back of the box. See figure 2.
- Electrical cable entry: The box has a factory mounted cable entry bushing. Never feed more than one cable through each cable entry bushing, or else gas might leak through!
- Mounting the tube: Drill a hole (10) with 25 mm diameter (or 1 inch) for the sampling probe and two holes with 4 mm diameter for the screws (5) into the air duct and mount the tube (1) with the gasket (2). The sampling probe should be mounted with the largest locking knob on top. The unit can be mounted with the air coming from the left or right.
- Attaching the sensor box is made to the sampling probe by a snap-in bayonet fitting. Orient the box onto the sampling probe so that the box upside is on the same side as the largest locking knob (3). When the probe is fitted into the notches of the box, then turn the box clockwise until stop (See Figure 2). Position 1 indicates open where the box can be removed from the sampling probe. In position 2 the box is locked to the probe.
Electrical connections
The power supply has to be connected to
and
.
E is considered as system ground. The same ground reference has to be used for the eSENSE unit and for the DDC/signal receiver.
The same ground reference has to be used for the eSENSE unit and for the control system!
| Terminal | Function | Electrical data | Remarks Standard settings | Remarks Settings of this sensor |
| Power (+) Power ground (-) | 24 VAC/DC+ (+-20%), 2W24 VAC/DC- | System voltage reference | ||
| Out(1) Out(2) | Analogue output 1 (+) Analogue output 2 (+) | VU-1TU VU OF According to label 2.0…10.0 VDC or 4.0… 20.0 mA or According to label 0.9…1.6 VDC or 1.5 to 2.5 mA 0VDC or OmA | 0-2000 ppm CO2 0-2000 ppm CO2 Status = ERROR Status = NOT READY |
TableI. Connections of the main terminal of ESSENSE
![]() | ![]() |
| Figure 5 PCB with jumper to configure OUT2 for current output 4-20mA or voltage output 2-10VDC | Figure 6 Enlarged picture of the PCB with the jumper set to voltage output (right position) |
Self-diagnostics
The system contains a complete self-diagnostic procedure that is executed automatically when the sensor is in operation. Sensors with display show a wrench if an error is found. The wrench is shown during the first seconds after power up and if the measuring range is exceeded. The output Out(2) indicates the same information by setting the output voltage to 1V or 2 mA.
Maintenance
The eSENSE is basically maintenance free in normal environments thanks to the built-in self- correcting ABC algorithm. Discuss your application with SenseAir in order to get advice for a proper calibration strategy.
The sensor accuracy is defined at continuous operation (at least periods after installation)
Electronic products should be disposed of via a suitable recycling centre.
Dimensions

Figure 7 The dimensions of the sensor in mm and (inches)
Senseair® AB (headquarte)
| Stationsgatan 12 Box 96 824 08 Delsbo SWEDEN | Phone: +46-(0)653 – 71 77 70 E-mail: [email protected] Web site: www.senseair.com |

An Asahi Kasei Group Company
©2019 Senseair AB. All rights reserved
Document IMA0215
Rev 4



















