Danfoss ESMD Temperature Sensor Installation Guide

ESMD

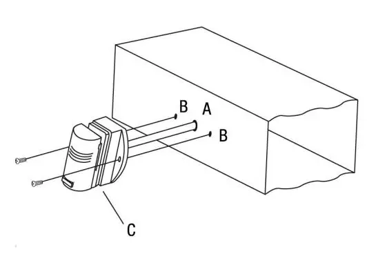
- Drill a 6.5 mm hole in the middle of the air duct at a place where the temperature sensor is not influenced by stratified air, heat or humidifiers. Place the temperature sensor in the air duct (A).
- Drill two 4 mm holes though the flange holes (B) of the ESMD. It is recommended to mount the ESMD with the cable inlet facing down. Use two 5 mm self-cutting screws (not delivered) for mounting the ESMD.
- Make a small hole in the black rubber cable inlet and put the cable through the inlet (C).
Press the orange tabs to connect wires. Polarity not important. - Mount white front cover onto the ESMD.
Dimensions

ESMD: www.danfoss.com
https://www.youtube.com/user/DanfossHeating
-> Playlists -> How-to Videos -> District Energy installation videos
![]()
![]()



















