Simplex 4098-9704 In Duct Sensor

Wimplex 4098-9704, -9705 In-Duct Sensor Assemblies
This device is a low velocity, in-duct assembly. When provided with sensor, it is designed to sample the air flow passing by it in the air duct to determine whether it contains unacceptable levels of smoke. The effectiveness of a duct smoke sensor is highly dependent upon the design and operating conditions of the air handling system in which it is installed, variables such as smoke dilution and stratification over which even the best-designed systems have no control, and proper placement and positioning of the duct smoke sensor, which is often compromised for practical reasons.
Installation Instructions
- Using the Programmer’s Report for the 4020, 41OO+,or 4120, find the entry for the duct sensor you are about to install. The device ADDRESS (with a M prefix) and CUSTOM LABEL are located in the
SYSTEM POINT SUMMARY. - Using the example given in Step 1 as a guideline, set the duct sensor’s address using Figure 2. Locate the DIP switches on the duct sensors base. Use a small screwdriver or pen to set the switches.
- Mark an address label with the appropriate address for your duct sensor by shading a label box for each sensor DIP switch in the ON position. (Address label marked Address 7 is shown in Figure 3.) Then apply the label to the sensor near the sensor’s DIP switches.
- Recheck the location of the sensor and its address before electrical installation.
Address Setting for the 4020,4100+, or 4120 System
For example, Address Ml-7 (for the 4100+ or 4120 system) is circled in Figure 1. Ml is the addressable channel while -7 is the device address on the channel. For a duct sensor with Address Ml-7, Address 7 must be set on the duct sensor’s DIP switches. Address 7 is circled in Figure 2.
NOTICE
THIS DEVICE IS A LOW VELOCITY, IN-DUCT ASSEMBLY. WHEN PROVIDED WITH SENSOR, IT IS DESIGNED TO SAMPLE THE AIR FLOW PASSiNG BY IT IN THE AIR DUCT TO DETERMINE WHETHER IT CONTAINS UNACCEPTABLE LEVELS OF SMOKE.
THE EFFECTIVENESS OF A DUCT SMOKE SENSOR IS HIGHLY DEPENDENT UPON:
- THE DESIGN AND OPERATING CONDITIONS OF THE AIR HANDLING SYSTEM IN WHICH IT IS INSTALLED,
- VARIABLES SUCH AS SMOKE DILUTION AND STRATIFICATION OVER WHICH EVEN THE BEST DESIGNED SYSTEMS HAVE NO CONTROL, AND
- PROPER PLACEMENT AND POSITIONING OF THE DUCT SMOKE SENSOR, WHICH IS OFTEN COMPROMISED FOR PRACTICAL REASONS.
FOR THE REASONS STATED ABOVE, THE EFFECTIVENESS OF THIS DUCT SMOKE SENSOR CANNOT BE WARRANTED OR GUARANTEED. UNDER NO CIRCUMSTANCES SHOULD THIS DUCT SMOKE SENSOR BE USED AS OR REGARDED TO BE A SUBSTITUTE FOR THE BUILDING’S REGULAR FIRE ALARM AND DETECTION SYSTEM TO WHICH THIS DEVICE IS ATTACHED AS A SECONDARY DETECTION DEVICE.
GENERAL DESCRIPTION
The 4098-9704 or 4098-9705 In-Duct Sensor Assembly is designed to sample air and detect smoke in air ducts. Only the 4098-9704 has auxiliary contacts for alarm, supervisory, and control functions.
Each assembly uses the 4098-9701 Photoelectric Sensor (not supplied).
The assembly may be used with square ducts from 8 inches to 36 inches wide. For ducts 37 to 72 inches wide, use a duct sensor on both sides of the duct to provide adequate sampling of the air volume. Although the In-Duct Assembly is not recommended for round ducts, it is ideally suited for use in air return plenums above ceilings or below floors of computer rooms.
Each housing has a red Alarm LED.
Note: A pulsing Alarm LED indicates “Power On.”
For detailed information on using smoke sensors in air distribution systems, see NFPA 90A.
The procedures that follow are used to install the 4098-9704 or 4098-9705 In-Duct Sensor Assembly. The instructions provided show how to set the address at each assembly and also how to make electrical connections. Addressable smoke duct sensors are connected to a 2120 Multiplex Communicating Device Transponder (4098-9705 only), 4020 Fire Alarm Panel, 4100+ Fire Alarm Panel, or 4120 Fire Alarm Panel by a single twisted-shielded wire pair (MAPNET II®).
SETTING THE DUCT SENSOR’S ADDRESS
Duct sensor addressing is critical since the 2120 Communicating Device Transponder (CDT), 4020, 4100+, and 4120 Systems report alarms and troubles per duct sensor rather than per zone. Each duct sensor has a unique address. This address is associated with a custom label which identifies its physical location within a building. The duct sensor’s address and location must match up with the address listed in the specification sheets of the 2120 Job Configuration Report or Programmer’s Report for the 4020, 4100+, or 4120 System. You should have the appropriate specification sheets with you during this part of the installation.
Address Setting for the 2120 CDT System (Use with 4098-9705 only)
- Using the 2120 Job Configuration Report, find the entry for the duct sensor you are about to install. The CUSTOM LABEL column provides the location while the DEVICE ADDRESS column provides the switch setting data.
- Using the switch setting data for the duct sensor you’re installing, set the duct sensor’s address. Locate the DIP switches on the duct sensor’s base. Use a small screwdriver or pen to set the switches.
For the switch setting data in the DEVICE ADDRESS column, “O” means “CLOSED” while “1” means “OPEN.” - Recheck the location of the sensor and its address before electrical installation.
Address Setting for the 4020, 4100+, or 4120 System
- Using the Programmer’s Report for the 4020, 4100+, or 4120, find the entry for the duct sensor you are about to install. The device ADDRESS (with a “M” prefix) and CUSTOM LABEL are located in the SYSTEM POINT SUMMARY.
For example, Address M1 -7 (for the 4100+ or 4120 system) is circled in Figure 1. M1 is the addressable channel while -7 is the device address on the channel. For a duct sensor with Address M1-7, Address 7 must be set on the duct sensor’s DIP switches. Address 7 is circled in Figure 2. - Using the example given in Step 1 as a guideline, set the duct sensor’s address using Figure 2. Locate the DIP switches on the duct sensor’s base. Use a small screwdriver or pen to set the switches.
- Mark an address label with the appropriate address for your duct sensor by shading a label box for each sensor DIP switch in the ON position. (Address label marked Address 7 is shown in Figure 3.) Then apply the label to the sensor near the sensor’s DIP switches.
- Recheck the location of the sensor and its address before electrical installation.
4020 SYSTEM


System Point Summaries with MAPNET 11® Addresses FIGURE 1
4020, 4100+, OR 4120 USE ONLY (NOT FOR USE WITH 2120)


MAPNET II® Address Chart FIGURE 2
MAPNET II® Address Label FIGURE 3
ELECTRICAL SPECIFICATIONS
An addressable in-duct assembly is connected to a 2120 CDT (40989705 only), 4020, 4100+, or 4120 Fire Alarm system by twisted pair-wire (MAPNET II®). The duct sensor obtains both power and data over this pair. (Shielded,
twisted pair-wire for the MAPNET 11® circuit is required; for exceptions, consult Simplex Sales Engineering.) For relaR operation (4098-9704 only}, a separate 24VDC or 120VAC source of power is required in addition to the MAPNET II
lines.
4098-9704
Set up the 4098-9704 for the following Electrical Configuration:
MAPNET II® Operation with 24VOC Power for Relay Control (Figure 4)
24VOC Power
- Input Voltage – 18 to 32VDC
- Average Supervisory Current-280 microamps.
- Alarm Current- 32 mA maximum
- Control Contacts-Alarm relay – K1A N.O. (TB1-23, -24}; C (TB1-21, -22); N.C. (TB1-16, -17} – K1B N.O. (TB1-20}; C (TB1-18); N.C. (TB1-19).
Note: All relay contacts rated 2A @ 120VAC or 28VDC resistive.
4098-9705
Set up the 4098-9705 (no relay) for the following Electrical Configuration:
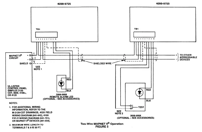
MAPNET 11® Operation (Figure 5)
MAPNET 11® Power
- Input Voltage – 18 to 39VDC
- MAPNET II® Current – 1 mA

MAPNET 11® Operation with 24VDC Power for Relay Control FIGURE 4

Two-Wire MAPNET 11® Operation FIGURES
ACCESSORIES
Accessory installation instructions are provided on Page 11 of this publication.
REMOTE ALARM INDICATOR – MODEL 2098-9808
- Red LED indicator is pulsing when sensor is in normal state; ON when sensor is in alarm or trouble.
- Alarm Current – 1 mA
REMOTE ALARM INDICATOR/KEY SWITCH – MODEL 2098-9806
- Red LED indicator is pulsing when sensor is in normal state; ON when sensor is in alarm or trouble.
- Alarm Current – 1 mA
INSTALLATION
Pre-Installation Routines
The 4098-9704 or 4098-9705 Low Velocity, In-Duct Sensor Assembly should be installed in a location of relatively nonturbulent air flow and within the intended operating velocity range of 35-2000 feet per minute (10.7 to 610 M/min.).
Simplex recommends measurement of air flow and examination of engineering specifications that define expected duct air velocities under all conditions to determine if a location is suitable for duct sensor operation. An Alnor Instrument Co. (Chicago) Model 8500 Thermo-Anemometer or equivalent may be used to check the duct air velocity.
WARNING: READ BELOW BEFORE INSTALLING SENSOR TO ITS BASE.
The sensor comes with a dust cover to protect it from contamination during completion of building construction. To properly install the sensor to its base:
- Remove dust cover from sensor.
- Install sensor by: inserting sensor into its base opening, rotating sensor counterclockwise until it drops into the seated position, and then rotating sensor clockwise to latch the contacts. Slide base lock tab to secure sensor to its base.
IMPORTANT: An audible “snap” indicates proper contact engagement.
WARNING : System will not operate with dust cover in place.
Rules to Follow
- Whenever possible, locate air sensors a minimum of six duct widths downstream from bends or inlets. Such locations ensure that air flow will be non-turbulent and that smoke will be properly mixed with air in the duct for maximum sensor efficiency. See Figures 6 and 7.
Note: For applications where· air return plenums are above ceilings or below floors, keep the same spacing requirements.
- Locate in-duct assemblies so that dampers do not restrict air flow at the sensor location. See Figure 8.

- Locate duct sensors on the return or supply duct of the equipment’s air handling system. However, sensors should NOT be installed in the return air damper branch. See Figure 8.
- Locate sensors on branch lines if close identification of the alarm source is required.
- Locate sensors on the downstream side of filters to sense fires in the filters. However, should the filters block, sufficient air flow may not be available for proper sensor operation. See Figure 8.
- Whenever possible, locate sensors where they can be conveniently observed and readily serviced.
- Locate sensors in return air ducts ahead of mixing areas.
- Do not locate sensors next to outside air inlets unless you want to monitor smoke entry to the handling system from an adjacent area.
- Locate sensors upstream of air humidifiers and cooling coils.
APPLICATION NOTES
The NFPA states that duct smoke sensors must not be used as substitutes for open area protection. The 4098-9704 or 4098-9705 is intended for use in the control of air handling equipment for the purposes of closing dampers or shutting down air handling units.
INSTALLATION PROCEDURES
- Tape the template (Figure 12) on the duct surface as shown in Figure 9. DO NOT POSITION THE TEMPLATE WITH EDGES ANGLED WITH RESPECT TO AIR FLOW DIRECTION.
- Drill four holes (marked “A” in Figure 12 as determined by metal thickness of duct) and cut out center area as indicated on template (Figure 12).
CENTER TEMPLATE ON DUCT WIDTH


Duct Sensor Installation (See Figure 10)
- Install the 4098-9701 Sensor to its base located in the 4098-9704 or 4098-9705 In-Duct Sensor Assembly. Slide base lock tab to secure sensor to its base.
- Using four #1 0 sheet screws (supplied), secure assembly to the duct.
Duct Sensor Installation Figure 10 - Wiring Procedures
- Flexible conduit is recommended for ease of sensor removal. If required, route conduit to the most convenient knockout and secure to the in-duct sensor assembly using suitable fittings.
- Connect wires to the appropriate terminals within the in-duct sensor assembly in accordance with the system wiring diagram and the appropriate typical installation diagram.
- Perform all wiring in accordance with the requirements of the National Electrical Code®, local codes, and applicable specific system drawings.
- Connect the optional accessory as specified in Step 6 and the associated installation and wiring diagrams. Only one indicator may be connected to each 4098-9704 or 4098-9705.
- Accessory Installation
The 2098-9806 and 2098-9808 accessories are intended tor installation to a standard 2 in. x 3 in. outlet box having a depth of at least two inches. See Figure 11 for details. Make wiring connections in accordance with the installation wiring diagram prior to attaching accessory to the box. - Secure cover to in-duct sensor assembly using screws provided (see Figure 10).

- Duct Sensor Testing
Caution: Before testing the sensor, make sure that air handling unit is OFF. Then disconnect the city circuit, releasing devices, and extinguishing systems (or for the 4020, ‘4100+ or 4120 panel, put panel in the ™ Walk Test mode).
Test Equipment Available
2098-9822 (553-394) Extendable Smoke Generator
553-406 Smoke Punk Sticks
2098-9814 (553-536) Test and Removal Tool
2098-9815 (553-553) Test and Removal Tool Holder
Testing
Smoke sensor sensitivities are set and continuously monitored by the control unit. Dirty or out-of-range sensors are annunciated by the control unit. This functionality complies with NFPA 72, Chapter 7. When functional testing of the sensors is required per NFPA 72, use the test methods listed below.
Test Methods
For the Preferred and First Alternate Test Methods, you must remove the in-duct sensor assembly from the duct to properly test the 4098-9701 Sensor.
(Preferred Method)
NFPA minimally requires annual testing of sensors at their installed location using smoke. To perform this annual test, use the 553-394 Extendable Smoke Generator. (First Alternate Method)
Note: The following Alternate Test Methods are suitable for functional checks during installation; however, testing with smoke must be performed to comply with NFPA requirements.
Using the 2098-9814 (553-536) Test and Removal Tool mounted in the 2098-9815 (553-553) Test and Removal Tool Holder, place the test ring around the sensor while positioning one of the magnets near the word “TEST” found on the sensor base. (Testing a sensor with a magnet will report a value of 255 for actual/peak. Since any future peak values are invalidated, clear peak value after test using P134; then reset the Fire Alarm Control panel.)
(Second Alternate Method)
Using the remote alarm indicator/key switch (2098-9806), insert key into test switch and turn key clockwise to Test position.
To restore the system after using the Preferred Testing Method above, begin by clearing smoke from the sensor assembly and re-installing the in-duct sensor assembly. Then reset Fire Alarm Control panel to restore the fire alarm system to normal status. (To restore the system after using the second Alternate Testing method above, turn the key in test switch to its NORM [Normal] position and then reset the Fire Alarm Control panel.)
MAINTENANCE
You should vacuum the sensor’s air entry areas every 6 months or as required.
Cleaning programs should comply with NFPA and local environments. Cleaning the internal chamber of the 4098- 9701 Sensor should only be done by a Simplex Technical Representative.
TOP OF DUCT
IF HORIZONTAL DUCT
CUT OUT THIS AREA
DRILL POINTS MARKED “A” ARE FOR SHEET METAL SCREWS. HOLE SIZES ARE DETERMINED BY TABLE BELOW.

Simplex Plaza l Gardner, Massachusetts 01441-0001 U.S.A.



Duct Sensor Installation Figure 10















