
Operation Installation & Maintenance Manual

– VRF INDOOR UNIT –
ORIGINAL INSTRUCTIONS
CHV-05SDLSP Manual Ducted unit LSP
| Type | Model |
| LOW HEIGHT CEILING DUCTED TYPE | CHV-05SDLSP,CHV-07SDLSP CHV-09SDLSP,CHV-12SDLSP CHV-15SDLSP,CHV-17SDLSP CHV-19SDLSP,CHV-22SDLSP CHV-24SDLSP |
IMPORTANT:
READ AND UNDERSTAND THIS MANUAL BEFORE USING THIS HEAT-PUMP AIR CONDITIONER. KEEP THIS MANUAL FOR FUTURE REFERENCE.
IMPORTANT NOTICE
Signal words (DANGER, WARNING, CAUTION, and NOTE) are used to indicate hazard seriousness.
Definitions of the hazard levels are provided below with respective signal words.
: Immediate hazards which WILL result in severe personal injury or death.
: Hazards or unsafe practices which COULD result in severe personal injury or death.
: Hazards or unsafe practices which COULD result in minor personal injury or product or property damage.
NOTE : Useful information for operation and/or maintenance.
- This manual should be considered as a permanent part of the air conditioning equipment. Please keep it properly.
- We pursue a policy of continuous improvement in design and performance of products. The right is therefore reserved to change specifications without notice.
- Our company shall not be held responsible for any occasional damage to the air conditioner that arises during its operation in specific environment.
- This air conditioner must be used as a general air conditioner, and shall not be used for drying clothes, freezing foods, cooling or heating and other purposes.
- Please don’t install the air conditioner in the following environments. Otherwise, fire, machine deformation or failure may arise.
* Places with spatter of oil (including machine oil).
* Places with inflammable gases.
* Places with sulfurated gases or silicon (e.g. hot spring, etc.).
*Coastal areas with much salt or the places exposed to strong acids or bases that may cause corrosion to machine. - Do not orient the air outlet immediately to animals and plants, since this may cause adverse effects thereon.
- The installation and service engineering have to comply with local standards, laws and regulations.
- As an “appliance inaccessible to the public”, the installation height of indoor unit of the air conditioner shall be at least 98-27/64 in.(2.5m).
- This air conditioner can only be installed by dealers or professionals. The installation by user may lead to water leakage, electric shock or fire.
- In case of any question, please consult the dealer or the service center designated by our company.
- For environmental protection, please don’t dispose of the product casually. Our company can provide recycling service based on relevant regulations, and provide replacement parts according to relevant standards.
- Refer to the instruction manual for complete machine (outdoor unit) for product standard for indoor unit.
- Refer to Installation & Maintenance Manual of outdoor unit for temperature operation range.
![]()
- Please don’t perform installation works such as refrigerant piping connection, drain pipe connection, and wiring connection. Violations may result in system leakage, electrical failure or fire.
- Do not pour water into the indoor or outdoor unit. This machine is an electric product that may develop serious electric failure when exposed to water.
- Do not open the service cover of indoor or outdoor units without turning OFF the main power supply; otherwise, this may bring about serious safety accident.
- Do not touch or adjust safety devices inside the indoor or outdoor units. If they are touched or readjusted, serious accident may arise.
- Refrigerant leakage may bring about oxygen deficit-induced respiratory difficulty. In case refrigerant leakage is detected, please turn off the main switch immediately, extinguish any naked flame, and contact service dealer.
- Make sure air tightness test is performed. Refrigerant R410A is non-flammable, non-toxic, and odorless, and may produce toxic gases when exposed to open flame. Since this refrigerant gas is heavier than air, it may result in lack of oxygen, thereby leading to breathing difficulties when the area near the ground is filled with this gas. Performing leak detection and gas tightness test with oxygen, acetylene or other flammable and toxic gases may cause explosion, so nitrogen is recommended for this test.
- The standards for safe refrigerant leakage in construction and system operation are determined based on local regulations or standards.
- Use ELB with medium or higher sensing speed (ELB with an operating time of 0.1 seconds or less), or electric shock or fire may arise.
- For installation, the refrigerant piping must be firmly connected before the operation of compressor. For repair, the refrigerant piping must be moved, handled and removed after the stop of compressor.
- Please don’t short-circuit the protective device (e.g., the pressure switch, etc.) during operation, since this may cause fire or explosion.
![]()
- Do not use any sprays such as insecticide, lacquer, hair spray or other flammable gases within approximately 1 meter from the system.
- If the earth leakage breaker is frequently activated, please stop the system and contact your local dealer or distributor services.
- Make sure the ground wire is securely connected. The improper grounding of machine may lead to electrical failure.
- Please don’t connect the ground wire to gas pipes, tap water pipes, lightning rods or phone ground wires.
- Make sure there are no flammable materials around during brazing operation. Please wear leather gloves to prevent frostbite when filling refrigerant.
- Prevent rats or other small animals damaging the wiring and electrical components. Bitten unprotected parts may cause a fire.
- Firmly fix the connection wires. The external force of terminal may result in looseness of terminal that may cause a fire. Make sure the air conditioner is installed with enough strength of fixation; otherwise, the air conditioner may fall or topple over, which may bring about machine damage or personal injury.
- Please follow the installation instructions and related regulations and standards for electrical construction; otherwise, electrical failure or fire may occur due to inadequate capacity or inconsistent specifications.
- Never fail to use specified wiring and select correct wiring, since failure to do so may cause electrical failure or fire.
- Please make sure the outdoor unit is not covered with snow or ice before use.
![]()
- Do not stamp on the machine or place sundries thereon.
- Do not put extra materials on or in tee machine.
Note:
- This air conditioner must be serviced by professional maintenance personnel.
- Rooms are recommended to be ventilated once every 3-4 hours.
- Heat pump air conditioner may malfunction under the following conditions:
* The power available from power transformer is less than or equal to the electrical power of air conditioner.
* The excessively short distance from the power cord of air conditioner to any high-power electrical equipment results in extremely high inductive surge voltage in the power cord of air conditioner.
IMPORTANT NOTICE
Correct Disposal of this product
This marking indicates that this product should not be disposed with other household wastes. To prevent possible harm to the environment or human health from uncontrolled waste disposal, recycle it responsibly to promote the sustainable reuse of material resources. To return your used device, please use the return and collection systems or contact the retailer where the product was purchased. They can take this product for environmentally safe recycling.
CHECKING PRODUCT RECEIVED
- Upon receipt of this product, check it for any shipping damage. Claims for damage, either apparent or concealed, should be filed immediately with the shipping company.
- Check the model number, electrical parameters (power supply, voltage, and frequency) and accessories to determine if they are correct. The standard operation method for the machine is described in the present manual.
Please contact local dealer when problem arises.
Our company shall not be responsible for any consequence of the modification to machine performed without its written consent.
Section 1 Operation Manual
Safety Summary
![]()
- Do not have the indoor unit or outdoor unit exposed to water. All these parts are designed with electronic components that may cause short circuit when exposed to water.
- Do not touch or adjust safety devices inside the indoor or outdoor units. If these devices are touched or readjusted, it may cause a serious accident.
- Do not open the service cover or access the indoor or outdoor units without turning OFF the main power supply.
![]()
- Refrigerant leakage can cause difficulty with breathing due to insufficient air.
- Do not use any sprays such as insecticide, lacquer, hair spray or other flammable gases within approximately 1 meter from the system.
- If the indoor switchboard or fuse is frequently cut off, please take the air-conditioning system out of service and contact our agency.
- This appliance can be used by children aged from 8 years and above and persons with reduced physical, sensory or mental capabilities or lack of experience and knowledge if they have been given supervision or instruction concerning use of the appliance in a safe way and understand the hazards involved. Children shall not play with the appliance. Cleaning and user maintenance shall not be made by children without supervision.
Note
It is recommended that the room be ventilated every 3 to 4 hours.
Unit Description
- This heat-pump type air conditioning unit can consist of one outdoor unit and several indoor units. Detailed configurations are stated in the corresponding installation & maintenance manual for outdoor unit. This heat-pump type air conditioner is applicable for refrigeration, heating, dehumidification and air supply, etc. These features are controlled with a remote control (option).
Table 2.1 Capacities of Indoor Units
| Indoor Unit | Nominal Capacity (kBtu/h) | |||
| Ducted Type | 05 | 07 | 09 | 12 |
| 15 | 17 | 19 | 22 | |
| 24 | ||||
Part Name
3.1 Indoor Unit
Refer to “ig.3.1 Ducted Type Indoor Unit”

Models 19~24
| No. | Name | No. | Name |
| 1 | Centrifugal Fan | 10 | Drain Piping Base |
| 2 | Motor | 11 | Float Switch |
| 3 | Heat Exchanger | 12 | Drain Pan |
| 4 | Distributor | 13 | Air Outlet |
| 5 | Filter | 14 | Air Inlet |
| 6 | Electronic Expansion Valve | 15 | Drain Pump |
| 7 | Electric Box | 16 | Coupling (Models 19~24) |
| 8 | Refrigerant Gas Pipe Connection(φa Flare) | 17 | Filter Screen |
| 9 | Refrigerant Liquid Pipe Connection(φb Flare) |
Before Operation
![]()
- The units that have been left unused for a long period of time shall be electrified for more than 4 hours before startup. Do not start the machine immediately after poweron since this may cause damage to compressor due to inadequate warm-up of lubricating oil.
- Please check if the outdoor unit is covered with ice or snow. If yes, please remove the ice or snow with warm water. However, the water temperature shall not exceed
122°F since this may cause damage to plastic parts. - Turn off the main power supply if the machine is expected to be left unused for more than 3 months, because the oil heater band consumes power even if the compressor is not in service. You are recommended to entrust maintenance personnel to check the unit before startup.
- Set the temperature properly. Set the temperature 2°F lower than expected for heating, and set it 2°F higher than expected for refrigeration so as to save resources.
- Do not open doors and windows frequently during the operation of air conditioner.
Automatic Control
This system is designed with the following features.
Note
Please keep the main power supply ON unless the system is left unused for long. By doing so, the automatic drainage device starts to function when the level of accumulated water in machine exceeds the predefined level.
- Three-Minute Stop Protection
To protect the compressor, it is prevented for at least 3 minutes from functioning after its stop. The compressor automatically gets started in 3 minutes. - Three-Minute Operation Protection
Ensure the compressor runs at least for 3 minutes (if the compressor runs for less than 3 minutes, it can’t stop unless 3 minutes elapse even if all indoor temperatures reach the set values). However, the compressor that runs for less than 3 minutes can be brought out of service with the remote control. - Oil Return Operation
When an indoor unit is out of service for more than 2 hours during refrigeration, it will run for a few minutes automatically to prevent the detention of refrigeration oil
in the indoor unit in stopped state. - Freeze Protection during Refrigeration
When the outlet air temperature of indoor unit is excessively low, refrigeration may be automatically switched to air supply mode, in which the unit runs for a period of time to avoid frosting on indoor heat exchanger. - Cold Air Prevention
To prevent the output of cold air from indoor unit in heating mode, the fan runs at low speed. The fan speed is set based on outlet air temperature of indoor unit. - Control of Indoor Fan during Defrosting
The indoor fan is out of service during automatic defrosting of outdoor unit. - Surplus Heat Output from Indoor Unit
Upon completion of heating, the indoor fan will keep on running at low speed for approx. 2 minutes to reduce the temperature of machine body. - Automatic Defrosting
Press “Run/Stop” key to stop heating. The outdoor unit can automatically detect frost and automatically perform defrosting for up to 10 minutes. - Overload Protection
Heating stops when outdoor temperature is excessively high during heating. The heating resumes when the outdoor temperature drops to a certain level.
Note
If the unit stops due to power breakdown, the system will not automatically get into service even if power supply is restored.
Please restart the unit from Step 1. The settings will not get lost in the case of extremely short power-off time (within 2 seconds). The system will come into operation
automatically in approx. 3 minutes.
Troubleshooting
![]()
When overflow of drain water from the indoor unit occurs, stop the operation and contact your contractor.
When you smell or see white smoke coming from the unit, turn OFF the main power supply and contact your contractor.
6.1 If Trouble Still Remains
If the trouble still remains even after checking the following, contact your contractor and inform them of the following items.
- Unit Model & Name
- Content of Trouble
- Alarm Code No. on Liquid Crystal Display
6.2 No Operation
Check whether the SET TEMP is set at the correct temperature.
6.3 Not Cooling or Heating Well
- Check for obstruction of air flow of the outdoor or indoor units.
- Check if too many heat sources exist in the room.
- Check if the air filter is clogged with dust.
- Check to see if the doors or windows are opened or not.
- Check if the temperature condition is not within the operation range.
6.4 This is Not Abnormal
- Smells from Indoor Unit
Smell adheres on indoor unit after a long period of time. Please clean the filter screen and air-inlet grille or keep the working space well ventilated. - Sound from Deforming Parts
During system startup or stop, an abrading sound might be heard. However, this is due to thermal deformation of plastic parts t is not abnormal. - Steam from Outdoor Heat Exchanger
During defrosting operation, ice on the outdoor heat exchanger is melted, resulting in steam generation. - Refrigerant Flow Sound
While the system is being started or stopped, sound from the refrigerant flow may be heard.
Section 2 Installation & Maintenance Manual
1. Safety Summary
![]()
- Please don’t perform installation works such as refrigerant piping connection, drain pipe connection, and electrical wiring connection.
- Check that the ground wire is securely connected.
- Connect a fuse of specified capacity.
![]()
Do not install the indoor unit, outdoor unit, wired control and cable within approx. 39-13/32 inch. from strong electromagnetic wave radiators such as medical equipment.
Necessary Tools and Instrument for Installation
| No. | Tool | No. | Tool |
| 1 | Phillips Screwdriver | 10 | Charging Cylinder |
| 2 | Vacuum Pump | 11 | Gauge Manifold |
| 3 | Refrigerant Gas Hose | 12 | Cutter for Wires |
| 4 | Megohmmeter | 13 | Gas Leak Detector |
| 5 | Copper Pipe Bender | 14 | Leveler |
| 6 | Spanner | 15 | Clamper for Solderless Terminals |
| 7 | Pipe Cutter | 16 | Hoist (for Indoor Unit) |
| 8 | Brazing Kit | 17 | Ammeter |
| 9 | Hexagon Wrench | 18 | Voltage Meter |
Note: When in immediate contact with refrigerant, please use the installation tools and instruments dedicated to the new refrigerant.
DANGER
Since the pressure of new refrigerant R410A is 1.4 times that of traditional refrigerant, its performance is susceptible to impurities like moisture, scale and grease, etc. It’s essential to remove the moisture, dust, other refrigerants or refrigerant oils from the refrigeration system. Hence, the failure to use specified materials and tools may result in explosion, personal injury, refrigerant leakage, electrical failure or fire.
Transportation and Handling
3.1 Transportation
Transport the product as close to the installation location a po before unpacking.
![]()
Do not put any material on the product.
3.2 Handling of Indoor Unit
![]()
Do not put any foreign material into the indoor unit and check to ensure that none exists in the indoor unit before the installation and test run. Otherwise, a fire or failure, etc. may occur.
![]()
Be sure not to damage insulation materials of unit’s surface during lifting operation.
Indoor Unit Installation
Install the indoor unit as per national standard.
![]()
Do not install the indoor unit in a flammable environment to avoid fire or an explosion.
![]()
- Do not install the indoor unit outdoors. If installed outdoors, an electric hazard or electric leakage will occur.
It is recommended that indoor units be installed higher than 98-27/64 in. from the floor level.
4.1 Factory-Supplied Accessories
Check to ensure that the following accessories are packed with the indoor unit.
![]()
Please contact the dealer if the accessories are not delivered with machine.
4.2 Initial Check
Install the indoor unit with a proper clearance around it for operation and maintenance working space, as shown in Fig. 4.1.

- Indoor unit must be so positioned that the indoor temperature is distributed evenly.
- There should be no obstruction that blocks air flow indoors and at air vent.
- Do not install the indoor unit in a machinery shop or kitchen where vapor from oil or its mist flows to the indoor unit.
The oil will deposit on the heat exchanger, thereby reducing the indoor unit performance, and may deform and in the worst case, break the plastic parts of the indoor unit.
Table 4.1 Factory-Supplied Accessories
| Accessory | Q’ty | Purpose |
Washer![]() | 8 | For Unit Suspension |
Screw![]() | 8 | For Fixing Flanges |
Hose Clamp ![]() | 1 | For Drain Hose Connection |
Accessory Bag for Magnetic Ring![]() | 1 | Arranged around the Power Cord of indoor Unit |
| Drain Pipe | 1 | For Drain Hose Connection |
- Pay attention to the following points when the indoor unit is installed in a hospital or other facilities where there are electronic waves from medical equipment, etc.:
(A) Do not install the indoor unit where the electromagnetic wave is directly radiated to the electric box, wired control cable or wired control.
(B) Install the indoor unit and components as far a po or at least 118-7/64 inch. from the electromagnetic wave radiator.
(C) Prepare a steel box and install the wired control in it. Prepare a steel conduit tube and wire the control cable in it. Then, connect the ground wire with the box and the tube.
(D) Install a noise filter when the power supply emits harmful noises. - To avoid any corrosive action to the heat exchangers, do not install the indoor unit in an acid or alkaline environment.
4.3 Installation and Repair of
Filter Screen
4.3.1 Installation of Filter Screen
- As shown in the figure below, remove the filter screen fastening screw;
- Draw the filter screen down until the upper rib gets out of the slot;
- Pull out the left and right ribs of filter screen out of the machine, and take out the filter screen;
- Clean and reinstall the filter screen following the reverse steps of its removal.

4.3.2 Maintenance and Servicing of Filter Screen
Take down the filter screen from the machine during maintenance, and remove the dust with dust collector or water. To remove stubborn dirt, please dissolve neutral detergent in cold water, and clean the screen therein. Take out the well cleaned filter screen, dry and reinstall it. Depending on local air quality, please clean the filter screen every 3 months operation of air conditioner.
4.4 Indoor Unit Installation
4.4.1 Suspension Bolts
- (Decide upon appropriate mounting position and orientation by carefully taking into consideration the piping, wiring and repair.
- Fig. 4.3 shows how to install suspension bolts.

4.4.2 Suspension Bolt and Pipe Connection Points
- Indicate the location of suspension bolt, and the connection points of refrigerant pipe and drain pipe.
- Installation dimensions are shown in Fig. 4.4.

| Indoor Unit Capacity (kBtu/h) | a | b |
| 05 12 | 29-37/64 | 27-23/64 |
| 15 17 | 37-7/8 | 35-43/64 |
| 19 24 | 48-1/2 | 46-19/64 |
Fig. 4.4 Suspension Bolt
4.4.3 Installation of Indoor Unit
Indoor unit is installed as shown in Fig. 4.5.
Installation of Field-Supplied Parts
| Suspension Bolt | 4-M10 or W3/8 |
| Nut | 8-M10 or W3/8 |
| Washer | 8-M10 or W3/8 |

- How to Install Suspension Bolt and Nut Mount nuts to the four bolts as shown in Fig. 4.6.

- Installation of Indoor Unit
* Place the left bracket on the nut and washer of suspension bolt as shown in the figure below.
* Make sure the left bracket is properly placed on the nut and washer, and put the right bracket of indoor unit on the nut and washer.
(The suspension bolt can be slightly shifted for the placement of indoor unit.)

4.4.4 Leveling of Indoor Unit
- Check to ensure the top surface is level, and measure the max. top surface inclination degree.

- As shown in Fig. 4.8, the rear part of indoor unit is slightly lower than its front part (by 0~13/64 in.) so as to facilitate drainage.
- Tighten the suspension nut upon completion of adjustment. It’s essential to apply thread locking agent to avoid nut looseness.
![]()
Please cover the machine with plastic cloth during installation so as to keep it clean.
4.4.5 Air Duct Connection
Air duct is connected to indoor unit via canvas hose to effectively isolate noise and vibration.
<Example>

Refrigerant Piping Work
![]()
Use refrigerant R410A in the refrigerant cycle. Do not charge oxygen, acetylene or other flammable and poisonous gases into the refrigerant cycle when performing a leakage test or an airtight test. These types of gases are extremely dangerous and can cause an explosion. It is recommended that nitrogen be used for these tests.
5.1 Piping Materials
- Prepare field-supplied copper pipes.
- Select clean copper pipes. Make sure there is no dust and moisture inside. Blow the inside of the pipes with nitrogen or dry air, to remove any dust or foreign materials before connecting pipes.
- Select copper pipes based on Fig. 5.2.
5.2 Piping Connection
- Piping connection points are shown in Figs. 5.1 and 5.2.

Indoor Unit Capacity (kBtu/h) Gas Pipe Liquid Pipe 05~17 1/2(12.7) ※ 1/4(6.35) 19 5/8(15.88) ※ 1/4(6.35) 22, 24 5/8(15.88) ※ 3/8(9.53) Fig. 5.2 Pipe Size
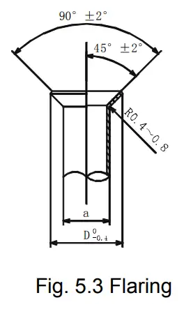
※ Since the nut cap connected at gas pipe is designed exclusively for R410A, the piping flaring connected for off-factory installation is adjusted as compared with R22 and R407C. Please perform the processing operation based on the dimensions shown below: (See Fig. 5.3)
Outside Diameter of Piping (a) 1/2 5/8 Outside Diameter of
Flaring (D)R22 9 R407C 41/64 49/64 R410A 21/32 25/32 Fig. 5.3 Flaring
- As shown in Fig. 5.4, two spanners shall be used for tightening the nut.

Pipe Size (inch(mm)) Tightening Torque (ft.·lbs(N.m)) 1/4(6.35) 14.75(20) 3/8(9.53) 29.50(40) 1/2(12.7) 44.25(60) 5/8(15.88) 59.00(80) Fig. 5.4 Nut Tightening Torque
- Insulate the refrigeration piping with field-supplied insulating pipe upon completion of refrigerant pipe connection. See Fig. 5.5.


• Cap the end of pipe when the pipe is to be inserted through a hole.
• Do not put pipes on the ground directly without a cap or vinyl tape at the end of the pipe.
- Discharging and Charging Refrigerant
Follow the Installation & Maintenance Manual for outdoor unit.
![]()
Excessive and inadequate refrigerant is a leading cause of system anomaly. Please inject the right amount of refrigerant.
Drain Pipe
- See Fig. 6.1 for connection point of drain pipe.
- Find a PVC pipe with an outside diameter of 1-1/4 in.
- Fix the PVC pipe to drain pipe through adhesive and factory-supplied clamp. The downward inclination of drain pipe is 1/25~1/100 in.
- Make thermal insulation after the proper connection of drain pipe.

![]()
Where the relative humidity of air inlet or ambient air exceeds 80%, an auxiliary drain pan shall be fabricated at installation site and placed under the indoor unit, as shown in Fig. 6.2.

![]()
- The drain pipe installed shall slope down; otherwise, the condensate may flow back and leak into the room when the indoor unit is turned off.
- The drain pipe shall not be connected with sewage pipe or other drain pipes.
- Where the main drain is connected to other indoor units, each indoor unit must be higher than the main. Select drain pipes in ample size depending on the refrigerating
capacity and quantity of indoor units. - Check if water flows without obstruction following the procedure shown below after the proper connection of wires and drain pipes.
a. Turn on the power
b. Fill the drain pan with 68oz(2L) or 84oz(2.5L) of water.
c. Check and ensure the water flows without obstruction and no leakage exists. Pour 68oz(2L) of water if no water flows out of pipe end.
Electrical Wiring
![]()
- Turn OFF the main power switch to the indoor unit and the outdoor unit and wait for at least minutes before electrical wiring work or a periodical check is performed.
- Check to ensure that the indoor and outdoor fans have stopped before electrical wiring or a periodical check.
- Protect the wires, drain pipe, electrical parts, etc. from rats or other small animals. If no protection is arranged, rats may gnaw at unprotected parts and at the worst, a fire will arise.
- Avoid the contact of wires with the refrigerant piping, sheet metal edges and electrical components in unit. Otherwise, the wire may be damaged or even cause fire.
- Use ELB with medium sensing rate (earth leakage breaker with action time being equal to 0.1 seconds or less). The failure to do so may result in electric shock or fire.
- The wires must be firmly secured. External force applied to terminals may cause a fire.
- Never connect the power terminal block for air conditioner to power cord. At the indoor unit side of air conditioner, power wiring can be extended through a power distribution box. Be sure to calculate the wiring capacity carefully, since excessively low wiring capacity may frequently cause fire.
- Do not start the system before all check points are thoroughly checked.
![]()
- Wrap the accessory packing around the wires, and plug the wiring connection hole with the seal material to protect the product from any condensate or insects.
- Tightly secure the wires with the cord clamp inside the indoor unit.
- Secure the cable of wired control using the cord clamp inside the electric box.
- Tighten screws to the following torques.
| M4: | 0.74~0.96 | ft.·lbs (1.0~1.3N·m) |
| M5: | 1.48~1.77 | ft.·lbs (2.0~2.4N·m) |
| M6: | 6.64~8.11 | ft.·lbs (9.0~11.0 N·m) |
| M8: | 2.95~3.69 | ft.·lbs (4.0~5.0 N·m) |
| M10: | 13.28~16.96 | ft.·lbs(18.0~23.0 N·m) |

Test Run
The debugging shall be performed as per the Installation & Maintenance Manual.
![]()
- The machine can’t be started unless all check points are checked and ascertained.
(A) Check to make sure the terminal resistance to ground exceeds 1MΩ; otherwise, the electrical leakage point must be identified and repaired before startup.
(B) The shutoff valve of outdoor unit must be checked and fully opened before the startup of unit.
(C) Make sure the main power supply has been kept ON for over 4h so that the heater can heat the lubricating oil of compressor. - Pay attention to the following precautions during system operation.
(A) Do not touch any part at exhaust end, Because the temperatures of case and pipeline at exhaust end of compressor may reach 194°F(90°C) or more during operation.
(B) Don’t press the AC contactor button, since this may lead to serious accident.
Protection and Control Devices
Indoor Unit
| Indoor Unit Capacity (kBtu/h) | 05~24 | |
| Capacity of Fuse on Indoor Unit Control Circuit | A | 5 |
| Freeze Protection Cut-out Temperature Cut-in | °F(°C) °F(°C) | 32(0) 58(14) |
| Set Temperature Difference | °F(°C) | 36(2) |
10. Field Operation
10.1 Specifications of Field Connected Power Cord
Electrical Parameters and Power Cord Size of Indoor Unit
| Indoor Unit Capacity (kBtu/h) | Power Supply | Max. Current | Power Cord Specifications (AWG) | Signal Wire Specifications (AWG) |
| 05~07 | 0.47A | |||
| 09~12 | 0.64A | |||
| 15~17 19 | 208/230V~ 60Hz | 0.74A 0.74A | 14(2.5mm2) | 18(0.82mm2) |
| 22~24 | 1.12A | |||
| Total Current (A) | Cable for Permanent Wiring(AWG) | ※1 DO NOT connect wires in series when the current exceeds 63A. | ||
| I≤6 | 14(2.5mm2) | |||
| 6<I ≤10 | 14(2.5mm2) | |||
| 10<I ≤16 | 14(2.5mm2) | |||
| 16<I ≤25 | 12(4.0mm2) | |||
| 25<I ≤32 | 10(6.0mm2) | |||
| 32<I ≤40 | 8(10.0mm2) | |||
| 40<I ≤ 63 | 6(16.0mm2) | |||
| 63<I | ※1 | |||
Note:
MCA: Min. Circuit Amps (A);
MOP: Max. Overcurrent Protective Device (A);
kW: Fan Motor Rated Output (kW) ;
FLA: Full Load Amps (A)
- Use a shielded cable for the transmitting circuit and connect it to ground.
- Field wiring shall be in conformity to local laws and regulations, and all wiring operations must be performed by qualified professionals.
- Once the power cord is damaged, the dealer or the professionals from designated maintenance department must be contacted in a timely manner for repair and replacement.
10.2 Setting of DIP Switch
- DIP switch must be set with power sources of the indoor and outdoor units in OFF state. Otherwise, the settings are invalid.
- The location of DIP switch is shown in the figure below

- The PCB of indoor unit is furnished with 2 rotary switches and 6 DIP switches that must be set based on the following requirements before test run. The system must not be started before the completion of DIP setup.
(a) All indoor units must be numbered (RSW1&DSW6) as shown in the figure below. The outdoor unit numbering must start with “0”.
Indoor Unit Setting

(b) Capacity Code Setting (DSW3) No setup is required.
The code is set before delivery. This switch is used to set the capacity of indoor unit.
(c) Model Code Setting (DSW4)
No setup is required. The code is set before delivery.
(d) Cooling System Code No. Setting (RSW2&DSW5)
The setup is needed. All are set to OFF before delivery.
Refrigerant System Setting

(e) Safety Reset (DSW7)
* Factory setting.

* Once strong current is accidentally connected to Terminals 1 and 2 of TB2, the PCB fuse will be blown.
Then, it’s necessary to correct the wiring and then set switch No. 1 to ON.
Note:
Symbol “■” indicates the location of DIP switch.
The position indicated in the diagram is in the factory-set state.
![]()
The power supply shall be turned off before the setup of DIP switch. Otherwise, the settings will be invalid.
10.3 Setting of External Static Pressure
Performing external static pressure setup (“C5”) on wired remote control can change the static pressure. Please refer to the Installation & Maintenance Manual for wired remote control.
| Indoor Unit Capacity (kBtu/h) | External Static Pressure | Wired Remote Control Setting |
| 05~ 24 | 0psf(0Pa) | 02 |
| 0.21psf(10Pa) | 00 (Factory Setting) | |
| 0.63psf(30Pa) | 01 |
The Company is committed to continuous product improvement. We reserve the right, therefore, to alter the product information at any time and without prior announcement.
08.2022 V00


























