BAPI Duct and Outside Air Humidity with Optional Temperature Sensor
Overview
Duct and Outside Air Humidity Transmitters come in ±2%RH or ±3%RH accuracies and an optional temperature sensor.
The temperature sensor can be either a Thermistor or RTD. It can be ordered with a Weatherproof (WP), BAPI-Box (BB) or BAPI-Box 2 (BB2) Enclosure. The transmitter can be wired for 0 to 5, 1 to 5, 0 to 10 or 2 to 10 VDC output or a loop powered 4 to 20mA output.
Duct Unit Mounting
Mount at least 3 duct diameters from humidifiers in the center of the duct wall. Drill a 1 inch hole for the probe in the duct and use two number 8 sheet metal screws to attach the sensor to the duct. Center the probe in its mounting hole. Be sure that the foam seals the hole, do not over tighten the screws.


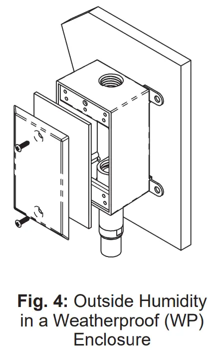
Outside Air Mounting
Mount in a permanently shaded area away from windows and doors. Do not mount in direct sunlight. Mount with the sensor probe pointed down. Drill a hole large enough for your sensor cable through your mounting surface. Mount the unit to the surface with the wiring knock out centered over the wiring hole. Pull the wiring into the unit and terminate using sealant filled connectors. Best practice is to seal the wiring hole with caulk after the wiring is installed. Be sure that the foam on the back of the unit makes a good weather tight seal.


Wiring and Termination
BAPI recommends using twisted pair of at least 22AWG and sealant filled connectors for all wire connections. Larger gauge wire may be required for long runs. All wiring must comply with the National Electric Code (NEC) and local codes.
Do NOT run this device’s wiring in the same conduit as AC power wiring of NEC class 1, NEC class 2, NEC class 3 or with wiring used to supply highly inductive loads such as motors, contactors and relays. BAPI’s tests show that fluctuating and inaccurate signal levels are possible when AC power wiring is present in the same conduit as the signal lines. If you are experiencing any of these difficulties, please contact your BAPI representative.
BAPI recommends wiring the product with power disconnected. Proper supply voltage, polarity, and wiring connections are important to a successful installation. Not observing these recommendations may damage the product and will void the warranty.
| Table 1: Humidity Transmitter with 4 to 20mA Output | ||
| Wire Color | Purpose | Note |
| White | Not Used | Not Used |
| Black | Humidity Output | 4 to 20mA, To Analog Input of Controller |
| Red | Power | 7 to 40VDC |
| Table 2: Humidity Transmitter with 0 to 5 or 1 to 5 VDC Output | ||
| Wire Color | Purpose | Note |
| White | Humidity Output | 0 to 5 or 1 to 5 VDC, To Analog Input of Controller |
| Black | GND (Common) | Ground for Power and Humidity Output |
| Red | Power | 7 to 40 VDC or 18 to 32 VAC |
| Table 3: Humidity Transmitter with 0 to 10 or 2 to 10VDC Output | ||
| Wire Color | Purpose | Note |
| White | Humidity Output | 0 to 10 or 2 to 10VDC, To Analog Input of Controller |
| Black | GND (Common) | Ground for Power and Humidity Output |
| Red | Power | 13 to 40 VDC or 18 to 32 VAC |
| Table 4: Temperature Sensor Lead Wire Colors | |||
| Thermistors | Platinum RTDs – 2 Wire | ||
| 1.8KΩ | Orange/Red | 100Ω | Red/Red |
| 2.2KΩ | Brown/White | 1KΩ | Orange/Orange |
| 3KΩ | Yellow/Black | Nickel RTD | |
| 3.25KΩ | Brown/Green | 1KΩ | Green/Green |
| 3.3KΩ | Yellow/Brown | Silicon RTD | |
| 10K-2Ω | Yellow/Yellow | 2KΩ | Brown/Blue |
| 10K-3Ω | Yellow/Red | Platinum RTDs – 3 Wire | |
| 10K-3(11K)Ω | Yellow/Blue | 100Ω | Red/Red/Black* |
| 20KΩ | White/White | 1KΩ | Orange/Orange/Black* |
| 47KΩ | Yellow/Orange | *In the 3-Wire RTD sensors listed above, the two wires of similar color are connected together. | |
| 50KΩ | White/Blue | ||
| 100KΩ | Yellow/White | ||
Additional sensors are available so your sensor may not be listed on this table.
NOTE: BAPI’s ±2% and ±3% humidity transmitters ARE polarity sensitive as well as reverse polarity protected.
Specifications
Power:
10 to 35 VDC ……………….. For 0 to 5 or 1 to 5 VDC or 4 to 20 mA Humidity Outputs
15 to 35 VDC………………… For 0 to 10 or 2 to 10 VDC Humidity Output
12 to 27 VAC ………………… For 0 to 5 or 1 to 5 VDC Humidity Output
15 to 27 VAC ………………… For 0 to 10 or 2 to 10 VDC Humidity Output
Power Consumption:
22 mA max. DC ……………. For 0 to 5 or 1 to 5 VDC or 4 to 20 mA Humidity Outputs
6 mA max. DC ……………… For 0 to 10 or 2 to 10 VDC Humidity Outputs
0.53 VA max. AC …………… For 0 to 5 or 1 to 5 VDC Humidity Output
0.14 VA max. AC …………… For 0 to 10 or 2 to 10 VDC Humidity Output
Sensor:
Humidity……………………….. Capacitive Polymer
Drift ……………………………. 0.5% per year
Response time………………. < 5 seconds in moving air
RH Linearity………………….. Negligible, factory corrected linear from 10 to 80% RH
RH Hysteresis ……………… Factory corrected to <1%
Opt. Temp…………………….. Passive RTD or Thermistor
System Accuracy:
2% RH …………………………. ±2% (10 to 80% RH @ 25°C), ±3% (80 to 90% RH @ 25°C), Non-condensing
3% RH …………………………. ±3% (10 to 90% RH @ 25°C), Non-condensing
Thermistor ……………………. ±0.36ºF (0.2ºC) from 32 to 158ºF (0 to 70ºC) – High accuracy units are available
RTD ……………………………. ±0.55ºF (0.31ºC) @ 32ºF (0ºC) – High accuracy units are available
Filter: 80 micron sintered stainless steel filter
Output: Selectable via wiring detail
Humidity……………………….. 0 to 5, 1 to 5, 0 to 10 or 2 to 10VDC or 4 to 20mA at 0 to 100% RH
Opt. Temp…………………….. Resistance RTD or Thermistor
Humidity Output Impedance:
Current ………………………… 700Ω@ 24VDC, Voltage drop is 10VDC
(Supply Voltage DC – Transmitter voltage drop 10VDC) / 0.02 Amps = Max load Impedance
Voltage…………………………. 10KΩ
Probe Length:
Duct ……………………………. 5.3” (13.5cm) Duct Insertion, 1” diameter
Outside Air…………………….. 2.4” (6.1cm) Below Enclosure, 1” diameter
Dimensions: W x H x D
Weatherproof (WP) ……….. 2.75” x 4.5” x 2.2”, (70 x 114 x 55 mm)
BAPI-Box (BB) ……………… 4.15” x 5” x 2.5”, (105.4 x 127 x 63.5mm)
BAPI-Box 2 (BB2) …………. 4.9” x 2.8” x 2.35”, (124.8 x 71.6 x 59.7mm)
Termination: Open wire
Crimp ………………………….. 18 to 26 AWG with Sealant Filled Crimp Connector (BA/SFC1000 x00)
Wire Nut……………………….. 26 to 16 AWG with Sealant Filled Wire Nut (BA/SFC2000-x00)
Enclosure Material:
Weatherproof (WP)………… Cast Aluminum
BAPI-Boxes (BB, BB2)…… Polycarbonate, UV resistant
Enclosures Ratings:
Weatherproof (WP)………… NEMA-3R
BAPI-Boxes (BB, BB2)…… NEMA-4, IP66, UL94V-0
Environmental Operation Range: -40º to 158ºF (-40º to 70ºC) • 0% to 100% RH
Approvals: RoHS
Filter Care
A sintered filter protects the humidity sensor from various airborne particles and may need periodic cleaning. To do this, gently unscrew the filter from the probe. Rinse the filter in warm soapy water and rinse until clean. A nylon brush may be used if necessary. Gently replace the filter by screwing it back into the probe. The filter should screw all the way into the probe. Hand tighten only. If a replacement filter is needed, call BAPI.
BA/HDOFS3: Stainless Steel Sintered Filter Replacement for Outside Air Units
Humidity Diagnostics
| Possible Problems: | Possible Solutions: |
| Unit will not operate | – Check for proper supply power. (See page 2 for wiring diagram and power specifications) |
| Humidity output is at its maximum | – Make sure the humidity sensor is wired properly. – Verify humidity with a reference sensor. If humidity drops to 5% or below in the environment, the output will go to the maximum value. |
| Humidity output is at its minimum | – Make sure the humidity sensor is wired properly |
| Humidity reading in controller’s software appears to be off by more than the specified accuracy | – Check all software parameters – Determine if the sensor is exposed to an external air source different from the intended measured environment or reference device. |
| Output | Humidity Formula |
| 4 to 20mA | %RH =(mA-4)/0.16 |
| 0 to 5VDC | %RH = V/0.05 |
| 1 to 5VDC | %RH = (V-1)/0.04 |
| 0 to 10VDC | %RH = V/0.1 |
| 2 to 10VDC | %RH = (V-2)/0.08 |
– Check the Humidity transmitter output against a calibrated reference such as a 2% accurate hygrometer. Measure the humidity at the sensor’s location using the reference meter, then calculate the humidity transmitter output using the humidity formula at left. Compare the calculated output to the actual humidity transmitter output (see the wiring diagram on page 2 for the humidity transmitter output wire colors). If the calculated output differs from the humidity transmitter output by more than 5%, contact BAPI technical support.
Temperature Diagnostics
| Possible Problems: | Possible Solutions: |
| Controller reports Incorrect temperature | – Confirm the input is set up correctly in the controller’s software – Verify that the sensor wires are not physically shorted or open – Check wiring for proper termination – Measure the temperature at the temperature sensor’s location using an accurate temperature standard. Disconnect the temperature sensor wires and measure the temperature sensor’s resistance with an ohmmeter. Compare the temperature sensor’s resistance to the appropriate temperature sensor table on the BAPI website. If the measured resistance is different from the temperature table by more than 5%, call BAPI technical support. BAPI’s web site is found at www.bapihvac.com; click on “Resource Library” and “Sensor Specs” then click on the type of sensor you have. |
Humidity Output DIP Switch Note:
The transmitter circuit board may have a threeposition DIP switch that controls the humidity
output value. This switch is set at the factory at the time of the order. The settings of the switch are shown at right in case you want to change them in the field. Be aware that the power requirements for the unit change depending on the humidity output value. See the
specifications section for power requirements
The black square represents the switch position, i.e., the “0-5 Vout” has all switches in the “off” position
Customer Service
Building Automation Products, Inc., 750 North Royal Avenue, Gays Mills, WI 54631 USA
Tel:+1-608-735-4800
Fax+1-608-735-4804
E-mail: [email protected]
Web: www.bapihvac.com

















