TORO 07413LT Workman® GTX Lithium Utility Vehicle

Ordering Replacement Parts
To order replacement parts, please supply the part number, the quantity, and the description of each part desired.
Understanding Reference Numbers
Each identified part in an illustration has a reference number. The reference number for a part also appears in the parts list, along with other information about the part.
This catalog uses two special reference number formats, one to indicate parts in a service assembly and another to indicate the quantity of a given part in an illustration.
Service Assembly Reference Numbers
Parts in service assemblies have reference numbers in the form a:b. The a represents the reference number of the entire service assembly and the b represents a sequential number unique to each part within the service assembly.
For example, a wheel assembly might be identified by reference number 6, the tire by 6:1, the valve by 6:2, and the wheel by 6:3. When you order the assembly identified by reference number 6, you receive all parts identified by reference numbers 6:1,6:2, and 6:3. However, you may also order any part individually. Reference numbers of this type appear in illustration and in parts lists.
Reference Numbers Indicating Quantity
In an illustration, if a reference number indicates more than one part, the reference number has the form nX y. The n represents the quantity of the part, the X is the multiplication symbol, and the y represents the reference number.
For example, in an illustration, the reference number 2X 37 means that two of the parts identified by reference number 37 are indicated.

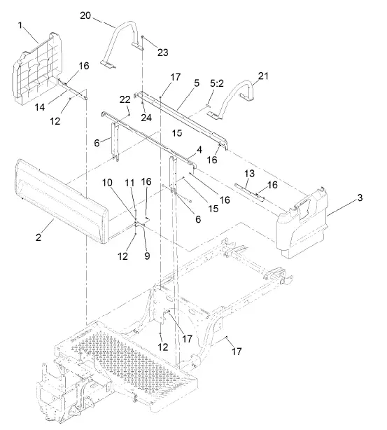
Front Frame and Suspension Assembly
| Ref. | Part Number | Qty. | Description | Ref. | Part Number | Qty. | Description | |
| 1 | 127-7718-03 | 1 | Frame-Front | 18 | 93-0309 | 2 | Washer-Tab | |
| 2 | 139-3360 | 2 | Screw-HF | 19 | 3220-7 | 2 | Nut-Jam | |
| 3 | 139-3380 | 6 | Nut-HF | 20 | 93-0307 | 2 | Nut-Lock, Retainer | |
| 4 | 144-2161 | 2 | Control Arm ASM | 21 | 3272-12 | 2 | Pin-Cotter | |
| 4:2 | 140-4615 | 4 | Bushing-Flange | 22 | 241-119 | 2 | Cap-Dust | |
| 5 | 139-4484 | 2 | Strut ASM, 250 Lb (16.33″ | 23 | 112-1690 | 2 | Seal-Oil | |
| EXT Length) | 26 | 32144-70 | 2 | Screw-HWHTF | ||||
| 5:1 | 131-8574 | 1 | Isolator-Shock | 28 | 131-8339-03 | 1 | Reinforcement-Tower | |
| 5:2 | 137-6719 | 1 | Spring-Compression, 250Lb | 31 | 144-2164 | 1 | Spindle ASM, LH | |
| 6 | 3234-46 | 2 | Screw-HHF | 31:2 | 140-4615 | 2 | Bushing-Flange | |
| 7 | 99-5107 | 2 | Nut-Lock | 32 | 144-2165 | 1 | Spindle ASM, RH | |
| 8 | 131-8581 | 2 | Sleeve-Control Arm, Inner | 32:2 | 140-4615 | 2 | Bushing-Flange | |
| 9 | 131-8583 | 2 | Sleeve-Control Arm, Outer | 34 | 139-4649 | 2 | Aluminum Whl And Tire | |
| 10 | 131-8582 | 2 | Sleeve-Kingpin | ASM | ||||
| 12 | 139-3370 | 2 | Screw-HF | 34:1 | 139-4601 | 1 | Wheel-Aluminum | |
| 13 | 139-3350 | 2 | Screw-HF | 34:1:1 | 140-4570 | 1 | Cap-Aluminum Wheel | |
| 16 | 254-94 | 4 | Bearing-Cone, Tapered | 34:2 | 120-3271 | 1 | Tire | |
| 17 | 127-8851 | 2 | Front Hub ASM | 34:3 | 232-27 | 1 | Stem-Valve | |
| 17:2 | 10-6830 | 4 | Stud-Type, Drive | 35 | 139-3603 | 8 | Nut-Lug | |
| 17:3 | 254-72 | 2 | Bearing-Cup, Tapered |

Floor Plate and Rear Suspension Mount Assembly
| Ref. | Part Number | Qty. | Description | Ref. | Part Number | Qty. | Description | |
| 1 | 104-8301 | 2 | Nut-HF, NI | 9 | 127-7832 | 2 | Bracket-Angle | |
| 2 | 131-8466 | 1 | Mount-Suspension, Rear | 10 | 32144-70 | 16 | Screw-HWHTF | |
| 3 | 127-7820-03 | 1 | Channel-Frame, Front (LH) | 11 | 32144-49 | 4 | Screw-HWHTF | |
| 4 | 127-7821-03 | 1 | Channel-Frame, Front (RH) | 12 | 132-6777 | 4 | Screw-TTH | |
| 5 | 127-7829 | 1 | Plate-Floor | 13 | 104-7201 | 4 | Nut-HF, NI | |
| 6 | 131-8597 | 1 | Plate-Gimbal, Upper | 14 | 110-4549 | 1 | Washer-Snubbing | |
| 7 | 323-42 | 2 | Screw-HH | 15 | 131-8480 | 1 | Isolator | |
| 8 | 127-7837-03 | 2 | Bracket-Support, Floor Plate | 16 | 104-5877 | 1 | Screw-HH |

Rear Frame and Suspension Assembly
| Ref. | Part Number | Qty. | Description | Ref. | Part Number | Qty. | Description | |
| 1 | 140-2498 | 1 | Rear Frame ASM | 14 | 139-4644 | 2 | Clamp, Anti-Sway Bar | |
| 1:2 | 115-2047 | 1 | Decal-Surface, Hot | 15 | 87-3910 | 2 | Bushing-Rubber | |
| 3 | 127-7411-03 | 1 | Bracket-Bar, Stabilizer | 16 | 131-8310-03 | 1 | Bar-Sway, Anti | |
| 4 | 3234-39 | 5 | Screw-HHF | 18 | 3231-22 | 4 | Screw-CARR | |
| 5 | 104-8301 | 9 | Nut-HF, NI | 19 | 131-8346 | 2 | Panel-Side | |
| 6 | 3234-46 | 7 | Screw-HHF | 20 | 125-9622 | 20 | Rivet-Blind | |
| 7 | 99-5107 | 11 | Nut-Lock | 21 | 3290-378 | 2 | Tie-Cable | |
| 8 | 109-5013 | 1 | Panhard Rod ASM | 22 | 74-5950 | 2 | Latch-Swell | |
| 8:2 | 109-5009 | 2 | Bushing-Suspension, | 25 | 137-6741 | 1 | Ball Mount ASM | |
| Rubber | 29 | 139-4648-03 | 1 | Bracket-Stabilizer Bar | ||||
| 8:3 | 109-5010 | 2 | Spacer | [black] | ||||
| 9 | 86-1990 | 6 | Washer-Thrust | 30 | 139-4606 | 2 | Link ASM-Sway Bar | |
| 10 | 131-8315 | 1 | Bracket-Link, Sway Bar | 31 | 140-4573 | 1 | Extended Panel-Cover | |
| 11 | 3234-40 | 4 | Screw-HF | 31:2 | 99-7345 | 1 | Decal-Warning |

Frame Mount and Rear Shock/Spring Assembly
| Ref. | Part Number | Qty. | Description |
| 1 | 3234-39 | 8 | Screw-HHF |
| 2 | 104-8301 | 8 | Nut-HF, NI |
| 3 | 3234-46 | 4 | Screw-HHF |
| 4 | 99-5107 | 4 | Nut-Lock |
| 6 | 139-4608 | 2 | Shock/Spring ASM |
| 6:1 | 131-8574 | 2 | Isolator-Shock |

Brake Assembly
| Ref. | Part Number | Qty. | Description | Ref. | Part Number | Qty. | Description | |
| 1 | 104-6782 | 1 | Master Cylinder ASM | 8:3 | 136-6328 | 2 | Spring-Rattle, Anti ● | |
| 2 | 283-2 | 1 | Pin-Clevis | 9 | 131-8573 | 4 | Screw-HSH | |
| 3 | 1-806003 | 1 | Pin-Cotter | 10 | 119-9509 | 2 | Screw-Bleed | |
| 4 | 139-4474 | 4 | Rotor-Brake | 11 | 115-2341 | 8 | Washer-Banjo | |
| 5 | 121-9671 | 16 | Screw-HSBH | 12 | 120-4875 | 4 | Bolt-Flange, Banjo | |
| 6 | 140-2575 | 2 | Brake Caliper ASM | 14 | 127-7781 | 1 | Brake Line-Front | |
| 7 | 140-2585 | 1 | Brake Caliper ASM, LH | 15 | 127-7782 | 1 | Brake Line-Rear | |
| 7:1 | 140-2595 | 1 | Brake Pad Service Kit (Rear, | 16 | 3234-11 | 2 | Screw-HHF | |
| Qty 4) | 17 | 3290-357 | 2 | Nut-HHF, Whiz | ||||
| 7:2 | 119-9509 | 1 | Screw-Bleed | 19 | 131-8406 | 2 | Cable-Park Brake | |
| 7:3 | 136-6328 | 2 | Spring-Rattle, Anti ● | 20 | 32180-030 | 4 | Clip-Tie | |
| 8 | 140-2590 | 1 | Brake Caliper ASM, RH | 21 | 49-2040 | 2 | Screw-HWHTF | |
| 8:1 | 140-2595 | 1 | Brake Pad Service Kit (Rear, | 22 | 3290-378 | 1 | Tie-Cable | |
| Qty 4) | 24 | 3234-25 | 4 | Screw-HHF | ||||
| 8:2 | 119-9509 | 1 | Screw-Bleed |

Master Cylinder Assembly No. 104-6782
| Ref. | Part Number | Qty. | Description |
| 1 | 104-6845 | 1 | Reservoir ASM |
| 1:1 | 92-4112 | 1 | Cap ASM |
| 2 | 93-8971 | 2 | Seal-Port, Flange |
| 3 | 92-4103 | 1 | Pin-Stop |
| 4 | 92-4102 | 1 | Secondary Piston ASM |
| 5 | 92-4110 | 1 | Clevis |
| 6 | 21-0360 | 1 | Nut-Hex |
| 7 | 94-5209 | 1 | Cover-Dust |
| 8 | 94-5210 | 1 | Rod-Push |
| 9 | 92-4109 | 1 | Ring-Snap |
| 10 | 92-4108 | 1 | Retainer-Washer |
| 11 | 92-4101 | 1 |
|

Brake Caliper Assembly No. 140-2575
| Ref. | Part Number | Qty. | Description |
| 1 | 140-2580 | 1 | Brake Pad Service Kit (Front, Qty 4) |
| 2 | 119-9511 | 1 | Bracket Kit |
| 3 | 133-0614 | 1 | Piston Kit |

Steering Assembly
| Ref. | Part Number | Qty. | Description | Ref. | Part Number | Qty. | Description | |
| 1 | 138-0114 | 1 | Steering Rack ASM | 6 | 116-3515 | 1 | Screw-HH, Special | |
| 1:21 | 140-4591 | 1 | Kit-Tie Rod ASM, Gtx | 7 | 21-9260 | 1 | Cover-Dust | |
| 1:22 | 140-4592 | 1 | Kit-Rod End ASM | 8 | 32144-49 | 4 | Screw-HWHTF | |
| 1:22:2 | 3272-42 | 1 | Pin-Cotter | 9 | 3230-1 | 4 | Bolt-CARR | |
| 1:22:3 | 140-2493 | 1 | Nut-Hex, Slotted | 10 | 104-8300 | 4 | Nut-HF, NI | |
| 2 | 139-3343 | 1 | Steering Column ASM | 11 | 131-0957 | 1 | Wheel-Steering | |
| 3 | 112-3262 | 2 | Bearing | 12 | 3256-26 | 1 | Washer-Flat | |
| 4 | 127-8804 | 1 | Shaft-Steering | 13 | 99-5107 | 1 | Nut-Lock | |
| 5 | 3253-4 | 1 | Washer-Lock | 14 | 131-3630 | 1 | Cap-Wheel, Steering |

Pedal and Control Assembly
| Ref. | Part Number | Qty. | Description | Ref. | Part Number | Qty. | Description | |
| 1 | 127-8817-03 | 1 | Mount-Pedal | 13 | 144-0516 | 1 | Link-Park, Brake | |
| 2 | 138-9385 | 1 | Brake Pedal ASM | 14 | 283-10 | 1 | Pin-Clevis | |
| 2:2 | 256-116 | 2 | Bushing-Flange | 15 | 1-808280 | 1 | Pin-Clevis | |
| 4 | 131-8459 | 1 | Shaft-Pivot | 16 | 1-806003 | 2 | Pin-Cotter | |
| 5 | 49-2040 | 3 | Screw-HWHTF | 17 | 3274-55 | 2 | Screw-HSBH | |
| 6 | 7-3900 | 1 | Pad-Brake | 18 | 104-7201 | 1 | Nut-HF, NI | |
| 7 | 32144-70 | 2 | Screw-HWHTF | 19 | 121-4605 | 1 | Washer-Spring | |
| 8 | 3234-29 | 1 | Screw-HHF | 20 | 131-8496 | 1 | Washer-Plain | |
| 9 | 104-8300 | 3 | Nut-HF, NI | 21 | 108-6496 | 1 | Switch (W/Boot) | |
| 10 | 140-4836-03 | 1 | Mount-Park Brake | 22 | 3290-313 | 2 | Screw-SPH | |
| 11 | 87-3480 | 1 | Bracket-Equalizer, Cable | 23 | 3290-354 | 1 | Nut-Speed | |
| 12 | 131-8320 | 1 | Lever-Brake, Park | 24 | 115-5103 | 1 | Screw-HHF |

Hood and Fender Assembly
| Ref. | Part Number | Qty. | Description | Ref. | Part Number | Qty. | Description | |
| 1 | 132-8530 | 1 | Bumper | 12 | 127-7771 | 1 | Fender-Front, LH | |
| 2 | 131-8455-03 | 1 | Bracket-Headlight, LH | 13 | 127-7772 | 1 | Fender-Front, RH | |
| 3 | 131-8456-03 | 1 | Bracket-Headlight, RH | 14 | 3234-33 | 4 | Screw-HHF | |
| 4 | 46-8091 | 8 | Screw-HWH | 15 | 3256-2 | 4 | Washer-Flat | |
| 5 | 138-9260 | 2 | Headlight ASM | 16 | 104-7201 | 4 | Nut-HF, NI | |
| 6 | 115-2408 | 6 | Clip-Speed | 17 | 32144-70 | 2 | Screw-HWHTF | |
| 7 | 136-6281 | 1 | Hood | 18 | 125-1122 | 2 | Screw | |
| 8 | 117-5094 | 2 | Pin-Clevis | 19 | 131-8402 | 2 | Strap-Down, Hold | |
| 9 | 32121-50 | 2 | Pin-Spring | 20 | 3296-56 | 2 | Nut-Lock, NI | |
| 10 | 112-3308 | 2 | Retainer-Pin | 21 | 140-4585 | 2 | Decal-Fender, Gtx, Lithium | |
| 11 | 121-9605 | 6 | Screw-HWH | 23 | 133-7210 | 1 | Seal-Trim, Hood |

Dash Assembly
| Ref. | Part Number | Qty. | Description | Ref. | Part Number | Qty. | Description | |
| 2 | 127-7846 | 1 | Footboard | 14 | 49-2040 | 8 | Screw-HWHTF | |
| 3 | 127-7847 | 1 | Cover-Footboard | 15 | 140-4584 | 1 | Decal-Dashboard, | |
| 4 | 107-7461 | 2 | Screw-Plastite | Gtx-Lithium | ||||
| 5 | 127-7831-03 | 1 | Angle | 16 | 131-8412 | 1 | Decal-Control Panel, | |
| 6 | 131-8336-03 | 1 | Bracket-Dash, RH | Electric | ||||
| 7 | 131-8335-03 | 1 | Bracket-Dash, LH | 18 | 131-8493 | 1 | Decal-USB | |
| 9 | 132-6777 | 20 | Screw-TTH | 20 | 131-8569-03 | 2 | Bracket-Dash, Side | |
| 10 | 104-7201 | 6 | Nut-HF, NI | 23 | 104-9368 | 1 | Plug-Dome | |
| 11 | 3256-2 | 2 | Washer-Flat | 26 | 140-2486 | 1 | Dash-Gtx Lithium (Service) | |
| 12 | 32144-70 | 4 | Screw-HWHTF | 26:2 | 140-4584 | 1 | Decal-Dashboard, | |
| 13 | 131-8568-03 | 1 | Reinforcement-Dash | Gtx-Lithium |

Seatbase Assembly
| Ref. | Part Number | Qty. | Description | Ref. | Part Number | Qty. | Description | |
| 1 | 127-7805 | 1 | Side-Base, Seat (RH) | 13 | 127-7842-03 | 1 | Bracket-Support, Side (LH) | |
| 2 | 133-7188 | 1 | Panel-Base, Seat | 14 | 127-7843-03 | 1 | Bracket-Support, Side (RH) | |
| 3 | 127-7807 | 1 | Side-Base, Seat (LH) | 15 | 112-6349 | 5 | Screw-HWH | |
| 4 | 133-7345-03 | 1 | Support-Seat | 16 | 120-2349 | 8 | Screw | |
| 5 | 137-6991 | 1 | Seat Support ASM | 17 | 3234-33 | 6 | Screw-HHF | |
| 5:2 | 120-9570 | 1 | Decal-Warning | 20 | 131-8352-05 | 1 | Restraint-Hip, RH | |
| 6 | 127-7841-03 | 2 | Channel-Support, Seat | 21 | 131-8353-05 | 1 | Restraint-Hip, LH | |
| 9 | 127-7844-03 | 2 | Clamp-Plate, Floor | 22 | 46-6810 | 2 | Screw And Washer ASM | |
| 10 | 3256-22 | 2 | Washer-Flat | 23 | 32144-70 | 6 | Screw-HWHTF | |
| 11 | 321-18 | 2 | Screw-HH | 24 | 104-8300 | 6 | Nut-HF, NI | |
| 12 | 104-7201 | 8 | Nut-HF, NI |

Cargo Bed Assembly
| Ref. | Part Number | Qty. | Description |
| 4 | 127-7428-03 | 2 | Striker-Latch, Bed |
| 8 | 3234-39 | 6 | Screw-HHF |
| 9 | 104-8301 | 6 | Nut-HF, NI |
| 16 | 132-8518 | 1 | Bracket-Rod, Prop |

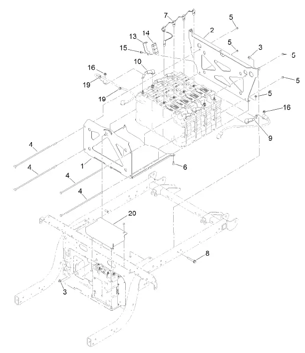
Controller and Charger Assembly
| Ref. | Part Number | Qty. | Description | Ref. | Part Number | Qty. | Description | |
| 1 | 139-4639-03 | 1 | Bracket-Controller, Lithium | 14 | 110-2580 | 1 | Switch-Key, Supervisor | |
| 2 | 137-9651 | 1 | Controller | 14:1 | 1 | Switch-Key ● | ||
| 3 | 139-4600 | 1 | Controller-Sevcon | 14:2 | 108-8660 | 1 | Nut-Mounting | |
| 3:1 | 131-8494 | 1 | Fuse-425 Amp | 14:3 | 110-5221 | 1 | Set-Key, Supervisor | |
| 3:2 | 33094-00 | 6 | Washer-Plain | 14:4 | 108-8659 | 1 | Washer-Backup | |
| 3:3 | 3253-4 | 6 | Washer-Lock | 15 | 131-8527 | 1 | Decal-Mode | |
| 3:4 | 33114-016 | 6 | Screw-HH | 16 | 240-12 | 1 | Grommet-Rubber | |
| 4 | 104-7136 | 1 | Contactor-Trombetta | 17 | 100-4351 | 2 | Screw-HWH | |
| 5 | 104-7201 | 10 | Nut-HF, NI | 18 | 122-1718 | 3 | Battery-Cable, Positive ASM | |
| 6 | 139-4633 | 4 | Screw-Carriage | 19 | 122-1663 | 1 | Harness-Wire, Gtx-Li | |
| 7 | 3229-11 | 2 | Screw-CARR | 20 | 122-1918 | 1 | Harness-Wire, Gtx-Li | |
| 8 | 49-2040 | 12 | Screw-HWHTF | Charger Interface | ||||
| 9 | 139-4629-03 | 1 | Bracket-Charger, Lithium | 21 | 122-1741 | 2 | Cable-Battery, Positive ASM | |
| 10 | 120-2349 | 6 | Screw | 22 | 122-1743 | 1 | Cable-Battery, Positive ASM | |
| 11 | 139-4645 | 1 | Charger-48V Onboard | 23 | 122-1745 | 1 | Cable-Battery, Negative | |
| 11:1 | 140-2494 | 1 | Charger Kit-Service | ASM | ||||
| 12 | 1-807512 | 4 | Bolt-CARR | 24 | 122-1667 | 1 | Harness-Wire, | |
| 13 | 42862 | 1 | Block-Terminal, Ground | Interface(System) |

| c | Part Number | Qty. | Description | Ref. | Part Number | Qty. | Description | |
| 25 | 140-4628 | 1 | Cordset W/Filter | 36 | 3250-26 | 2 | Screw-PPH | |
| 26 | 138-9299 | 1 | Bracket-Fuse Block | 37 | 3296-54 | 2 | Nut-Lock | |
| 27 | 32180-030 | 4 | Clip-Tie | 38 | 140-2488 | 4 | Nut-HF | |
| 28 | 140-2496-05 | 1 | Bracket-Charger Outlet | 39 | 140-2487 | 1 | Decal-Fuse Block, 48V | |
| ASM [blk | 40 | 121-8884 | 1 | Fuse-Mini Blade, 30 Amp | ||||
| 29 | 140-4579 | 1 | Retainer-Isolator | 41 | 3290-378 | 1 | Tie-Cable | |
| 30 | 131-8420 | 1 | Isolator-Clamp | 42 | 140-4590 | 1 | Decal-Charger Input Lithium | |
| 31 | 240-7 | 1 | Grommet-Rubber | 43 | 122-1744 | 1 | Cable-Battery, Negative | |
| 32 | 1-633630 | 2 | Grommet | ASM | ||||
| 33 | 99-5105 | 2 | Screw-Shoulder | 44 | 42863 | 1 | Strip-Jumper | |
| 35 | 107-0380 | 2 | Nut-HHF |

Accelerator Pedal and Horn Assembly
| Ref. | Part Number | Qty. | Description | Ref. | Part Number | Qty. | Description | |
| 1 | 122-2152 | 1 | Controller, Tdm-1601 | 9 | 99-7420 | 2 | Plug-Hole | |
| 2 | 137-7952 | 1 | Converter-DC-DC | 10 | 95-8999 | 1 | Switch | |
| 3 | 99-8445 | 2 | Screw-HWH | 11 | 121-9675 | 1 | Pedal-Accelerator | |
| 4 | 106-5269 | 1 | Ignition Switch ASM | 12 | 3234-29 | 3 | Screw-HHF | |
| 4:2 | 108-8660 | 1 | Nut-Mounting | 13 | 104-8300 | 3 | Nut-HF, NI | |
| 4:3 | 106-5270 | 1 | Ignition Key Set | 14 | 107-0358 | 1 | Horn | |
| 4:4 | 108-8659 | 1 | Washer-Backup | 15 | 3234-5 | 1 | Screw-HHF | |
| 5 | 122-0784 | 1 | Switch-Rocker, On-Off-On | 16 | 104-8300 | 1 | Nut-HF, NI | |
| 6 | 131-8388 | 1 | Socket-USB | 17 | 112-3324 | 1 | Switch-Horn | |
| 7 | 122-1488 | 1 | Relay | 18 | 112-3313 | 1 | Nut-Weatherproof | |
| 8 | 32144-1 | 1 | Screw-Taptite |

| Ref. | Part Number | Qty. | Description | Ref. | Part Number | Qty. | Description | |
| 1 | 139-4609-03 | 1 | Front Bracket ASM [black] | 10 | 122-1697 | 3 | Cable-Battery, Negative | |
| 2 | 139-4636-03 | 1 | Bracket-Rear, Lithium | 13 | 131-8482 | 1 | Retainer-Isolator | |
| 3 | 104-8301 | 3 | Nut-HF, NI | 14 | 131-8420 | 1 | Isolator-Clamp | |
| 4 | 139-4628 | 4 | Screw-CARR | 15 | 49-2040 | 1 | Screw-HWHTF | |
| 5 | 104-7201 | 6 | Nut-HF, NI | 16 | 140-2488 | 8 | Nut-HF | |
| 6 | 1-807512 | 2 | Bolt-CARR | 17 | 107-0384 | 1 | Powercord-AC ● | |
| 7 | 122-1716 | 1 | Cable-Data, Samsung M/S | 19 | 32180-030 | 2 | Clip-Tie | |
| 8 | 3234-39 | 2 | Screw-HHF | 20 | 140-4799-03 | 1 | Bracket-Shield, Bms | |
| 9 | 122-1696 | 3 | Cable-Battery, Positive |

| Ref. | Part Number | Qty. | Description | Ref. | Part Number | Qty. | Description | |
| 1 | 140-2568-03 | 1 | Gtx-E Swing Arm ASM | 9:1:1 | 140-4570 | 1 | Cap-Aluminum Wheel | |
| [black] | 9:2 | 120-3271 | 1 | Tire | ||||
| 2 | 136-6340 | 1 | Transaxle ASM | 9:3 | 232-27 | 1 | Stem-Valve | |
| 3 | 131-8570 | 2 | Spacer-Hardened | 10 | 139-3603 | 8 | Nut-Lug | |
| 4 | 140-4849 | 2 | Hub ASM, Rear | 11 | 1-806800 | 2 | Pin-Cotter | |
| 4:2 | 10-6830 | 4 | Stud-Type, Drive | 12 | 127-8859 | 1 | Bellows-Breather | |
| 5 | 33103-030 | 6 | Screw-HHF | 13 | 137-6936 | 1 | Motor-AC | |
| 6 | 131-8416 | 1 | Bracket-Cable | 14 | 131-8482 | 1 | Retainer-Isolator | |
| 7 | 92-5836 | 2 | Washer | 15 | 131-8420 | 1 | Isolator-Clamp | |
| 8 | 32136-5 | 2 | Nut-Hex, Slotted | 16 | 49-2040 | 1 | Screw-HWHTF | |
| 9 | 139-4649 | 2 | Aluminum Whl And Tire | 17 | 2412-146 | 1 | Clamp-Hose | |
| ASM | 18 | 137-9984 | 1 | Decal-Load, Towing | ||||
| 9:1 | 139-4601 | 1 | Wheel-Aluminum | 99 | 107-0392 | 1 | Protection-Terminal, Aerosol |

| Ref. | Part Number | Qty. | Description | Ref. | Part Number | Qty. | Description | |
| 1 | 133-2447 | 1 | Housing-Axle | 15 | 133-2461 | 1 | Differential ASM | |
| 2 | 133-2448 | 4 | Bolt-Cap, Bearing | 16 | 133-2462 | 4 | Bolt-HHF | |
| 3 | 133-2485 | 1 | Gear-Input | 17 | 133-2463 | 4 | Nut-Lock | |
| 4 | 133-2450 | 3 | Ring-Retaining | 18 | 133-2487 | 1 | Input Gear Kit | |
| 5 | 133-2451 | 3 | O-Ring | 19 | 136-6341 | 1 | Plate-Cover | |
| 6 | 133-2452 | 1 | Bearing-Ball | 20 | 133-2466 | 1 | Plug-HH | |
| 7 | 133-2453 | 1 | Bearing-Ball | 21 | 133-2467 | 10 | Screw-Tapping | |
| 8 | 133-2454 | 1 | Seal-Oil | 22 | 133-2468 | 1 | Elbow-Hose | |
| 9 | 133-2455 | 2 | Plug-Cap, End | 23 | 133-2469 | 1 | Shaft-Axle, LH | |
| 10 | 133-2456 | 2 | Bearing-Ball | 24 | 133-2470 | 1 | Shaft-Axle, RH | |
| 11 | 133-2486 | 1 | Intermediate Gear ASM | 25 | 112-3140 | 2 | Seal-Oil | |
| 12 | 133-2458 | 2 | O-Ring | 26 | 133-2472 | 4 | Ring-Retaining | |
| 13 | 133-2459 | 1 | Gear-Drive, Final | 27 | 108-2425 | 2 | Bearing-Ball | |
| 14 | 133-2460 | 2 | Bearing-Ball | 28 | 108-2409 | 1 | Internal Gear Kit |

Electric Motor Assembly No. 137-6936
| Ref. | Part Number | Qty. | Description |
| 1 | 132-4924 | 1 | Bracket-End, Drive |
| 3 | 132-4925 | 1 | Sensor |
| 4 | 132-4926 | 1 | Screw |
| 6 | 132-4927 | 1 | Plate-Connection |
| 7 | 132-4928 | 1 | Bracket-End, Rear |
| 8 | 132-4929 | 1 | Bearing |

Battery Assembly No. 04070
Ref. Part Number Qty. Description
1 1 Battery Service ASM ●
1:2 137-9712 1 Decal-Safety
Attachments and Accessories
For 07413LT Workman GTX Lithium Utility Vehicle
Product Name Model/Part
- Workman GTX 2-Person Canopy …………………………………………………………………………………………… 07921
- 48V Electric Lift Kit……………………………………………………………………………………………………………….. 07143
- Door Mount Mirror Kit……………………………………………………………………………………………………….. 136-1997
- Brush Guard Kit …………………………………………………………………………………………………………………… 07145
- Front Hitch Kit, Workman GTX Series Utility Vehicles with Brush Guard ……………………………………….. 07146
- Small Seat Cover…………………………………………………………………………………………………………….. 131-6690
- Front Hitch Kit, Workman GTX or MDX Series Utility Vehicles without Brush Guard ………………………… 07147
- Steel Flat Bed Kit …………………………………………………………………………………………………………………. 07148
- Storage Box Kit……………………………………………………………………………………………………………………. 07156
- Brake and Signal Light Kit…………………………………………………………………………………………………. 132-8579
- Walk Spreader Mounting Kit ………………………………………………………………………………………………….. 07029
- 6in L-Track Kit……………………………………………………………………………………………………………………… 07158
- 2in L-Track Kit……………………………………………………………………………………………………………………… 07159
- Hose Reel Mounting Kit ………………………………………………………………………………………………………… 07027
- Horn Kit………………………………………………………………………………………………………………………….. 133-3017
- Beacon Kit ……………………………………………………………………………………………………………………… 130-5484
- Reverse Alarm Kit……………………………………………………………………………………………………………. 131-8549
- Power Point Kit ……………………………………………………………………………………………………………….. 131-8550
- Exterior Mirror Kit…………………………………………………………………………………………………………….. 130-5448
- Power Converter Kit…………………………………………………………………………………………………………. 133-0959
- Trash Can Mounting Kit ………………………………………………………………………………………………………… 07028
- Bed Rack Kit ……………………………………………………………………………………………………………………….. 07031
- Cab Kit……………………………………………………………………………………………………………………………….. 07142
- Mount-Ball ……………………………………………………………………………………………………………………….133-7116
- Road Light and Homologation Kit ………………………………………………………………………………………. 133-7128
- 48V 6 Foot Bed Electric Lift Kit……………………………………………………………………………………………….. 07168
- Cab Mount Kit, Workman GTX Utility Vehicle with Extended Flatbed ……………………………………….. 133-7198
- Service Hood ASM ………………………………………………………………………………………………………….. 133-7209
- ROPS Kit ……………………………………………………………………………………………………………………………. 07032
- Cargo Bed Kit ……………………………………………………………………………………………………………………… 07046
- Bench Seat Base Kit…………………………………………………………………………………………………………….. 07047
- Bucket Seat Base Kit ……………………………………………………………………………………………………………. 07048
- Small Bedrack Mount Grip Kit ……………………………………………………………………………………………..136-6311
- Large Bedrack Mount Grip Kit……………………………………………………………………………………………. 136-6312
- Plate-Skid ………………………………………………………………………………………………………………….. 137-2887-03
- Ignition Switch ASM (Key1) ………………………………………………………………………………………………. 138-3505
- Ignition Switch ASM (Key2) ………………………………………………………………………………………………. 138-3506
- Ignition Switch ASM (Key3) ………………………………………………………………………………………………. 138-3507
- Ignition Switch ASM (Key4) ………………………………………………………………………………………………. 138-3508
- Ignition Switch ASM (Key5) ………………………………………………………………………………………………. 138-3509
- Glove Box Cover Kit ………………………………………………………………………………………………………… 137-2883
- Folding Windshield Kit, Workman GTX Utility Vehicle with Canopy………………………………………………. 07923
- Work Light Kit …………………………………………………………………………………………………………………. 130-5485
- Interior Mirror Kit ……………………………………………………………………………………………………………… 130-5449
- Windshield Washer Fluid Kit, 2015 and after Workman MD/HD Series Utility Vehicle ………………….. 130-5615
- Wide Angle Mirror Kit ……………………………………………………………………………………………………….. 133-1009
- Wide Angle Mirror Kit ……………………………………………………………………………………………………….. 133-1038
- Bracket-Mount, Radio……………………………………………………………………………………………………133-7111-03
- Wireless Hourmeter Finish Kit …………………………………………………………………………………………… 139-4627
- GTX Ball Cage ROPS, Certified……………………………………………………………………………………………… 07161
- Canopy W/ ROPS………………………………………………………………………………………………………………… 07169
- Canopy Mount Kit, Workman GTX Utility Vehicle with Extended Flatbed ………………………………………. 07199

















