TORO 07413LT Workman® GTX Electric Utility Vehicle

Ordering Replacement Parts
To order replacement parts, please supply the part number, the quantity, and the description of each part desired.
Understanding Reference Numbers
- Each identified part in an illustration has a reference number. The reference number for a part also appears in the parts list, along with other information about the part.
- This catalog uses two special reference number formats, one to indicate parts in a service assembly and another to indicate the quantity of a given part in an illustration.
Service Assembly Reference Numbers
Parts in service assemblies have reference numbers in the form a:b. The a represents the reference number of the entire service assembly and the b represents a sequential number unique to each part within the service assembly.
For example, a wheel assembly might be identified by reference number 6, the tire by 6:1, the valve by 6:2, and the wheel by 6:3. When you order the assembly identified by reference number 6, you receive all parts identified by reference numbers 6:1,6:2, and 6:3. However, you may also order any part individually. Reference numbers of this type appear in illustration and in parts lists.
Reference Numbers Indicating Quantity
- In an illustration, if a reference number indicates more than one part, the reference number has the form nX y. The n represents the quantity of the part, the X is the multiplication symbol, and the y represents the reference number.
- For example, in an illustration, the reference number 2X 37 means that two of the parts identified by reference number 37 are indicated.
Front Frame and Suspension Assembly
| Ref. | Part Number | Qty. | Description | Ref. | Part Number | Qty. | Description | |
| 1 | 127-7718-03 | 1 | Frame-Front | 18 | 93-0309 | 2 | Washer-Tab | |
| 2 | 139-3360 | 2 | Screw-HF | 19 | 3220-7 | 2 | Nut-Jam | |
| 3 | 139-3380 | 6 | Nut-HF | 20 | 93-0307 | 2 | Nut-Lock, Retainer | |
| 4 | 139-4465 | 2 | A-Arm | 21 | 3272-12 | 2 | Pin-Cotter | |
| 5 | 139-4484 | 2 | Strut ASM, 250 Lb (16.33″ | 22 | 241-119 | 2 | Cap-Dust | |
| EXT Length) | 23 | 112-1690 | 2 | Seal-Oil | ||||
| 5:1 | 131-8574 | 1 | Isolator-Shock | 26 | 32144-70 | 2 | Screw-HWHTF | |
| 5:2 | 137-6719 | 1 | Spring-Compression, 250Lb | 27 | 302-5 | 2 | Fitting-Grease | |
| 6 | 3234-46 | 2 | Screw-HHF | 28 | 131-8339-03 | 1 | Reinforcement-Tower | |
| 7 | 99-5107 | 2 | Nut-Lock | 29 | 302-60 | 4 | Fitting-Grease | |
| 8 | 131-8581 | 2 | Sleeve-Control Arm, Inner | 30 | 237-54 | 12 | O-Ring | |
| 9 | 131-8583 | 2 | Sleeve-Control Arm, Outer | 31 | 138-9392 | 1 | Spindle 2″ Offset, LH | |
| 10 | 131-8582 | 2 | Sleeve-Kingpin | 32 | 138-9394 | 1 | Spindle 2″ Offset, RH | |
| 11 | 133-0643 | 12 | Bushing-Flange, O-Ring | 34 | 139-4649 | 2 | Aluminum Whl And Tire | |
| 12 | 139-3370 | 2 | Screw-HF | ASM | ||||
| 13 | 139-3350 | 2 | Screw-HF | 34:1 | 139-4601 | 1 | Wheel-Aluminum | |
| 16 | 254-94 | 4 | Bearing-Cone, Tapered | 34:1:1 | 140-4570 | 1 | Cap-Aluminum Wheel | |
| 17 | 127-8851 | 2 | Front Hub ASM | 34:2 | 120-3271 | 1 | Tire | |
| 17:2 | 10-6830 | 4 | Stud-Type, Drive | 34:3 | 232-27 | 1 | Stem-Valve | |
| 17:3 | 254-72 | 2 | Bearing-Cup, Tapered | 35 | 139-3603 | 8 | Nut-Lug |
Floor Plate and Rear Suspension Mount Assembly
| Ref. | Part Number | Qty. | Description | Ref. | Part Number | Qty. | Description | |
| 1 | 104-8301 | 2 | Nut-HF, NI | 9 | 127-7832 | 2 | Bracket-Angle | |
| 2 | 131-8466 | 1 | Mount-Suspension, Rear | 10 | 32144-70 | 16 | Screw-HWHTF | |
| 3 | 127-7820-03 | 1 | Channel-Frame, Front (LH) | 11 | 32144-49 | 4 | Screw-HWHTF | |
| 4 | 127-7821-03 | 1 | Channel-Frame, Front (RH) | 12 | 132-6777 | 4 | Screw-TTH | |
| 5 | 127-7829 | 1 | Plate-Floor | 13 | 104-7201 | 4 | Nut-Flange, NI | |
| 6 | 131-8597 | 1 | Plate-Gimbal, Upper | 14 | 110-4549 | 1 | Washer-Snubbing | |
| 7 | 323-42 | 2 | Screw-HH | 15 | 131-8480 | 1 | Isolator | |
| 8 | 127-7837-03 | 2 | Bracket-Support, Floor Plate | 16 | 104-5877 | 1 | Screw-HH |
Rear Frame and Suspension Assembly
| Ref. | Part Number | Qty. | Description | Ref. | Part Number | Qty. | Description | |
| 1 | 131-8594 | 1 | *obs* Rear Frame ASM | 14 | 139-4644 | 2 | Clamp, Anti-Sway Bar | |
| 1:2 | 115-2047 | 1 | Decal-Surface, Hot | 15 | 87-3910 | 2 | Bushing-Rubber | |
| 3 | 127-7411-03 | 1 | Bracket-Bar, Stabilizer | 16 | 131-8310-03 | 1 | Bar-Sway, Anti | |
| 4 | 3234-39 | 5 | Screw-HHF | 18 | 3231-22 | 4 | Screw-CARR | |
| 5 | 104-8301 | 9 | Nut-HF, NI | 19 | 131-8346 | 2 | Panel-Side | |
| 6 | 3234-46 | 7 | Screw-HHF | 20 | 125-9622 | 20 | Rivet-Blind | |
| 7 | 99-5107 | 11 | Nut-Lock | 21 | 3290-378 | 2 | Tie-Cable | |
| 8 | 109-5013 | 1 | Panhard Rod ASM | 22 | 74-5950 | 2 | Latch-Swell | |
| 8:2 | 109-5009 | 2 | Bushing-Suspension, | 25 | 137-6741 | 1 | Ball Mount ASM | |
| Rubber | 29 | 139-4648-03 | 1 | Bracket-Stabilizer Bar | ||||
| 8:3 | 109-5010 | 2 | Spacer | [black] | ||||
| 9 | 86-1990 | 6 | Washer-Thrust | 30 | 139-4606 | 2 | Link ASM-Sway Bar | |
| 10 | 131-8315 | 1 | Bracket-Link, Sway Bar | 31 | 140-4573 | 1 | Extended Panel-Cover | |
| 11 | 3234-40 | 4 | Screw-HF | 31:2 | 99-7345 | 1 | Decal-Warning |
Frame Mount and Rear Shock/Spring Assembly
| Ref. | Part Number | Qty. | Description |
| 1 | 3234-39 | 8 | Screw-HHF |
| 2 | 104-8301 | 8 | Nut-HF, NI |
| 3 | 3234-46 | 4 | Screw-HHF |
| 4 | 99-5107 | 4 | Nut-Lock |
| 6 | 139-4608 | 2 | Shock/Spring ASM |
| 6:1 | 131-8574 | 2 | Isolator-Shock |
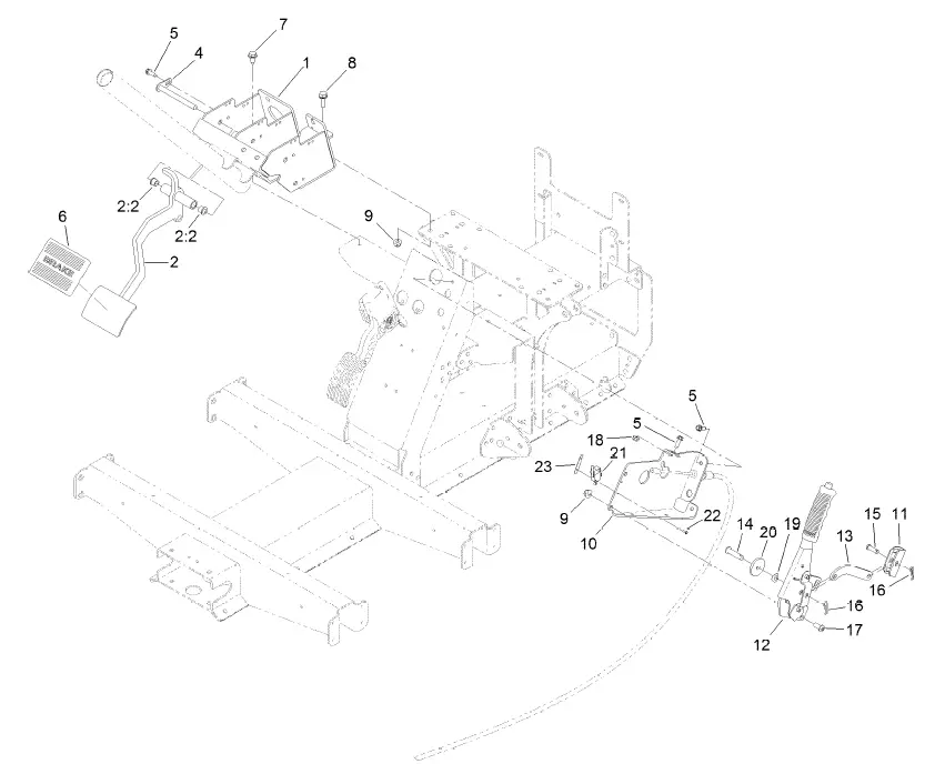
Brake Assembly
| Ref. | Part Number | Qty. | Description | Ref. | Part Number | Qty. | Description | |
| 1 | 104-6782 | 1 | Master Cylinder ASM | 8:3 | 136-6328 | 2 | Spring-Rattle, Anti ● | |
| 2 | 283-2 | 1 | Pin-Clevis | 9 | 131-8573 | 4 | Screw-HSH | |
| 3 | 1-806003 | 1 | Pin-Cotter | 10 | 119-9509 | 2 | Screw-Bleed | |
| 4 | 139-4474 | 4 | Rotor-Brake | 11 | 115-2341 | 8 | Washer-Banjo | |
| 5 | 121-9671 | 16 | Screw-HSBH | 12 | 120-4875 | 4 | Bolt-Flange, Banjo | |
| 6 | 140-2575 | 2 | Brake Caliper ASM | 14 | 127-7781 | 1 | Brake Line-Front | |
| 7 | 140-2585 | 1 | Brake Caliper ASM, LH | 15 | 127-7782 | 1 | Brake Line-Rear | |
| 7:1 | 140-2595 | 1 | Brake Pad Service Kit (Rear, | 16 | 3234-11 | 2 | Screw-HHF | |
| Qty 4) | 17 | 3290-357 | 2 | Nut-HHF, Whiz | ||||
| 7:2 | 119-9509 | 1 | Screw-Bleed | 19 | 131-8406 | 2 | Cable-Park Brake | |
| 7:3 | 136-6328 | 2 | Spring-Rattle, Anti ● | 20 | 32180-030 | 4 | Clip-Tie | |
| 8 | 140-2590 | 1 | Brake Caliper ASM, RH | 21 | 49-2040 | 2 | Screw-HWHTF | |
| 8:1 | 140-2595 | 1 | Brake Pad Service Kit (Rear, | 22 | 3290-378 | 1 | Tie-Cable | |
| Qty 4) | 24 | 3234-25 | 4 | Screw-HHF | ||||
| 8:2 | 119-9509 | 1 | Screw-Bleed |
Master Cylinder Assembly No. 104-6782
| Ref. | Part Number | Qty. | Description |
| 1 | 104-6845 | 1 | Reservoir ASM |
| 1:1 | 92-4112 | 1 | Cap ASM |
| 2 | 93-8971 | 2 | Seal-Port, Flange |
| 3 | 92-4103 | 1 | Pin-Stop |
| 4 | 92-4102 | 1 | Secondary Piston ASM |
| 5 | 92-4110 | 1 | Clevis |
| 6 | 21-0360 | 1 | Nut-Hex |
| 7 | 94-5209 | 1 | Cover-Dust |
| 8 | 94-5210 | 1 | Rod-Push |
| 9 | 92-4109 | 1 | Ring-Snap |
| 10 | 92-4108 | 1 | Retainer-Washer |
| 11 | 92-4101 | 1 | Primary Piston ASM |
Brake Caliper Assembly No. 140-2575
| Ref. | Part Number | Qty. | Description |
| 1 | 140-2580 | 1 | Brake Pad Service Kit (Front, Qty 4) |
| 2 | 119-9511 | 1 | Bracket Kit |
| 3 | 133-0614 | 1 | Piston Kit |
Steering Assembly
| Ref. | Part Number | Qty. | Description | Ref. | Part Number | Qty. | Description | |
| 1 | 138-0114 | 1 | Steering Rack ASM | 7 | 21-9260 | 1 | Cover-Dust | |
| 1:15 | 138-0119 | 2 | Rod-Tie, Inner | 8 | 32144-49 | 4 | Screw-HWHTF | |
| 1:16 | 138-0130 | 2 | Bellows-Steering | 9 | 3230-1 | 4 | Bolt-CARR | |
| 1:19 | 138-0133 | 2 | Rod End-Steering | 10 | 104-8300 | 4 | Nut-HF, NI | |
| 2 | 139-3343 | 1 | Steering Column ASM | 11 | 131-0957 | 1 | Wheel-Steering | |
| 3 | 112-3262 | 2 | Bearing | 12 | 3256-26 | 1 | Washer-Flat | |
| 4 | 127-8804 | 1 | Shaft-Steering | 13 | 99-5107 | 1 | Nut-Lock | |
| 5 | 3253-4 | 1 | Washer-Lock | 14 | 131-3630 | 1 | Cap-Wheel, Steering | |
| 6 | 116-3515 | 1 | Screw-HH, Special |
Brake Pedal and Parking Brake Lever Assembly
| Ref. | Part Number | Qty. | Description | Ref. | Part Number | Qty. | Description | |
| 1 | 127-8817-03 | 1 | Mount-Pedal | 13 | 127-8836-03 | 1 | Link-Brake, Park | |
| 2 | 138-9385 | 1 | Brake Pedal ASM | 14 | 283-10 | 1 | Pin-Clevis | |
| 2:2 | 256-116 | 2 | Bushing-Flange | 15 | 1-808280 | 1 | Pin-Clevis | |
| 4 | 131-8459 | 1 | Shaft-Pivot | 16 | 1-806003 | 2 | Pin-Cotter | |
| 5 | 49-2040 | 4 | Screw-HWHTF | 17 | 3274-55 | 2 | Screw-HSBH | |
| 6 | 7-3900 | 1 | Pad-Brake | 18 | 104-7201 | 1 | Nut-Flange, NI | |
| 7 | 32144-70 | 2 | Screw-HWHTF | 19 | 121-4605 | 1 | Washer-Spring | |
| 8 | 3234-29 | 1 | Screw-HHF | 20 | 131-8496 | 1 | Washer-Plain | |
| 9 | 104-8300 | 3 | Nut-HF, NI | 21 | 108-6496 | 1 | Switch (W/Boot) | |
| 10 | 127-8834-03 | 1 | Mount-Brake, Park | 22 | 3290-313 | 2 | Screw-SPH | |
| 11 | 87-3480 | 1 | Bracket-Equalizer, Cable | 23 | 3290-354 | 1 | Nut-Speed | |
| 12 | 131-8320 | 1 | Lever-Brake, Park |
Hood and Fender Assembly
| Ref. | Part Number | Qty. | Description | Ref. | Part Number | Qty. | Description | |
| 1 | 132-8530 | 1 | Bumper | 12 | 127-7771 | 1 | Fender-Front, LH | |
| 2 | 131-8455-03 | 1 | Bracket-Headlight, LH | 13 | 127-7772 | 1 | Fender-Front, RH | |
| 3 | 131-8456-03 | 1 | Bracket-Headlight, RH | 14 | 3234-33 | 4 | Screw-HHF | |
| 4 | 46-8091 | 8 | Screw-HWH | 15 | 3256-2 | 4 | Washer-Flat | |
| 5 | 138-9260 | 2 | Headlight ASM | 16 | 104-7201 | 4 | Nut-Flange, NI | |
| 6 | 115-2408 | 6 | Clip-Speed | 17 | 32144-70 | 2 | Screw-HWHTF | |
| 7 | 136-6281 | 1 | Hood | 18 | 125-1122 | 2 | Screw | |
| 8 | 117-5094 | 2 | Pin-Clevis | 19 | 131-8402 | 2 | Strap-Down, Hold | |
| 9 | 32121-50 | 2 | Pin-Spring | 20 | 3296-56 | 2 | Nut-Lock, NI | |
| 10 | 112-3308 | 2 | Retainer-Pin | 21 | 140-4585 | 2 | Decal-Fender, Gtx, Lithium | |
| 11 | 121-9605 | 6 | Screw-HWH | 23 | 133-7210 | 1 | Seal-Trim, Hood |
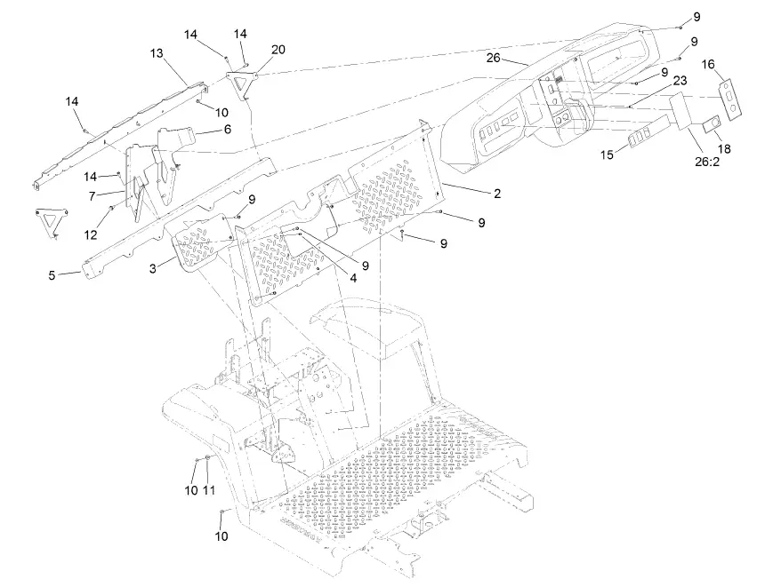
Dash Assembly
| Ref. | Part Number | Qty. | Description | Ref. | Part Number | Qty. | Description | |
| 2 | 127-7846 | 1 | Footboard | 14 | 49-2040 | 8 | Screw-HWHTF | |
| 3 | 127-7847 | 1 | Cover-Footboard | 15 | 140-4584 | 1 | Decal-Dashboard, | |
| 4 | 107-7461 | 2 | Screw-Plastite | Gtx-Lithium | ||||
| 5 | 127-7831-03 | 1 | Angle | 16 | 131-8412 | 1 | Decal-Control Panel, | |
| 6 | 131-8336-03 | 1 | Bracket-Dash, RH | Electric | ||||
| 7 | 131-8335-03 | 1 | Bracket-Dash, LH | 18 | 131-8493 | 1 | Decal-USB | |
| 9 | 132-6777 | 20 | Screw-TTH | 20 | 131-8569-03 | 2 | Bracket-Dash, Side | |
| 10 | 104-7201 | 6 | Nut-Flange, NI | 23 | 104-9368 | 1 | Plug-Dome | |
| 11 | 3256-2 | 2 | Washer-Flat | 26 | 140-2486 | 1 | Dash-Gtx Lithium (Service) | |
| 12 | 32144-70 | 4 | Screw-HWHTF | 26:2 | 140-4584 | 1 | Decal-Dashboard, | |
| 13 | 131-8568-03 | 1 | Reinforcement-Dash | Gtx-Lithium |
Seatbase Assembly
| Ref. | Part Number | Qty. | Description | Ref. | Part Number | Qty. | Description | |
| 1 | 127-7805 | 1 | Side-Base, Seat (RH) | 13 | 127-7842-03 | 1 | Bracket-Support, Side (LH) | |
| 2 | 133-7188 | 1 | Panel-Base, Seat | 14 | 127-7843-03 | 1 | Bracket-Support, Side (RH) | |
| 3 | 127-7807 | 1 | Side-Base, Seat (LH) | 15 | 112-6349 | 5 | Screw-HWH | |
| 4 | 133-7345-03 | 1 | Support-Seat | 16 | 120-2349 | 8 | Screw | |
| 5 | 137-6991 | 1 | Seat Support ASM | 17 | 3234-33 | 6 | Screw-HHF | |
| 5:2 | 120-9570 | 1 | Decal-Warning | 20 | 131-8352-05 | 1 | Restraint-Hip, RH | |
| 6 | 127-7841-03 | 2 | Channel-Support, Seat | 21 | 131-8353-05 | 1 | Restraint-Hip, LH | |
| 9 | 127-7844-03 | 2 | Clamp-Plate, Floor | 22 | 46-6810 | 2 | Screw And Washer ASM | |
| 10 | 3256-22 | 2 | Washer-Flat | 23 | 32144-70 | 6 | Screw-HWHTF | |
| 11 | 321-18 | 2 | Screw-HH | 24 | 104-8300 | 6 | Nut-HF, NI | |
| 12 | 104-7201 | 8 | Nut-Flange, NI |
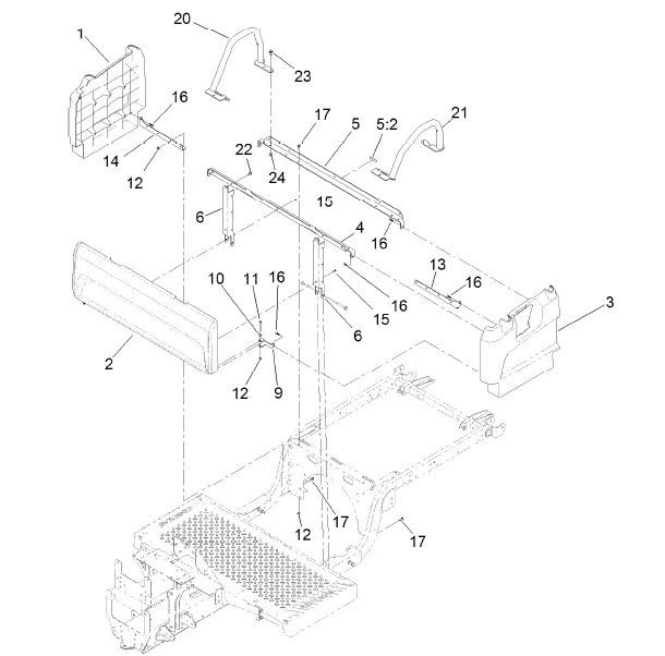
Cargo Bed Assembly
| Ref. | Part Number | Qty. | Description |
| 4 | 127-7428-03 | 2 | Striker-Latch, Bed |
| 8 | 3234-39 | 6 | Screw-HHF |
| 9 | 104-8301 | 6 | Nut-HF, NI |
| 16 | 132-8518 | 1 | Bracket-Rod, Prop |
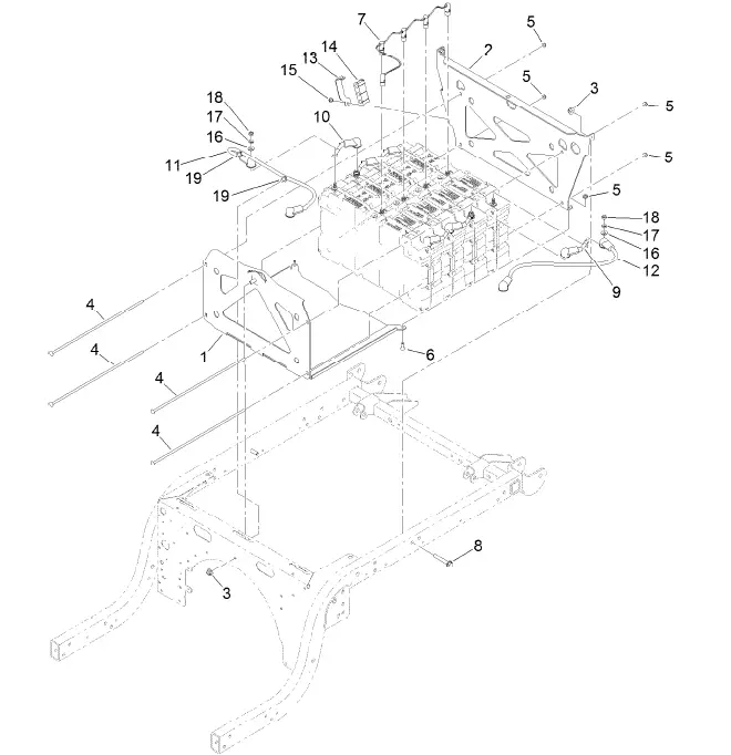
Controller and Charger Assembly
| Ref. | Part Number | Qty. | Description | Ref. | Part Number | Qty. | Description | |
| 1 | 139-4639-03 | 1 | Bracket-Controller, Lithium | 14 | 110-2580 | 1 | Switch-Key, Supervisor | |
| 2 | 137-9651 | 1 | Controller | 14:1 | 1 | Switch-Key ● | ||
| 3 | 139-4600 | 1 | Controller-Sevcon | 14:2 | 108-8660 | 1 | Nut-Mounting | |
| 3:1 | 131-8494 | 1 | Fuse-425 Amp | 14:3 | 110-5221 | 1 | Set-Key, Supervisor | |
| 3:2 | 33094-00 | 6 | Washer-Plain | 14:4 | 108-8659 | 1 | Washer-Backup | |
| 3:3 | 3253-4 | 6 | Washer-Lock | 15 | 131-8527 | 1 | Decal-Mode | |
| 3:4 | 33114-016 | 6 | Screw-HH | 16 | 240-12 | 1 | Grommet-Rubber | |
| 4 | 104-7136 | 1 | Contactor-Trombetta | 17 | 100-4351 | 2 | Screw-HWH | |
| 5 | 104-7201 | 10 | Nut-Flange, NI | 18 | 122-1718 | 3 | Battery-Cable, Positive ASM | |
| 6 | 139-4633 | 4 | Screw-Carriage | 19 | 122-1663 | 1 | Harness-Wire, Gtx-Li | |
| 7 | 3229-11 | 2 | Screw-CARR | 20 | 122-1918 | 1 | Harness-Wire, Gtx-Li | |
| 8 | 49-2040 | 12 | Screw-HWHTF | Charger Interface | ||||
| 9 | 139-4629-03 | 1 | Bracket-Charger, Lithium | 21 | 122-1741 | 2 | Cable-Battery, Positive ASM | |
| 10 | 120-2349 | 6 | Screw | 22 | 122-1743 | 1 | Cable-Battery, Positive ASM | |
| 11 | 139-4645 | 1 | Charger-48V Onboard | 23 | 122-1745 | 1 | Cable-Battery, Negative | |
| 11:1 | 140-2494 | 1 | Charger Kit-Service | ASM | ||||
| 12 | 1-807512 | 4 | Bolt-CARR | 24 | 122-1667 | 1 | Harness-Wire, | |
| 13 | 42862 | 1 | Block-Terminal, Ground | Interface(System) |

| Ref. | Part Number | Qty. | Description | Ref. | Part Number | Qty. | Description | |
| 25 | 140-4628 | 1 | Cordset W/Filter | 36 | 3250-26 | 2 | Screw-PPH | |
| 26 | 138-9299 | 1 | Bracket-Fuse Block | 37 | 3296-54 | 2 | Nut-Lock | |
| 27 | 32180-030 | 4 | Clip-Tie | 38 | 140-2488 | 4 | Nut-HF | |
| 28 | 140-2496-05 | 1 | Bracket-Charger Outlet | 39 | 140-2487 | 1 | Decal-Fuse Block, 48V | |
| ASM [blk | 40 | 121-8884 | 1 | Fuse-Mini Blade, 30 Amp | ||||
| 29 | 140-4579 | 1 | Retainer-Isolator | 41 | 3290-378 | 1 | Tie-Cable | |
| 30 | 131-8420 | 1 | Isolator-Clamp | 42 | 140-4590 | 1 | Decal-Charger Input Lithium | |
| 31 | 240-7 | 1 | Grommet-Rubber | 43 | 122-1744 | 1 | Cable-Battery, Negative | |
| 32 | 1-633630 | 2 | Grommet | ASM | ||||
| 33 | 99-5105 | 2 | Screw-Shoulder | 44 | 42863 | 1 | Strip-Jumper | |
| 35 | 107-0380 | 2 | Nut-HHF |
Accelerator Pedal Assembly
| Ref. | Part Number | Qty. | Description | Ref. | Part Number | Qty. | Description | |
| 1 | 122-1709 | 1 | Controller, Tdm-1601 | 6 | 131-8388 | 1 | Socket-USB | |
| 2 | 137-7952 | 1 | Converter-DC-DC | 7 | 122-1488 | 1 | Relay | |
| 3 | 99-8445 | 2 | Screw-HWH | 8 | 32144-1 | 1 | Screw-Taptite | |
| 4 | 106-5269 | 1 | Ignition Switch ASM | 9 | 99-7420 | 2 | Plug-Hole | |
| 4:2 | 108-8660 | 1 | Nut-Mounting | 10 | 95-8999 | 1 | Switch | |
| 4:3 | 106-5270 | 1 | Ignition Key Set | 11 | 121-9675 | 1 | Pedal-Accelerator | |
| 4:4 | 108-8659 | 1 | Washer-Backup | 12 | 3234-29 | 3 | Screw-HHF | |
| 5 | 122-0784 | 1 | Switch-Rocker, On-Off-On | 13 | 104-8300 | 3 | Nut-HF, NI |
Battery Cable Assembly
| Ref. | Part Number | Qty. | Description | Ref. | Part Number | Qty. | Description | |
| 1 | 139-4609-03 | 1 | Front Bracket ASM [black] | 11 | 122-1744 | 1 | Cable-Battery, Negative | |
| 2 | 139-4636-03 | 1 | Bracket-Rear, Lithium | ASM | ||||
| 3 | 104-8301 | 3 | Nut-HF, NI | 12 | 122-1741 | 1 | Cable-Battery, Positive ASM | |
| 4 | 139-4628 | 4 | Screw-CARR | 13 | 131-8482 | 1 | Retainer-Isolator | |
| 5 | 104-7201 | 6 | Nut-Flange, NI | 14 | 131-8420 | 1 | Isolator-Clamp | |
| 6 | 1-807512 | 2 | Bolt-CARR | 15 | 99-8445 | 1 | Screw-HWH | |
| 7 | 122-1716 | 1 | Cable-Data, Samsung M/S | 16 | 107-0279 | 10 | Washer | |
| 8 | 3234-39 | 2 | Screw-HHF | 17 | 107-0280 | 10 | Washer-Lock | |
| 9 | 122-1696 | 3 | Cable-Battery, Positive | 18 | 137-9707 | 10 | Nut-Hex | |
| 10 | 122-1697 | 3 | Cable-Battery, Negative | 19 | 32180-030 | 2 | Clip-Tie |
Rear Wheel and Transaxle Assembly
| Ref. | Part Number | Qty. | Description | Ref. | Part Number | Qty. | Description | |
| 1 | 140-2568-03 | 1 | Gtx-E Swing Arm ASM | 9:1:1 | 140-4570 | 1 | Cap-Aluminum Wheel | |
| [black] | 9:2 | 120-3271 | 1 | Tire | ||||
| 2 | 136-6340 | 1 | Transaxle ASM | 9:3 | 232-27 | 1 | Stem-Valve | |
| 3 | 131-8570 | 2 | Spacer-Hardened | 10 | 139-3603 | 8 | Nut-Lug | |
| 4 | 127-8848 | 2 | Rear Hub ASM | 11 | 1-806800 | 2 | Pin-Cotter | |
| 4:2 | 10-6830 | 4 | Stud-Type, Drive | 12 | 127-8859 | 1 | Bellows-Breather | |
| 5 | 33103-030 | 6 | Screw-HHF | 13 | 137-6936 | 1 | Motor-AC | |
| 6 | 131-8416 | 1 | Bracket-Cable | 14 | 131-8482 | 1 | Retainer-Isolator | |
| 7 | 92-5836 | 2 | Washer | 15 | 131-8420 | 1 | Isolator-Clamp | |
| 8 | 32136-5 | 2 | Nut-Hex, Slotted | 16 | 99-8445 | 1 | Screw-HWH | |
| 9 | 139-4649 | 2 | Aluminum Whl And Tire | 17 | 2412-146 | 1 | Clamp-Hose | |
| ASM | 18 | 137-9984 | 1 | Decal-Load, Towing | ||||
| 9:1 | 139-4601 | 1 | Wheel-Aluminum | 99 | 107-0392 | 1 | Protection-Terminal, Aerosol |
Transaxle Assembly No. 136-6340
| Ref. | Part Number | Qty. | Description | Ref. | Part Number | Qty. | Description | |
| 1 | 133-2447 | 1 | Housing-Axle | 15 | 133-2461 | 1 | Differential ASM | |
| 2 | 133-2448 | 4 | Bolt-Cap, Bearing | 16 | 133-2462 | 4 | Bolt-HHF | |
| 3 | 133-2485 | 1 | Gear-Input | 17 | 133-2463 | 4 | Nut-Lock | |
| 4 | 133-2450 | 3 | Ring-Retaining | 18 | 133-2487 | 1 | Input Gear Kit | |
| 5 | 133-2451 | 3 | O-Ring | 19 | 136-6341 | 1 | Plate-Cover | |
| 6 | 133-2452 | 1 | Bearing-Ball | 20 | 133-2466 | 1 | Plug-HH | |
| 7 | 133-2453 | 1 | Bearing-Ball | 21 | 133-2467 | 10 | Screw-Tapping | |
| 8 | 133-2454 | 1 | Seal-Oil | 22 | 133-2468 | 1 | Elbow-Hose | |
| 9 | 133-2455 | 2 | Plug-Cap, End | 23 | 133-2469 | 1 | Shaft-Axle, LH | |
| 10 | 133-2456 | 2 | Bearing-Ball | 24 | 133-2470 | 1 | Shaft-Axle, RH | |
| 11 | 133-2486 | 1 | Intermediate Gear ASM | 25 | 112-3140 | 2 | Seal-Oil | |
| 12 | 133-2458 | 2 | O-Ring | 26 | 133-2472 | 4 | Ring-Retaining | |
| 13 | 133-2459 | 1 | Gear-Drive, Final | 27 | 108-2425 | 2 | Bearing-Ball | |
| 14 | 133-2460 | 2 | Bearing-Ball | 28 | 108-2409 | 1 | Internal Gear Kit |
Electric Motor Assembly No. 137-6936
| Ref. | Part Number | Qty. | Description |
| 1 | 132-4924 | 1 | Bracket-End, Drive |
| 3 | 132-4925 | 1 | Sensor |
| 4 | 132-4926 | 1 | Screw |
| 6 | 132-4927 | 1 | Plate-Connection |
| 7 | 132-4928 | 1 | Bracket-End, Rear |
| 8 | 132-4929 | 1 | Bearing |
Battery Assembly No. 04070
- Ref. Part Number Qty. Description
- 1 1 Battery Service ASM ●
- 1:2 137-9712 1 Decal-Safety
Attachments and Accessories
For 07413LT Workman GTX Electric Utility Vehicle
Product Name /Model/Part
- Hose Reel Mounting Kit ………………………………………………………………………………………………………… 07027
- Trash Can Mounting Kit ………………………………………………………………………………………………………… 07028
- Walk Spreader Mounting Kit ………………………………………………………………………………………………….. 07029
- Bed Rack Kit ……………………………………………………………………………………………………………………….. 07031
- ROPS Kit ……………………………………………………………………………………………………………………………. 07032
- Cargo Bed Kit ……………………………………………………………………………………………………………………… 07046
- Bench Seat Base Kit…………………………………………………………………………………………………………….. 07047
- Bucket Seat Base Kit ……………………………………………………………………………………………………………. 07048
- Cab Kit……………………………………………………………………………………………………………………………….. 07142
- 48V Electric Lift Kit……………………………………………………………………………………………………………….. 07143
- Brush Guard Kit …………………………………………………………………………………………………………………… 07145
- Front Hitch Kit, Workman GTX Series Utility Vehicles with Brush Guard ……………………………………….. 07146
- Front Hitch Kit, Workman GTX or MDX Series Utility Vehicles without Brush Guard ………………………… 07147
- Steel Flat Bed Kit …………………………………………………………………………………………………………………. 07148
- Storage Box Kit……………………………………………………………………………………………………………………. 07156
- 6in L-Track Kit……………………………………………………………………………………………………………………… 07158
- 2in L-Track Kit……………………………………………………………………………………………………………………… 07159
- GTX Ball Cage ROPS, Certified……………………………………………………………………………………………… 07161
- 48V 6 Foot Bed Electric Lift Kit……………………………………………………………………………………………….. 07168
- Canopy W/ ROPS………………………………………………………………………………………………………………… 07169
- Canopy Mount Kit, Workman GTX Utility Vehicle with Extended Flatbed ………………………………………. 07199
- Workman GTX 2-Person Canopy …………………………………………………………………………………………… 07921
- Folding Windshield Kit, Workman GTX Utility Vehicle with Canopy………………………………………………. 07923
- Exterior Mirror Kit…………………………………………………………………………………………………………….. 130-5448
- Interior Mirror Kit ……………………………………………………………………………………………………………… 130-5449
- Beacon Kit ……………………………………………………………………………………………………………………… 130-5484
- Work Light Kit …………………………………………………………………………………………………………………. 130-5485
- Windshield Washer Fluid Kit, 2015 and after Workman MD/HD Series Utility Vehicle ………………….. 130-5615
- Small Seat Cover…………………………………………………………………………………………………………….. 131-6690
- Reverse Alarm Kit……………………………………………………………………………………………………………. 131-8549
- Power Point Kit ……………………………………………………………………………………………………………….. 131-8550
- Brake and Signal Light Kit…………………………………………………………………………………………………. 132-8579
- Power Converter Kit…………………………………………………………………………………………………………. 133-0959
- Wide Angle Mirror Kit ……………………………………………………………………………………………………….. 133-1009
- Wide Angle Mirror Kit ……………………………………………………………………………………………………….. 133-1038
- Horn Kit………………………………………………………………………………………………………………………….. 133-3017
- Bracket-Mount, Radio……………………………………………………………………………………………………133-7111-03
- Mount-Ball ……………………………………………………………………………………………………………………….133-7116
- Road Light and Homologation Kit ………………………………………………………………………………………. 133-7128
- Cab Mount Kit, Workman GTX Utility Vehicle with Extended Flatbed ……………………………………….. 133-7198
- Service Hood ASM ………………………………………………………………………………………………………….. 133-7209
- Door Mount Mirror Kit……………………………………………………………………………………………………….. 136-1997
- Small Bedrack Mount Grip Kit ……………………………………………………………………………………………..136-6311
- Large Bedrack Mount Grip Kit……………………………………………………………………………………………. 136-6312
- Glove Box Cover Kit ………………………………………………………………………………………………………… 137-2883
- Plate-Skid ………………………………………………………………………………………………………………….. 137-2887-03
- Ignition Switch ASM (Key1) ………………………………………………………………………………………………. 138-3505
- Ignition Switch ASM (Key2) ………………………………………………………………………………………………. 138-3506
- Ignition Switch ASM (Key3) ………………………………………………………………………………………………. 138-3507
- Ignition Switch ASM (Key4) ………………………………………………………………………………………………. 138-3508
- Ignition Switch ASM (Key5) ………………………………………………………………………………………………. 138-3509
- Wireless Hourmeter Finish Kit …………………………………………………………………………………………… 139-4627























