TORO 03674 Reel master 5010-H Traction Unit

Ordering Replacement Parts
To order replacement parts, please supply the part number, the quantity, and the description of each part desired.
Understanding Reference Numbers
Each identified part in an illustration has a reference number. The reference number for a part also appears in the parts list, along with other information about the part.
This catalog uses two special reference number formats, one to indicate parts in a service assembly and another to indicate the quantity of a given part in an illustration.
Service Assembly Reference Numbers
Parts in service assemblies have reference numbers in the form a:b. The a represents the reference number of the entire service assembly and the b represents a sequential number unique to each part within the service assembly.
For example, a wheel assembly might be identified by reference number 6, the tire by 6:1, the valve by 6:2, and the wheel by 6:3. When you order the assembly identified by reference number 6, you receive all parts identified by reference numbers 6:1,6:2, and 6:3. However, you may also order any part individually. Reference numbers of this type appear in illustration and in parts lists.
Reference Numbers Indicating Quantity
In an illustration, if a reference number indicates more than one part, the reference number has the form n X y. The n represents the quantity of the part, the X is the multiplication symbol, and the y represents the reference number.
For example, in an illustration, the reference number 2X 37 means that two of the parts identified by reference number 37 are indicated.
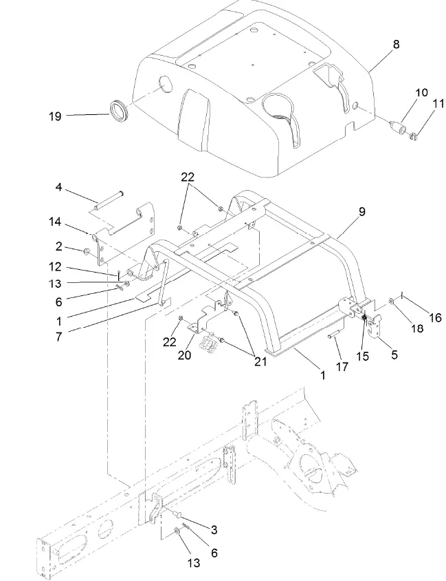
Frame Assembly

| Ref. | Part Number | Qty. | Description | Ref. | Part Number | Qty. | Description | |
| 1 | 125-1531 | 1 | Frame ASM | 13 | 32104-17 | 2 | Screw-HWH | |
| 2 | 110-9041 | 2 | Step-Aluminum | 14 | 110-8951-03 | 1 | Bumper | |
| 3 | 127-2697-01 | 4 | Bracket-Step | 15 | 120-6274 | 4 | Mount-Engine | |
| 4 | 323-36 | 4 | Screw-HH | 16 | 2410-42 | 2 | Cap-End | |
| 5 | 104-8301 | 4 | Nut-HF, NI | 17 | 3231-21 | 4 | Screw-CARR | |
| 6 | 322-17 | 8 | Screw-HH | 18 | 3234-29 | 8 | Screw-HHF | |
| 7 | 104-8300 | 20 | Nut-HF, NI | 19 | 3230-1 | 2 | Bolt-CARR | |
| 8 | 95-9495 | 1 | Cap | 20 | 108-7584-01 | 1 | Plate-Guide, Rod | |
| 9 | 3255-8 | 1 | Washer-Lock | 21 | 32128-21 | 4 | Nut-HF Lock | |
| 10 | 110-8972 | 1 | Hook-Latch | 22 | 322-3 | 2 | Screw-HH | |
| 11 | 110-9012 | 3 | Caplug | 23 | 127-2455-01 | 1 | Bracket-Bulkhead | |
| 12 | 110-9013 | 1 | Caplug |
Operator Platform and Front Shroud Assembly

| Ref. | Part Number | Qty. | Description | Ref. | Part Number | Qty. | Description | |
| 1 | 127-2310-01 | 1 | Platform ASM | 18 | 66-8010 | 2 | Spacer | |
| 2 | 115-8064-01 | 1 | Plate-Floor | 19 | 93-6028 | 1 | Plate-Logo | |
| 3 | 3234-17 | 4 | Screw-HHF | 20 | 94-9024 | 2 | Lamp ASM | |
| 4 | 104-8301 | 6 | Nut-HF, NI | 20:1 | 95-0909 | 1 | Lamp-12 Volt | |
| 5 | 104-8300 | 2 | Nut-HF, NI | 20:2 | 3230-28 | 1 | Screw-CARR | |
| 6 | 3234-11 | 6 | Screw-HHF | 20:3 | 3253-33 | 1 | Washer-Lock | |
| 7 | 110-0986 | 1 | Decal-Plate, Cover | 20:4 | 3217-6 | 1 | Nut-Hex | |
| 8 | 125-2910 | 2 | Tread-Floor, Side | 21 | 3254-9 | 4 | Washer-Lock, Internal | |
| 9 | 3230-1 | 2 | Bolt-CARR | 22 | 110-0944 | 1 | Shroud-Platform | |
| 10 | 87-6630 | 2 | Washer-Plain | 23 | 110-0947-03 | 1 | Plate-Cover | |
| 11 | 32128-33 | 2 | Nut-HF | 25 | 133-2930 | 1 | Decal-Danger | |
| 13 | 125-2911 | 1 | Tread-Panel, Service | 25 | 133-2931 | 1 | Decal-Danger (CE) | |
| 14 | 125-2909 | 1 | Tread-Floorboard | 26 | 110-8921 | 1 | Decal-Speed, Mow | |
| 15 | 32104-17 | 6 | Screw-HWH | 28 | 117-2718 | 1 | Decal-Arrester, Spark | |
| 16 | 106-9518 | 2 | Screw-PRH | 29 | 110-8876-01 | 1 | Brace-Column | |
| 17 | 240-11 | 2 | Bushing-Flange |
Control Pedal Assembly

| Ref. | Part Number | Qty. | Description | Ref. | Part Number | Qty. | Description | |
| 1 | 117-5199 | 1 | Hub-Pedal, Traction | 20:2 | 117-3208 | 2 | Washer-Lock, Internal Tooth | |
| 2 | 117-9507 | 1 | Pedal-Accelerator | 21 | 256-156 | 2 | Bushing-Flange | |
| 3 | 74-9100 | 1 | Pad-Pedal, Forward | 22 | 323-17 | 1 | Screw-HH | |
| 4 | 256-236 | 2 | Bearing-Mount, Flange | 23 | 62-4420 | 8 | Washer | |
| 5 | 106-3840 | 1 | Pedal-Traction | 24 | 3296-39 | 1 | Nut-Lock, NI | |
| 6 | 92-7305 | 1 | Spring-Extension | 25 | 117-8066 | 1 | Mow-Stop | |
| 7 | 3234-5 | 6 | Screw-HHF | 26 | 32121-6 | 1 | Pin-Roll, Slotted | |
| 8 | 3296-29 | 6 | Nut-Lock, NI | 27 | 106-3731 | 1 | Rod-Pivot | |
| 9 | 32121-45 | 1 | Pin-Spring | 28 | 110-8982 | 2 | Washer-Spring | |
| 10 | 74-9110 | 1 | Pad-Pedal, Reverse | 29 | 32121-16 | 1 | Pin-Spring | |
| 11 | 125-1466 | 1 | Traction Cable ASM | 30 | 115-0120-03 | 1 | Pedal-Brake | |
| 12 | 3234-13 | 2 | Screw-HHF | 31 | 125-8775 | 2 | Bushing-Flange | |
| 13 | 3296-42 | 1 | Nut-Lock, NI | 32 | 104-7179 | 1 | Pivot-Pedal | |
| 14 | 66-8010 | 1 | Spacer | 33 | 32144-4 | 1 | Screw-HWH | |
| 15 | 2411-41 | 1 | Rod End-Ball Joint | 34 | 99-7963-03 | 1 | Pedal-Park | |
| 16 | 33093-00 | 1 | Washer-Flat | 35 | 115-5300 | 1 | Proximity Switch ASM | |
| 17 | 3256-22 | 3 | Washer-Flat | 35:1 | 117-3207 | 2 | Nut-Hex | |
| 18 | 321-9 | 1 | Screw-HH | 35:2 | 117-3208 | 2 | Washer-Lock, Internal Tooth | |
| 19 | 93-2092 | 1 | Clamp-Cable | 36 | 115-0129 | 1 | Rod-Pawl, Brake | |
| 20 | 115-0282 | 1 | Proximity Sensor ASM | 37 | 3272-6 | 2 | Pin-Cotter | |
| 20:1 | 117-3207 | 2 | Nut-Hex | 38 | 104-8301 | 1 | Nut-HF, NI |
Steering Assembly

| Ref. | Part Number | Qty. | Description | Ref. | Part Number | Qty. | Description | |
| 39 | 99-7214 | 1 | Pawl-Brake | 46 | 3272-10 | 2 | Pin-Cotter | |
| 40 | 99-7140 | 1 | Spring-Torsion | 47 | 117-0106 | 1 | Cable-Brake, RH | |
| 41 | 52-2891 | 2 | Bushing-Flanged, Nylon | 48 | 117-0107 | 1 | Cable-Brake, LH | |
| 42 | 323-12 | 1 | Screw-HH | 49 | 302-60 | 1 | Fitting-Grease | |
| 43 | 117-0238 | 1 | Detent | 50 | 115-8060 | 1 | Clevis-Double | |
| 44 | 5-0652 | 2 | Spacer | 51 | 115-8059 | 1 | Yoke-Cable | |
| 45 | 283-14 | 2 | Pin-Clevis | 52 | 104-7201 | 1 | Nut-HF, NI |
Steering Tilt Column Assembly No. 106-3622

| Ref. | Part Number | Qty. | Description |
| 1 | 106-3622 | 1 | Steering Tilt Column ASM |
| 2 | 340-2 | 4 | Fitting-Straight |
| 2:1 | 237-22 | 1 | O-Ring |
| 2:2 | 237-42 | 1 | O-Ring |
| 3 | 98-1471 | 1 | Wheel-Steering |
| 3:1 | 98-1468 | 1 | Cover-Wheel, Steering |
| 4 | 98-1459 | 1 | Decal |
| 5 | 105-2409 | 4 | Screw-HSH |
| 6 | 106-3621 | 1 | Steering Valve ASM |
| 7 | 3274-1 | 4 | Screw-HSH |
| 8 | 3296-33 | 1 | Nut-Lock, NI |
| 9 | 3256-27 | 1 | Washer-Flat |
| 10 | 104-8301 | 4 | Nut-HF, NI |
Steering Valve Assembly No. 106-3621

| Ref. | Part Number | Qty. | Description |
| 1 | 110-6462 | 1 | Bellows-Rubber |
| 2 | 110-6463 | 1 | Cylinder Service Kit |
| 2:1 | 1 | Cylinder-Gas | |
| 2:2 | 1 | Block-Pedal | |
| 2:3 | 2 | Bolt | |
| 2:4 | 1 | Pin | |
| 2:5 | 2 | Washer-Lock | |
| 3 | 110-6464 | 1 | Pedal Service Kit |
| 3:1 | 1 | Pedal | |
| 3:2 | 1 | Pin | |
| 3:3 | 1 | Spring | |
| 4 | 110-6465 | 1 | Cover-Pedal |
| 5 | 120-6256 | 1 | Universal Joint Kit |
Steering Valve Assembly No. 106-3621

| Ref. | Part Number | Qty. | Description |
| 1 | 106-6716 | 1 | Seal Kit |
| 1:1 | 1 | Ring-Seal, Dust | |
| 1:2 | 1 | Seal-Shaft | |
| 1:3 | 1 | O-Ring | |
| 1:4 | 2 | O-Ring | |
| 1:5 | 5 | O-Ring |
Control Arm Assembly

| Ref. | Part Number | Qty. | Description | Ref. | Part Number | Qty. | Description | |
| 1 | 120-3801-03 | 1 | Frame-Arm, Control | 20 | 106-5269 | 1 | Ignition Switch ASM | |
| 2 | 120-6310 | 1 | LCD Display ASM | 20:2 | 108-8660 | 1 | Nut-Mounting | |
| 2:1 | 120-4630 | 1 | Nut-Display | 20:3 | 106-5270 | 1 | Ignition Key Set | |
| 2:2 | 120-6311 | 1 | Decal-Display | 20:4 | 108-8659 | 1 | Washer-Backup | |
| 3 | 95-8999 | 1 | Switch | 21 | 125-8754 | 1 | Decal-Panel, Control | |
| 4 | 105-4232 | 1 | Switch | 22 | 120-4158 | 1 | Decal-Console, Upper | |
| 5 | 32144-86 | 4 | Screw-HWHTF | 23 | 3296-2 | 1 | Nut-Lock, NI | |
| 6 | 3230-23 | 2 | Bolt-CARR | 27 | 99-8970 | 1 | Key-Latch, Hood | |
| 7 | 125-1938 | 1 | Latch | 28 | 3250-22 | 1 | Screw-PPH | |
| 8 | 120-5280 | 1 | Bracket-Joystick | 29 | 114-0446 | 1 | Panel-Access | |
| 9 | 104-7201 | 2 | Nut-HF, NI | 30 | 117-0169 | 1 | Decal-Fuses | |
| 10 | 3258-166 | 2 | Screw-PRH | 31 | 114-3321 | 1 | Controller-Tec | |
| 11 | 74-5950 | 2 | Latch-Swell | 32 | 32144-87 | 4 | Screw-HWHTF | |
| 12 | 104-2065 | 10 | Screw-HWH | 33 | 108-7602 | 1 | Rest-Arm | |
| 13 | 256-257 | 2 | Bushing-Nyliner | 34 | 110-8912 | 1 | Seal-Foam | |
| 14 | 104-8300 | 5 | Nut-HF, NI | 35 | 110-5331 | 1 | Spring-Compression | |
| 15 | 108-7605 | 1 | Cover-RH | 36 | 283-88 | 1 | Pin-Clevis | |
| 16 | 108-7604 | 1 | Cover-LH | 37 | 32144-41 | 2 | Screw-Taptite | |
| 17 | 233-42 | 1 | Knob | 38 | 4-2390 | 2 | Washer-Flat | |
| 18 | 93-5961 | 1 | Boot-Lever | 39 | 110-5313-03 | 1 | Bracket-Retainer | |
| 19 | 112-9181 | 1 | Plate-Boot | 40 | 283-73 | 1 | Pin-Clevis |

| 41 | 322-7 | 1 | Screw-HH | 45 | 3256-23 | 1 | Washer-Plain | |
| 42 | 110-5314 | 1 | Latch | 46 | 3272-10 | 1 | Pin-Cotter | |
| 43 | 3272-1 | 1 | Pin-Cotter | 47 | 100-1535 | 1 | Switch-Rocker, | |
| 44 | 110-8856 | 1 | Spacer | (On)-Off-(On) |
Joystick Bracket Assembly No. 120-5280

| Ref. | Part Number | Qty. | Description |
| 1 | 115-5357-03 | 1 | Bracket-Joystick |
| 2 | 106-4192 | 1 | Spacer |
| 3 | 93-5547 | 2 | Bushing-Nylon |
| 4 | 119-3540 | 1 | Hub-Pivot, Joystick |
| 5 | 105-8289 | 1 | Spring-Torsion |
| 6 | 106-4193 | 2 | Washer-Finger, Spring |
| 7 | 322-9 | 1 | Screw-HH |
| 8 | 3296-29 | 1 | Nut-Lock, NI |
| 9 | 3290-354 | 2 | Nut-Speed |
| 10 | 108-6496 | 2 | Switch (W/Boot) |
| 11 | 95-3003 | 4 | Screw-PPHTF |
| 12 | 3256-3 | 1 | Washer-Flat |
Front Axle Assembly

| Ref. | Part Number | Qty. | Description | Ref. | Part Number | Qty. | Description | |
| 1 | 242-50 | 10 | Nut-Lug | 12 | 110-0951 | 1 | Shield-Wheel, Rear (LH) | |
| 2 | 121-5631 | 2 | Hub ASM | 13 | 110-8878 | 1 | Shield-Wheel, Rear (RH) | |
| 2:2 | 114-3918 | 5 | Stud-Wheel | 14 | 283-62 | 2 | Pin-Clevis | |
| 3 | 117-5194 | 2 | Tire ASM | 15 | 120-6261 | 1 | LH Brake ASM | |
| 3:1 | 117-5196 | 1 | Tire | 16 | 120-6260 | 1 | RH Brake ASM | |
| 3:2 | 117-5197 | 1 | Wheel | 17 | 323-4 | 8 | Screw-HH | |
| 3:3 | 232-27 | 1 | Stem-Valve | 18 | 322-7 | 2 | Screw-HH | |
| 4 | 321-4 | 8 | Screw-HH | 19 | 3256-67 | 8 | Washer | |
| 5 | 3296-23 | 8 | Nut-Lock, NI | 20 | 3290-378 | 2 | Tie-Cable | |
| 6 | 325-12 | 8 | Screw-HH | 21 | 104-8300 | 2 | Nut-HF, NI | |
| 7 | 120-6253-03 | 2 | Adapter-Brake | 22 | 120-6267 | 1 | Clip-Spring, LH | |
| 8 | 3296-42 | 8 | Nut-Lock, NI | 23 | 120-6266 | 1 | Clip-Spring, RH | |
| 9 | 117-3290 | 2 | Nut-Hex | 24 | 87-4020 | 2 | Spring-Extension | |
| 10 | 114-8864 | 2 | Drum-Brake | 25 | 3218-2 | 2 | Nut-Hex Jam | |
| 11 | 110-0950 | 2 | Shield-Wheel, Front | 26 | 117-5198 | 2 | Key-Square |
LH Brake Assembly No. 120-6261

| Ref. | Part Number | Qty. | Description |
| 1 | 108-6981 | 1 | Brake Shoe Kit |
| 2 | 108-6983 | 1 | Brake Hardware Kit |
| 3 | 110-8910 | 1 | LH Actuator Kit |
| 3:1 | 1 | Housing | |
| 3:2 | 1 | Lever-LH | |
| 3:3 | 1 | Pin-Pivot | |
| 3:4 | 1 | E-Ring | |
| 4 | 110-8885 | 1 | Dust Boot Kit |
| 4:1 | 1 | Boot | |
| 4:2 | 1 | Plate-Back Up | |
| 4:3 | 2 | Rivet |
RH Brake Assembly No. 120-6260

| Ref. | Part Number | Qty. | Description |
| 1 | 108-6981 | 1 | Brake Shoe Kit |
| 2 | 108-6983 | 1 | Brake Hardware Kit |
| 3 | 110-8884 | 1 | RH Actuator Kit |
| 3:1 | 1 | Housing | |
| 3:2 | 1 | Lever-RH | |
| 3:3 | 1 | Pin-Pivot | |
| 3:4 | 1 | E-Ring | |
| 4 | 110-8885 | 1 | Dust Boot Kit |
| 4:1 | 1 | Boot | |
| 4:2 | 1 | Plate-Back Up | |
| 4:3 | 2 | Rivet |
Rear Axle Assembly

| Ref. | Part Number | Qty. | Description | Ref. | Part Number | Qty. | Description | |
| 1 | 107-4546-03 | 1 | Axle ASM | 10 | 302-33 | 1 | Fitting-Grease | |
| 1:1 | 1 | Axle | 11 | 69-8890 | 2 | Cap-Spindle | ||
| 1:1:2 | 99-6964 | 2 | Bushing-Axle | 12 | 32151-77 | 2 | Ring-Retaining, External | |
| 1:1:3 | 104-0015 | 4 | Bushing-Flange | 13 | 3234-1 | 2 | Screw-HHF | |
| 1:1:4 | 302-5 | 2 | Fitting-Grease | 14 | 117-8961 | 2 | Hub And Spindle ASM | |
| 2 | 107-4517-03 | 2 | Housing-Motor | 15 | 76-2980 | 2 | Washer-Thrust | |
| 3 | 110-5295-03 | 1 | Link-Drag, RH | 16 | 3272-12 | 2 | Pin-Cotter | |
| 4 | 110-5334-03 | 1 | Tie Rod ASM | 17 | 117-0281 | 2 | Rim And Tire ASM | |
| 5 | 98-8173 | 1 | Pin-Pivot, Axle | 17:1 | 117-0280 | 1 | Rim | |
| 6 | 99-8432 | 2 | Washer-Thrust | 17:2 | 117-5125 | 1 | Tire | |
| 7 | 32121-32 | 1 | Pin-Roll | 17:3 | 232-27 | 1 | Stem-Valve | |
| 8 | 71-4540 | 1 | Washer-Thrust | 18 | 110-5297-03 | 1 | Link-Drag, LH | |
| 9 | 3296-15 | 1 | Nut-Lock, NI | 19 | 3234-6 | 14 | Screw-HHF |
Tie Rod Assembly No. 110-5334-03

| Ref. | Part Number | Qty. | Description |
| 1 | 110-5335 | 1 | Rod-Tie |
| 2 | 71-4740-03 | 1 | RH Tie Rod End ASM |
| 2:1 | 1 | End-Rod, Tie (RH) | |
| 2:1:1 | 105-7941 | 1 | Nut-Hex, Slotted |
| 2:1:2 | 105-7835 | 1 | Seal |
| 2:1:3 | 302-5 | 1 | Fitting-Grease |
| 3 | 2411-46-03 | 1 | LH Tie Rod ASM |
| 3:1 | 1 | End-Rod, Tie (LH) | |
| 3:1:1 | 302-5 | 1 | Fitting-Grease |
| 3:1:2 | 105-7835 | 1 | Seal |
| 3:1:3 | 105-7941 | 1 | Nut-Hex, Slotted |
| 4 | 84-5300 | 1 | Nut-Jam |
| 5 | 110-5337 | 1 | Nut-Jam |
Hub and Spindle Assembly No. 117-8961

| Ref. | Part Number | Qty. | Description |
| 1 | 117-8958 | 1 | Spindle |
| 2 | 117-8963 | 1 | Hub ASM |
| 2:2 | 254-72 | 2 | Bearing-Cup, Tapered |
| 2:3 | 114-3918 | 5 | Stud-Wheel |
| 3 | 254-94 | 2 | Bearing-Cone, Tapered |
| 4 | 112-1690 | 1 | Seal-Oil |
| 5 | 242-50 | 5 | Nut-Lug |
| 6 | 241-119 | 1 | Cap-Dust |
| 7 | 117-8259 | 1 | Washer-Spindle |
| 8 | 117-8260 | 1 | Nut |
| 9 | 93-0307 | 1 | Nut-Lock, Retainer |
| 10 | 3272-18 | 1 | Pin-Cotter |
No. 1, 4 and 5 Lift Arm Assembly

| Ref. | Part Number | Qty. | Description | Ref. | Part Number | Qty. | Description | |
| 1 | 110-0991 | 1 | No. 1 Lift Arm ASM | 13 | 107-2052 | 3 | Pivot Yoke ASM | |
| 1:2 | 69-6470 | 2 | Bushing-Caster | 13:2 | 121-3187 | 2 | Bushing | |
| 1:3 | 104-0015 | 2 | Bushing-Flange | 13:3 | 302-5 | 1 | Fitting-Grease | |
| 2 | 114-8874 | 1 | No. 4 Lift Arm ASM | 13:4 | 110-9642 | 1 | Decal-Warning | |
| 2:2 | 69-6470 | 2 | Bushing-Caster | 14 | 92-1298 | 3 | Pin-Lynch | |
| 2:3 | 104-0015 | 2 | Bushing-Flange | 15 | 76-2980 | 6 | Washer-Thrust | |
| 3 | 110-0995 | 1 | No. 5 Lift Arm ASM | 16 | 302-5 | 6 | Fitting-Grease | |
| 3:2 | 69-6470 | 2 | Bushing-Caster | 17 | 117-5153-01 | 1 | Plate-Bridge 5 | |
| 3:3 | 104-0015 | 2 | Bushing-Flange | 18 | 107-7400 | 3 | Pin-Lynch | |
| 4 | 117-0208 | 3 | Shaft-Pivot, Liftarm | 19 | 107-4027 | 3 | Cap | |
| 5 | 32121-122 | 3 | Pin-Roll | 20 | 87-7270 | 6 | Washer-Thrust | |
| 6 | 99-5107 | 4 | Nut-Lock | 21 | 325-5 | 2 | Screw-HH | |
| 7 | 325-7 | 4 | Screw-HH | 22 | 84-2451 | 3 | Chain-Straight, 5 Link | |
| 8 | 117-5154-01 | 1 | Plate-Bridge 1 And 4 | 23 | 115-5300 | 1 | Proximity Switch ASM | |
| 9 | 327-7 | 3 | Screw-HH | 23:1 | 117-3207 | 2 | Nut-Hex | |
| 10 | 110-0922 | 3 | Hoop-Chain | 23:2 | 117-3208 | 2 | Washer-Lock, Internal Tooth | |
| 11 | 63-8410 | 6 | Washer | 24 | 104-8301 | 6 | Nut-HF, NI | |
| 12 | 323-7 | 6 | Screw-HH | 25 | 99-7667 | 3 | Washer-Flat |
No. 2 and 3 Lift Arm Assembly

| Ref. | Part Number | Qty. | Description | Ref. | Part Number | Qty. | Description | |
| 1 | 125-2018 | 1 | Housing | 11:3 | 302-5 | 1 | Fitting-Grease | |
| 2 | 125-2912 | 1 | Lift Arm 2 ASM | 11:4 | 110-9642 | 1 | Decal-Warning | |
| 2:2 | 93-6696 | 1 | Decal-Warning | 12 | 92-1298 | 2 | Pin-Lynch | |
| 2:3 | 69-6470 | 2 | Bushing-Caster | 13 | 76-2980 | 4 | Washer-Thrust | |
| 2:4 | 104-0015 | 2 | Bushing-Flange | 15 | 302-5 | 4 | Fitting-Grease | |
| 3 | 125-2913 | 1 | Lift Arm 3 ASM | 16 | 107-7400 | 2 | Pin-Lynch | |
| 3:2 | 93-6696 | 1 | Decal-Warning | 17 | 107-4027 | 2 | Cap | |
| 3:3 | 69-6470 | 2 | Bushing-Caster | 18 | 110-0922 | 2 | Hoop-Chain | |
| 3:4 | 104-0015 | 2 | Bushing-Flange | 19 | 3296-29 | 6 | Nut-Lock, NI | |
| 4 | 63-8410 | 4 | Washer | 20 | 323-7 | 4 | Screw-HH | |
| 6 | 3234-11 | 2 | Screw-HHF | 21 | 104-8301 | 4 | Nut-HF, NI | |
| 7 | 120-6283 | 6 | Stud-Shouldered | 22 | 84-2451 | 2 | Chain-Straight, 5 Link | |
| 9 | 125-2037 | 2 | Shaft | 23 | 99-5608-03 | 1 | Spring-Torsion, RH | |
| 10 | 32144-14 | 2 | Screw-HWHTF | 24 | 99-5609-03 | 1 | Spring-Torsion, LH | |
| 11 | 107-2052 | 2 | Pivot Yoke ASM | 25 | 110-5345 | 2 | Washer | |
| 11:2 | 121-3187 | 2 | Bushing | 26 | 119-8010-03 | 1 | Kickstand |
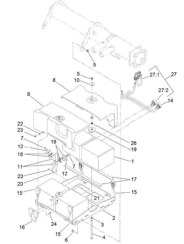
Battery Mounting Assembly

| Ref. | Part Number | Qty. | Description |
| 1 | 120-6398 | 1 | Cable-Battery, Positive |
| 2 | 120-6399 | 1 | Cable-Battery, Negative |
| 3 | 121-5615 | 1 | Cover-Battery |
| 4 | 104-9979 | 1 | Battery |
| 5 | 66-2490 | 1 | Retainer-Battery |
| 6 | 127-2781 | 1 | Mat-Battery |
| 7 | 3230-6 | 1 | Bolt-CARR |
| 8 | 121-8854 | 2 | Grip-Cord |
| 9 | 121-8855 | 2 | Locknut-Grip, Cord |
| 10 | 99-3441 | 1 | Harness-Wire, Fusible Link |
| 11 | 125-1583-03 | 1 | Tray-Battery |
| 12 | 3230-2 | 4 | Bolt-CARR |
| 13 | 104-8300 | 6 | Nut-HF, NI |
| 14 | 322-6 | 1 | Screw-HH |
| 15 | 3290-378 | 5 | Tie-Cable |
Control Console Electrical Assembly

| Ref. | Part Number | Qty. | Description |
| 1 | 121-6598 | 1 | Harness-Wire, Seat |
| 1:6 | 218-578 | 3 | Fuse-Blade, 10 Amp |
| 1:7 | 109355 | 1 | Fuse-Blade, 15 Amp |
| 1:23 | 32180-043 | 1 | Resistor-120 Ohm |
| 1:25 | 114241 | 3 | Fuse-Blade, 7.5 Amp |
| 2 | 3290-378 | 3 | Tie-Cable |
Gear Pump Assembly

| Ref. | Part Number | Qty. | Description | Ref. | Part Number | Qty. | Description | |
| 1 | 125-1530 | 1 | Tandem Gear Pump ASM | 14:1 | 237-22 | 1 | O-Ring | |
| 4 | 3256-24 | 4 | Washer-Flat | 14:2 | 237-79 | 1 | O-Ring | |
| 6 | 125-1528 | 1 | Fitting-STR | 15 | 237-161 | 1 | O-Ring | |
| 6:1 | 237-146 | 1 | O-Ring | 16 | 108-1801-01 | 1 | Bracket-Support, Pump | |
| 8 | 3274-1 | 2 | Screw-HSH | 17 | 92-4799 | 1 | Fitting-Tee, HYD | |
| 9 | 3253-5 | 2 | Washer-Lock | 17:1 | 237-79 | 1 | O-Ring | |
| 10 | 103-9511 | 2 | Nut-Lock, NI | 17:2 | 237-22 | 2 | O-Ring | |
| 11 | 104-8300 | 2 | Nut-HF, NI | 18 | 86-5480 | 1 | Nipple-Test | |
| 12 | 3230-1 | 2 | Bolt-CARR | 19 | 354-79 | 1 | Cap-Dust | |
| 14 | 340-3 | 1 | Fitting-Straight |
Tandem Gear Pump Assembly No. 125-1530


Seat Base Assembly

| Ref. | Part Number | Qty. | Description | Ref. | Part Number | Qty. | Description | |
| 1 | 110-5255 | 2 | Bumper-Base, Seat | 12 | 3272-11 | 2 | Pin-Cotter | |
| 2 | 104-8301 | 4 | Nut-HF, NI | 13 | 3256-24 | 4 | Washer-Flat | |
| 3 | 3231-27 | 4 | Screw-CARR | 14 | 125-2121-03 | 1 | Hinge-Seat base | |
| 4 | 283-83 | 2 | Pin-Clevis | 15 | 104-4821 | 1 | Spring-Torsion | |
| 5 | 110-8971 | 1 | Latch | 16 | 3272-6 | 1 | Pin-Cotter | |
| 6 | 3290-307 | 4 | Pin-Cotter | 17 | 94-3829 | 1 | Pin-Clevis | |
| 7 | 98-0917 | 2 | Rod-Prop | 18 | 3256-2 | 1 | Washer-Flat | |
| 8 | 108-1757 | 1 | Cover-Seat base | 19 | 240-12 | 1 | Grommet-Rubber | |
| 9 | 125-2122-03 | 1 | Seat Base ASM | 20 | 127-2377-03 | 1 | Bracket-Harness | |
| 10 | 99-7411 | 1 | Point-Power | 21 | 3234-13 | 2 | Screw-HHF | |
| 11 | 99-7416 | 1 | Cap | 22 | 3296-16 | 2 | Nut-Lock, NI |
Hood Assembly

| Ref. | Part Number | Qty. | Description | Ref. | Part Number | Qty. | Description | |
| 1 | 127-2304 | 2 | Decal | 11 | 3234-21 | 10 | Screw-HHF | |
| 2 | 108-7587 | 1 | Saddle-Hood | 12 | 104-7201 | 10 | Nut-HF, NI | |
| 3 | 110-8994 | 1 | Hood ASM | 13 | 32105-13 | 4 | Screw-HWH | |
| 3:2 | 106-6754 | 1 | Decal-Danger | 14 | 3256-14 | 4 | Washer-Flat | |
| 3:3 | 110-5252 | 1 | Foam-Sealed | 15 | 3296-12 | 4 | Nut-Lock, NI | |
| 3:4 | 110-9002 | 1 | Foil Tape Kit | 16 | 283-61 | 2 | Pin-Yoke | |
| 4 | 103-2897 | 2 | Latch-Catch | 17 | 107-8042 | 2 | Bumper-Rubber | |
| 5 | 103-2898 | 2 | Latch-Rubber | 18 | 98-5398 | 1 | Latch | |
| 6 | 125-8819-03 | 1 | Tube-Frame, Hood | 19 | 32104-32 | 4 | Screw-HWH | |
| 7 | 105-7512 | 2 | Pin-Tie, Bow | 20 | 104-1453 | 1 | Grommet | |
| 8 | 66-6140 | 2 | Decal | 22 | 99-4958 | 1 | Spacer | |
| 9 | 108-1790-03 | 2 | Tube | 23 | 110-0979-03 | 2 | Bracket-Deflector | |
| 10 | 32104-17 | 8 | Screw-HWH | 25 | 119-7580 | 2 | Decal-Smart, Energy |
Radiator Assembly

| Ref. | Part Number | Qty. | Description | Ref. | Part Number | Qty. | Description | |
| 1 | 108-0638 | 1 | Bottle-Overflow | 20 | 108-1665-03 | 1 | Bracket-Reservior | |
| 2 | 92-2379 | 3 | Clamp-Hose | 21 | 108-1666-03 | 1 | Bracket-Reservoir | |
| 3 | 110-3257 | 1 | Hose-Fuel | 22 | 108-1696 | 1 | Hose-Formed | |
| 4 | 110-0967 | 2 | Seal-Foam | 23 | 108-1697 | 1 | Hose-Formed | |
| 5 | 127-2480 | 1 | Cooler-Oil | 24 | 127-2474 | 1 | Shroud-Fan | |
| 6 | 3256-23 | 8 | Washer-Plain | 25 | 127-2346 | 2 | Hose | |
| 7 | 2412-34 | 4 | Clamp-Hose | 26 | 3269-15 | 2 | Rivet-Pop | |
| 8 | 110-0968 | 2 | Seal-Foam | 27 | 3234-5 | 9 | Screw-HHF | |
| 9 | 32128-49 | 4 | Nut-HHF | 28 | 115-1554 | 1 | Latch-Draw | |
| 10 | 104-8300 | 22 | Nut-HF, NI | 29 | 32104-32 | 6 | Screw-HWH | |
| 11 | 104-5460-03 | 2 | Plate-Mount, Oil Cooler | 30 | 3234-13 | 1 | Screw-HHF | |
| 12 | 105-3943 | 16 | Clamp-Cooler, Oil | 31 | 3296-42 | 3 | Nut-Lock, NI | |
| 13 | 2412-119 | 4 | Clamp-Hose, Worm Drive | 32 | 322-21 | 4 | Screw-HH | |
| 14 | 322-10 | 4 | Screw-HH | 33 | 110-0952-03 | 1 | Screen ASM | |
| 15 | 104-5429 | 2 | Clamp-Form, Wire | 34 | 108-1843-03 | 1 | Screen-Intake, Air | |
| 16 | 325-17 | 2 | Screw-HH | 35 | 110-4104 | 1 | Hose-Fuel | |
| 17 | 41-8440 | 4 | Washer | 36 | 107-2043-03 | 1 | Bracket-Oil Cooler, Top | |
| 18 | 110-5325 | 1 | Radiator ASM | 37 | 93-6028 | 1 | Plate-Logo | |
| 18:1 | 304-46 | 1 | Draincock | 38 | 94-2638 | 4 | Nut-Flat | |
| 18:2 | 93-5957 | 1 | Cap-Radiator | 39 | 110-5324 | 1 | Seal-Foam | |
| 19 | 127-2665-03 | 1 | Frame-Support, Radiator | 40 | 1-603903 | 5 | Spacer |

| Ref. | Part Number | Qty. | Description | Ref. | Part Number | Qty. | Description | |
| 41 | 3234-36 | 5 | Screw-HHF | 49 | 110-0969 | 2 | Seal-Foam | |
| 42 | 93-7272 | 1 | Decal-Warning | 50 | 127-2475 | 2 | Tube ASM | |
| 43 | 3229-11 | 2 | Screw-CARR | 51 | 2412-73 | 2 | Clamp-R | |
| 44 | 106-6755 | 1 | Decal-Cap, Radiator | 52 | 340-127 | 2 | Nut-Bulkhead | |
| 45 | 115-1556 | 1 | Pin-Ball, Detent | 53 | 69-8930 | 4 | Washer | |
| 47 | 110-0971 | 2 | Seal-Foam | 54 | 127-2344 | 2 | Spacer | |
| 48 | 110-0970 | 2 | Seal-Foam |
Fuel System Assembly

| Ref. | Part Number | Qty. | Description | Ref. | Part Number | Qty. | Description | |
| 1 | 117-5894 | 1 | Fuel Cap ASM | 14:1 | 110-9049 | 1 | Filter-Spin On, Fuel/Water | |
| 2 | 109-2661 | 7 | Screw-PPH | 15 | 353-783 | 2 | Fitting-STR | |
| 3 | 94-5780 | 2 | Screw-HWH | 16 | 32104-96 | 1 | Screw-HH | |
| 4 | 104-8300 | 5 | Nut-HF, NI | 17 | 3230-22 | 2 | Screw-CARR | |
| 5 | 107-4543 | 2 | Clamp | 19 | 109-0309 | 1 | Hose-Fuel | |
| 6 | 125-2907 | 1 | Fuel Tank ASM | 21 | 115-2162 | 1 | Cap-Pump, Fuel | |
| 6:2 | 2412-36 | 1 | Clamp-Hose | 22 | 115-2163 | 1 | Gasket-Pump, Fuel | |
| 6:3 | 304-46 | 1 | Draincock | 23 | 121-5642 | 1 | Sender-Fuel | |
| 7 | 125-2903 | 1 | Cover-Pump/Sender | 26 | 110-8968-01 | 1 | Mount-Separator, Water | |
| 8 | 2412-80 | 2 | Clamp-Hose | 27 | 110-8817 | 1 | Bracket-Pump, Fuel | |
| 9 | 322-6 | 1 | Screw-HH | 28 | 110-3259 | 1 | Hose-Fuel | |
| 10 | 3256-3 | 1 | Washer-Flat | 29 | 125-8808 | 1 | Hose-Fuel | |
| 11 | 108-1605 | 1 | Bumper-Recess | 32 | 3290-378 | 3 | Tie-Cable | |
| 12 | 92-2379 | 6 | Clamp-Hose | 38 | 32104-32 | 4 | Screw-HWH | |
| 13 | 110-8806 | 1 | Pump-Fuel | 43 | 125-2945 | 1 | Strap-Cable | |
| 14 | 110-9044 | 1 | Separator-Filter | 44 | 110-3258 | 1 | Hose-Fuel |
Hydraulic Tank Assembly

| Ref. | Part Number | Qty. | Description | Ref. | Part Number | Qty. | Description | |
| 1 | 105-0131 | 1 | Strainer-Tank, Oil | 10 | 322-6 | 1 | Screw-HH | |
| 1:1 | 340-136 | 1 | O-Ring | 11 | 3256-3 | 1 | Washer-Flat | |
| 2 | 121-5587 | 1 | Tank-Hydraulic | 12 | 61-2790 | 1 | Filter-Screen | |
| 3 | 108-1605 | 1 | Bumper-Recess | 13 | 127-2476 | 1 | Tube-ASM. | |
| 4 | 107-4543 | 2 | Clamp | 13:1 | 237-30 | 1 | O-Ring | |
| 5 | 125-1527 | 1 | Hose-Suction | 14 | 340-98 | 1 | Fitting-Elbow, 90 DEG | |
| 6 | 2412-111 | 2 | Clamp-Hose, W/Liner | 14:1 | 237-79 | 1 | O-Ring | |
| 7 | 117-0193 | 1 | Cap-Hydraulic, Vented | 14:2 | 237-30 | 1 | O-Ring | |
| Breather | 15 | 105-3921 | 1 | Fitting-Plug | ||||
| 7:1 | 237-101 | 1 | O-Ring | 15:1 | 237-146 | 1 | O-Ring | |
| 8 | 94-5780 | 2 | Screw-HWH | 16 | 340-127 | 1 | Nut-Bulkhead | |
| 9 | 104-8300 | 3 | Nut-HF, NI |
Seat and Roll-Over Protection System Assembly

| Ref. | Part Number | Qty. | Description | Ref. | Part Number | Qty. | Description | |
| 1 | 104-4620 | 1 | Seat | 11 | 92-8990 | 1 | Adjuster-Seat, Non-Locking | |
| 2 | 125-2900-03 | 1 | Mount-Seat | 12 | 92-8991 | 1 | Adjuster (W/Latch) | |
| 3 | 125-8753 | 1 | Decal-Service | 13 | 104-8300 | 8 | Nut-HF, NI | |
| 4 | 3256-23 | 8 | Washer-Plain | 15 | 48-7680 | 4 | Screw-HH | |
| 5 | 108-8657 | 1 | Harness-Wire, Seat | 16 | 71-9310 | 4 | Spacer | |
| 6 | 92-6282 | 1 | Switch-Seat | 17 | 104-7048 | 1 | Cap-Housing | |
| 7 | 9266714 | 2 | Screw-HWH | 18 | 104-7050 | 1 | Tube-Manual | |
| 8 | 92-7307 | 1 | LH Armrest ASM | 19 | 108-6590-03 | 2 | Bracket-Seat, Lower | |
| 8:1 | 69-0760 | 1 | Bracket-Arm, LH | 20 | 110-8851 | 1 | Mechanical Suspension | |
| 8:2 | 92-7301 | 1 | Spacer | ASM | ||||
| 8:3 | 69-1180 | 1 | Armrest | 21 | 2412-133 | 2 | Clamp-R | |
| 8:4 | 323-9 | 1 | Screw-HH | 22 | 3234-17 | 4 | Screw-HHF | |
| 8:5 | 32128-19 | 1 | Nut-HF Lock ,Large Flg | 23 | 100-4928 | 1 | Belt-Seat | |
| 8:7 | 3256-24 | 1 | Washer-Flat | 24 | 3253-6 | 2 | Washer-Lock | |
| 8:8 | 92-7318 | 1 | Screw | 25 | 3212-4 | 2 | Screw-HH | |
| 9 | 3234-14 | 3 | Screw-HHF | 26 | 125-8821 | 1 | ROPS ASM | |
| 10 | 3274-12 | 4 | Screw-HSH | 27 | 3234-38 | 8 | Screw-HHF |
Mechanical Seat Suspension Assembly No. 110-8851

| Ref. | Part Number | Qty. | Description |
| 1 | 119-8040 | 1 | Knobs Service Kit |
| 6 | 108-4584 | 1 | Weight Indicator Service Kit |
| 6:1 | 1 | Tape-Weight Adjust | |
| 6:2 | 1 | Guide-Weight Adjust | |
| 7 | 108-9632 | 4 | Roller |
| 8 | 108-9633 | 1 | Spring-Extension |
| 10 | 112-0164 | 1 | Boot Kit |
| 10:1 | 1 | Boot-Suspension | |
| 10:2 | 108-9641 | 21 | Clip-Plug |
| 18 | 108-9634 | 1 | Bumper |
| 21 | 108-9614 | 1 | Damper |
| 26 | 108-9622 | 2 | Tube |
| 33 | 3290-54 | 2 | Rivet-Blind |
| 39 | 3272-9 | 1 | Pin-Cotter |
| 42 | 32152-2 | 1 | Nut-Lock, Cone |
Traction Pump Mounting Assembly

| Ref. | Part Number | Qty. | Description | Ref. | Part Number | Qty. | Description | |
| 1 | 3234-1 | 2 | Screw-HHF | 14 | 321-9 | 1 | Screw-HH | |
| 2 | 119-6972 | 1 | Variable Hydraulic Pump | 15 | 127-2356-03 | 1 | Bracket-Cable | |
| ASM | 16 | 2411-41 | 1 | Rod End-Ball Joint | ||||
| 3 | 76-8870 | 1 | Damper-Lever | 17 | 115-5300 | 1 | Proximity Switch ASM | |
| 4 | 104-8300 | 1 | Nut-HF, NI | 17:1 | 117-3207 | 2 | Nut-Hex | |
| 5 | 125-8822-03 | 1 | Plate-Pump | 17:2 | 117-3208 | 2 | Washer-Lock, Internal Tooth | |
| 6 | 3234-38 | 2 | Screw-HHF | 18 | 117-0265 | 1 | Lever-Pump | |
| 7 | 32128-49 | 2 | Nut-HHF | 19 | 33093-00 | 1 | Washer-Flat | |
| 10 | 340-105 | 1 | Fitting-Elbow, 90 DEG | 20 | 3256-22 | 1 | Washer-Flat | |
| 10:1 | 237-80 | 1 | O-Ring | 21 | 32151-72 | 1 | Ring-Retaining | |
| 10:2 | 237-30 | 1 | O-Ring | 22 | 3230-6 | 1 | Bolt-CARR | |
| 11 | 32128-20 | 1 | Nut-HF | 23 | 3296-29 | 1 | Nut-Lock, NI | |
| 12 | 3296-42 | 1 | Nut-Lock, NI | 24 | 33114-020 | 3 | Screw-HH | |
| 13 | 322-10 | 1 | Screw-HH |
Hydraulic Pump Assembly No. 119-6972

| Ref. | Part Number | Qty. | Description | Ref. | Part Number | Qty. | Description | |
| 1 | 115-8092 | 1 | Swashplate | 18 | 75-0500 | 1 | Bearing-Needle | |
| 2 | 75-0400 | 1 | Plate-Thrust | 19 | 110-6489 | 4 | Screw | |
| 3 | 110-6483 | 2 | Bearing Kit | 20 | 94-9415 | 2 | Plug ASM | |
| 4 | 110-6471 | 1 | Seal-Lip | 20:1 | 1 | O-Ring | ||
| 5 | 95-4400 | 1 | Washer-Backup | 21 | 107-4364 | 1 | Bypass Valve ASM | |
| 6 | 69-3200 | 2 | Ring-Retaining | 21:1 | 25-2630 | 1 | Ring-Back Up | |
| 7 | 110-6484 | 1 | Shaft-Auxiliary | 21:2 | 110-6498 | 1 | O-Ring | |
| 8 | 110-6472 | 1 | Cylinder Block Kit ASM | 22 | 110-6491 | 2 | Spring | |
| 9 | 110-6473 | 1 | Plate-Valve (Clockwise) | 23 | 110-6492 | 1 | Spool-Loop, Flush | |
| 10 | 110-6485 | 1 | Pin-Slotted | 24 | 110-6493 | 1 | Pivot-Return, Neutral | |
| 11 | 110-6486 | 1 | Plug-Relief, Charge | 25 | 69-3170 | 2 | Ring-Retaining | |
| 11:1 | 28-3570 | 1 | O-Ring | 26 | 75-0460 | 1 | Bearing-Ball | |
| 12 | 110-6480 | 1 | Coupling | 27 | 115-8085 | 1 | Spring-Neutral Return | |
| 13 | 92-1353 | 1 | Shim Kit | 28 | 110-6496 | 1 | Nut-Seal | |
| 14 | 110-6474 | 1 | Spring | 29 | 110-6497 | 1 | Neutral Return Arm ASM | |
| 15 | 110-6475 | 1 | Poppet | 29:1 | 110-6494 | 1 | Bearing-Cam | |
| 16 | 115-8087 | 1 | Cap-End | 29:2 | 110-3056 | 1 | Ring-Retaining | |
| 17 | 110-6476 | 1 | Gasket-Cap, End | 30 | 69-3130 | 2 | Plug |

| Ref. | Part Number | Qty. | Description | Ref. | Part Number | Qty. | Description | |
| 31 | 112-0158 | 2 | Pin | 46:1 | 110-6471 | 1 | Seal-Lip | |
| 33 | 110-6477 | 2 | Valve-Relief | 46:2 | 28-3570 | 1 | O-Ring | |
| 33:1 | 75-0240 | 1 | O-Ring | 46:3 | 110-6476 | 1 | Gasket-Cap, End | |
| 33:2 | 84-0560 | 1 | O-Ring | 46:4 | 1 | O-Ring | ||
| 36 | 110-6499 | 1 | Trunnion Cover ASM | 46:5 | 25-2630 | 1 | Ring-Back Up | |
| 36:1 | 110-6478 | 1 | Seal-Lip | 46:6 | 110-6498 | 1 | O-Ring | |
| 38 | 84-0430 | 2 | O-Ring | 46:7 | 75-0240 | 2 | O-Ring | |
| 39 | 112-0150 | 4 | Screw | 46:8 | 84-0560 | 2 | O-Ring | |
| 40 | 84-0440 | 1 | Cover-Trunnion | 46:9 | 110-6478 | 1 | Seal-Lip | |
| 41 | 112-0151 | 4 | Screw | 46:10 | 84-0430 | 2 | O-Ring | |
| 46 | 110-6481 | 1 | Seal Kit | 46:11 | 2 | O-Ring |
Traction Hydraulic Assembly

| Ref. | Part Number | Qty. | Description | Ref. | Part Number | Qty. | Description | |
| 1 | 117-0290 | 1 | HYD Motor ASM | 7 | 59-7410 | 2 | Fitting-Diagnostic | |
| 2 | 117-0291 | 1 | HYD Motor ASM | 7:1 | 237-42 | 1 | O-Ring | |
| 3 | 340-17 | 4 | Fitting-Elbow, 90 DEG | 8 | 354-79 | 2 | Cap-Dust | |
| 3:1 | 237-65 | 1 | O-Ring | 9 | 340-139 | 2 | Fitting-Elbow 90 | |
| 3:2 | 237-80 | 1 | O-Ring | 9:1 | 237-81 | 1 | O-Ring | |
| 4 | 125-1493 | 1 | Tube ASM | 9:2 | 237-65 | 1 | O-Ring | |
| 4:1 | 237-65 | 1 | O-Ring | 10 | 127-2300 | 2 | Hose ASM | |
| 5 | 125-1494 | 1 | Tube ASM | 11 | 3296-42 | 2 | Nut-Lock, NI | |
| 5:1 | 237-65 | 1 | O-Ring | 12 | 3234-4 | 2 | Screw-HHF | |
| 6 | 2412-134 | 4 | Clamp-R |
Hydraulic Motor Assembly No. 117-0290 (CCW)

| Ref. | Part Number | Qty. | Description |
| 1 | 120-6268 | 1 | Seal Kit |
| 1:1 | 1 | Seal-Grease | |
| 1:2 | 1 | Shell-Bearing | |
| 1:3 | 3 | O-Ring | |
| 1:4 | 1 | Seal-Shaft | |
| 1:5 | 2 | Ring-Back Up | |
| 1:6 | 1 | O-Ring |
Hydraulic Motor Assembly No. 117-0291 (CW)

| Ref. | Part Number | Qty. | Description |
| 1 | 120-6268 | 1 | Seal Kit |
| 1:1 | 1 | Seal-Grease | |
| 1:2 | 1 | Shell-Bearing | |
| 1:3 | 3 | O-Ring | |
| 1:4 | 1 | Seal-Shaft | |
| 1:5 | 2 | Ring-Back Up | |
| 1:6 | 1 | O-Ring |
Front Lift Hydraulic Assembly

| Ref. | Part Number | Qty. | Description | Ref. | Part Number | Qty. | Description | |
| 1 | 119-6988 | 1 | HYD Cylinder ASM | 16 | 104-0046 | 3 | Pin-Slide, Cylinder | |
| 2 | 119-6987 | 2 | HYD Cylinder ASM | 17 | 3290-379 | 6 | Tie-Cable | |
| 3 | 105-7577 | 1 | HYD Lift Block Manifold | 18 | 104-8300 | 1 | Nut-HF, NI | |
| ASM | 19 | 323-9 | 3 | Screw-HH | ||||
| 4 | 340-132 | 6 | Fitting-Elbow, 90 DEG | 20 | 3296-59 | 3 | Nut-Lock, NI | |
| 4:1 | 237-78 | 1 | O-Ring | 21 | 127-2477 | 1 | Tube ASM | |
| 4:2 | 237-21 | 1 | O-Ring | 21:1 | 237-30 | 1 | O-Ring | |
| 5 | 127-2498 | 1 | Hose ASM | 22 | 340-127 | 1 | Nut-Bulkhead | |
| 6 | 127-2499 | 1 | Hose ASM | 24 | 340-98 | 1 | Fitting-Elbow, 90 DEG | |
| 7 | 127-2497 | 2 | Hose ASM | 24:1 | 237-79 | 1 | O-Ring | |
| 8 | 127-2496 | 2 | Hose ASM | 24:2 | 237-30 | 1 | O-Ring | |
| 9 | 2412-137 | 1 | Clamp-R, Double | 25 | 3234-14 | 2 | Screw-HHF | |
| 10 | 3230-23 | 1 | Bolt-CARR | 27 | 340-18 | 1 | Fitting-HYD, 90 DEG | |
| 11 | 3234-38 | 3 | Screw-HHF | 27:1 | 237-79 | 1 | O-Ring | |
| 12 | 3256-6 | 3 | Washer-Flat | 27:2 | 237-22 | 1 | O-Ring | |
| 13 | 117-0148 | 3 | Pin-Cylinder | 28 | 353-508 | 1 | Plug-HH | |
| 14 | 32120-93 | 6 | Ring-Retaining | 28:1 | 237-42 | 1 | O-Ring | |
| 15 | 3-6498 | 6 | Washer-Thrust | 29 | 127-2535 | 1 | Hose-ASM |
Hydraulic Cylinder Assembly No. 119-6988

| Ref. | Part Number | Qty. | Description |
| 1 | 119-6992 | 1 | Seal Kit |
| 1:1 | 1 | O-Ring ● | |
| 1:2 | 1 | Backup ● | |
| 1:3 | 1 | Bp Seal ● | |
| 1:4 | 1 | Wear Ring-Ht ● | |
| 1:5 | 1 | Bs Seal ● | |
| 1:6 | 1 | Dust Seal-Dt ● | |
| 1:7 | 1 | O-Ring ● | |
| 2 | 302-5 | 1 | Fitting-Grease |
| 3 | 302-33 | 1 | Fitting-Grease |
| 4 | 84-1680 | 1 | Ring-Retaining |
Hydraulic Cylinder Assembly No. 119-6987

| Ref. | Part Number | Qty. | Description |
| 1 | 119-6992 | 1 | Seal Kit |
| 1:1 | 1 | O-Ring ● | |
| 1:2 | 1 | Backup ● | |
| 1:3 | 1 | Bp Seal ● | |
| 1:4 | 1 | Wear Ring-Ht ● | |
| 1:5 | 1 | Bs Seal ● | |
| 1:6 | 1 | Dust Seal-Dt ● | |
| 1:7 | 1 | O-Ring ● | |
| 2 | 302-5 | 1 | Fitting-Grease |
| 3 | 302-33 | 1 | Fitting-Grease |
| 4 | 84-1680 | 1 | Ring-Retaining |
Hydraulic Manifold Block Assembly No. 105-7577

| Ref. | Part Number | Qty. | Description | Ref. | Part Number | Qty. | Description | |
| 1 | 1 | Block-Manifold | 11 | 110-8901 | 4 | Piston-Pilot | ||
| 2 | 110-8906 | 1 | Valve-Solenoid | 11:1 | 110-8900 | 1 | O-Ring | |
| 2:1 | 110-8908 | 1 | Spool Valve Seal Kit | 13 | 110-0497 | 2 | Coil-Solenoid | |
| 2:2 | 110-2634 | 1 | Nut-Coil | 14 | 110-8899 | 1 | Valve-Relief | |
| 3 | 110-9006 | 4 | Valve-Check | 14:1 | 105-9156 | 1 | Seal Kit | |
| 3:1 | 105-9156 | 1 | Seal Kit | 15 | 340-88 | 2 | Fitting-Straight | |
| 5 | 110-8905 | 1 | Valve-Relief, Solenoid | 15:1 | 237-22 | 1 | O-Ring | |
| 5:1 | 110-6316 | 1 | Seal Kit | 15:2 | 237-78 | 1 | O-Ring | |
| 5:2 | 130-8180 | 1 | Nut-Coil (9/16-24 Unef-2B) | 16 | 340-92 | 6 | Fitting-Straight | |
| 6 | 110-6344 | 2 | Coil-12V, DC | 16:1 | 237-78 | 1 | O-Ring | |
| 7 | 110-8904 | 3 | Orifice-Control, Flow (0.028) | 16:2 | 237-21 | 1 | O-Ring | |
| 7 | 125-8849 | 3 | Orifice-Flow Control | 17 | 110-8898 | 2 | Valve-Solenoid | |
| 8 | 110-8903 | 3 | Orifice-Control, Flow (0.055) | 17:1 | 107-7527 | 1 | Seal Kit | |
| 9 | 110-8902 | 2 | Orifice-Control, Flow (0.046) | 17:2 | 110-2634 | 1 | Nut-Coil | |
| 10 | 354-70 | 4 | Plug-Hex, Hollow | 17:3 | 110-8909 | 1 | Spacer-Coil | |
| 10:1 | 237-80 | 1 | O-Ring |
Rear Lift Hydraulic Assembly

| Ref. | Part Number | Qty. | Description | Ref. | Part Number | Qty. | Description | |
| 1 | 119-6988 | 2 | HYD Cylinder ASM | 16 | 3234-38 | 2 | Screw-HHF | |
| 2 | 340-132 | 1 | Fitting-Elbow, 90 DEG | 17 | 3256-6 | 2 | Washer-Flat | |
| 2:1 | 237-78 | 1 | O-Ring | 18 | 117-0148 | 2 | Pin-Cylinder | |
| 2:2 | 237-21 | 1 | O-Ring | 19 | 104-0046 | 2 | Pin-Slide, Cylinder | |
| 3 | 340-92 | 2 | Fitting-Straight | 20 | 32120-93 | 4 | Ring-Retaining | |
| 3:1 | 237-78 | 1 | O-Ring | 21 | 3-6498 | 4 | Washer-Thrust | |
| 3:2 | 237-21 | 1 | O-Ring | 22 | 100-7695 | 1 | Fitting-Elbow 90 | |
| 4 | 127-2568-01 | 1 | Bracket-Bulkhead, RH | 22:1 | 237-78 | 1 | O-Ring | |
| 5 | 127-2567-01 | 1 | Bracket-Bulkhead, LH | 22:2 | 237-21 | 1 | O-Ring | |
| 6 | 340-70 | 2 | Nut-Lock | 23 | 323-9 | 2 | Screw-HH | |
| 7 | 120-3767 | 1 | HYD Tube ASM | 24 | 3296-59 | 2 | Nut-Lock, NI | |
| 7:1 | 237-21 | 1 | O-Ring | 25 | 125-1489 | 1 | Tube ASM | |
| 8 | 110-9018 | 1 | Tube-HYD | 25:1 | 237-21 | 1 | O-Ring | |
| 8:1 | 237-21 | 1 | O-Ring | 25:2 | 237-22 | 1 | O-Ring | |
| 9 | 322-4 | 4 | Screw-HH | 26 | 125-1488 | 1 | Tube ASM | |
| 10 | 104-8300 | 5 | Nut-HF, NI | 26:1 | 237-21 | 1 | O-Ring | |
| 11 | 340-78 | 2 | Nut-Lock | 26:2 | 237-22 | 1 | O-Ring | |
| 12 | 110-0930 | 1 | Hose-HYD | 27 | 32144-57 | 2 | Screw | |
| 13 | 110-8966 | 1 | Hose-HYD | 28 | 56-7973 | 6 | Clamp-Tube | |
| 14 | 110-0929 | 1 | Hose-HYD | 29 | 3234-36 | 1 | Screw-HHF | |
| 15 | 110-0931 | 1 | Hose-HYD | 30 | 119-1418 | 4 | Plate-Clamp, Short |
Steering Hydraulic Assembly

| Ref. | Part Number | Qty. | Description | Ref. | Part Number | Qty. | Description | |
| 1 | 104-8301 | 2 | Nut-HF, NI | 17 | 127-2337 | 1 | Tube ASM | |
| 2 | 110-0906-01 | 1 | Support-Filter, Oil | 17:1 | 237-22 | 1 | O-Ring | |
| 3 | 127-2500 | 1 | Tube-Assembly | 18 | 127-2338 | 1 | Tube ASM | |
| 4 | 108-1711 | 1 | Tube-HYD | 18:1 | 237-22 | 1 | O-Ring | |
| 5 | 127-2335 | 1 | Tube ASM | 19 | 340-154 | 2 | Union-Bulkhead | |
| 6 | 127-2336 | 1 | Tube ASM | 19:1 | 237-22 | 2 | O-Ring | |
| 7 | 125-1437 | 1 | Tube ASM | 20 | 110-0928 | 1 | Hose-HYD | |
| 8 | 3234-33 | 2 | Screw-HHF | 21 | 3272-12 | 1 | Pin-Cotter | |
| 9 | 3234-36 | 3 | Screw-HHF | 22 | 110-9035 | 1 | HYD Cylinder ASM | |
| 10 | 104-8300 | 3 | Nut-HF, NI | 23 | 106-6895-03 | 1 | Ball Joint ASM | |
| 11 | 56-7973 | 6 | Clamp-Tube | 23:1 | 1 | Joint-Ball ● | ||
| 12 | 86-3010 | 1 | Filter-Oil | 23:1:1 | 32136-13 | 1 | Nut-SHH | |
| 13 | 117-5820 | 1 | Head-Filter | 23:1:2 | 106-6896 | 1 | Seal | |
| 14 | 100-4240 | 2 | Fitting-STR | 23:1:3 | 302-5 | 1 | Fitting-Grease | |
| 14:1 | 237-30 | 1 | O-Ring | 23:1:4 | 3210-7 | 1 | Screw-HH | |
| 14:2 | 237-81 | 1 | O-Ring | 23:1:5 | 32152-5 | 1 | Nut-Hex | |
| 15 | 340-70 | 4 | Nut-Lock | 24 | 106-6774 | 1 | Joint-Ball | |
| 16 | 3231-27 | 2 | Screw-CARR | 25 | 32151-104 | 1 | Ring-Retaining, External |

| Ref. | Part Number | Qty. | Description | Ref. | Part Number | Qty. | Description | |
| 26 | 3220-6 | 2 | Nut-Jam | 31 | 3290-378 | 2 | Tie-Cable | |
| 27 | 69-8980 | 1 | Washer | 32 | 59-7410 | 1 | Fitting-Diagnostic | |
| 28 | 340-132 | 2 | Fitting-Elbow, 90 DEG | 32:1 | 237-42 | 1 | O-Ring | |
| 28:1 | 237-78 | 1 | O-Ring | 33 | 354-79 | 1 | Cap-Dust | |
| 28:2 | 237-21 | 1 | O-Ring | 34 | 127-2341-01 | 1 | Bracket-Bulkhead, Steer | |
| 29 | 110-0973 | 1 | Hose-HYD | 35 | 32104-32 | 2 | Screw-HWH | |
| 30 | 302-40 | 1 | Fitting-Grease, 90 DEG | 36 | 119-1418 | 6 | Plate-Clamp, Short |
Hydraulic Cylinder Assembly No. 110-9035

Ref. Part Number Qty. Description
| 1 | 114-8875 | 1 | Seal Kit |
| 1:1 | 1 | Wear Ring ● | |
| 1:2 | 1 | O-Ring ● | |
| 1:3 | 1 | Backup ● | |
| 1:4 | 1 | Bp Seal ● | |
| 1:5 | 1 | Bs Seal ● | |
| 1:6 | 1 | Dust Seal ● | |
| 1:7 | 1 | O-Ring ● |
Engine, Air Cleaner and Muffler Assembly
| Ref. | Part Number | Qty. | Description | Ref. | Part Number | Qty. | Description | |
| 1 | 127-2400 | 1 | Engine-Kubota, D1105-E4B | 23 | 94-1416 | 1 | Adapter-Indicator | |
| 2 | 43-0090 | 12 | Screw-HH | 24 | 127-2550 | 1 | Bracket-Muffler | |
| 3 | 3234-29 | 4 | Screw-HHF | 25 | 127-2698 | 1 | Header-Exhaust | |
| 4 | 87-5100 | 4 | Washer-Snubbing | 26 | 127-2503 | 1 | Muffler-Exhaust | |
| 5 | 323-12 | 4 | Screw-HH | 27 | 2112-9 | 1 | Clamp | |
| 6 | 104-8301 | 8 | Nut-HF, NI | 27:1 | 32128-20 | 2 | Nut-HF | |
| 7 | 104-8300 | 8 | Nut-HF, NI | 28 | 3234-14 | 2 | Screw-HHF | |
| 8 | 62-6660 | 4 | Spacer | 30 | 100-4825 | 1 | Band-Mounting, Air Cleaner | |
| 9 | 48-9590 | 12 | Washer-Lock | 30:2 | 94-3653 | 1 | Bolt | |
| 10 | 115-8066-03 | 2 | Mount-Engine | 30:3 | 94-3654 | 1 | Spring | |
| 11 | 115-8063-03 | 1 | Mount-Engine, RH | 30:4 | 48-9510 | 1 | Nut | |
| 12 | 99-8343 | 1 | Gasket-Muffler | 31 | 322-10 | 2 | Screw-HH | |
| 14 | 104-2612 | 4 | Nut-HF | 33 | 127-2612 | 1 | Guard-Pipe, Tail | |
| 15 | 127-2428-03 | 1 | Tab-Tailpipe | 34 | 32104-32 | 2 | Screw-HWH | |
| 16 | 93-9164 | 1 | Indicator-Mini | 35 | 119-4478 | 1 | Sender-Temperature | |
| 17 | 106-5277 | 1 | Air Cleaner ASM | 36 | 105-2409 | 2 | Screw-HSH | |
| 18 | 127-2696 | 1 | Hose-Formed | 37 | 125-1562 | 1 | Actuator-Fuel | |
| 19 | 117-5164 | 1 | Hose-Formed | 38 | 115-8068-03 | 1 | Mount-Engine LH | |
| 20 | 127-2695-03 | 1 | Bracket-Air Cleaner | 39 | 107-1045 | 1 | Spring-Extension | |
| 21 | 121-5610-03 | 1 | Stand-Air Cleaner | 40 | 125-1472-03 | 1 | Brkt-Spring, Throttle | |
| 22 | 2412-130 | 4 | Clamp-Hose | 41 | 63-7790 | 1 | Screw-Cap |


Air Cleaner Assembly No. 106-5277

| Ref. | Part Number | Qty. | Description |
| 2 | 108-3810 | 1 | Filter-Air |
| 3 | 98-9771 | 1 | Cover ASM |
| 4 | 87-9400 | 1 | Valve-Vacuator |
| 5 | 285-17 | 1 | Plug-Pipe |
48 Volt Battery Assembly

| Ref. | Part Number | Qty. | Description | Ref. | Part Number | Qty. | Description | |
| 1 | 121-7185 | 4 | Battery-Wet | 16 | 122-0134 | 1 | Jumper-Cable-Battery | |
| 2 | 127-2413-01 | 1 | Tray | (Positive) | ||||
| 3 | 107-3154 | 2 | Nut-Push | 17 | 127-2306 | 4 | Strip-Foam | |
| 4 | 120-4743 | 2 | Screw-CARR | 18 | 56-7971 | 4 | Clamp-Tube | |
| 5 | 104-8301 | 6 | Nut-HF, NI | 19 | 127-2393 | 2 | Hold Down-Battery | |
| 6 | 3231-2 | 4 | Bolt-CARR | 20 | 127-2517-01 | 1 | Bracket-Cable | |
| 7 | 104-8300 | 2 | Nut-HF, NI | 21 | 3229-1 | 2 | Screw-CARR | |
| 8 | 127-2560 | 2 | Cover-Battery | 22 | 3256-78 | 4 | Washer-Flat | |
| 10 | 120-2229 | 2 | Washer | 23 | 104-7201 | 6 | Nut-HF, NI | |
| 11 | 3230-5 | 2 | Bolt-CARR | 24 | 3229-2 | 4 | Screw-CARR | |
| 12 | 3256-3 | 2 | Washer-Flat | 26 | 3217-7 | 2 | Nut-Hex | |
| 14 | 122-0268 | 1 | Negative Battery Cable | 27 | 122-0449 | 1 | Cable-Battery | |
| ASM | 27:1 | 122-0267 | 1 | Positive Battery Cable ASM | ||||
| 15 | 122-0133 | 2 | Positive Battery Cable ASM | 27:2 | 122-0319 | 1 | Positive Battery Cable ASM |
48 Volt Contactor Assembly

| Ref. | Part Number | Qty. | Description | Ref. | Part Number | Qty. | Description | |
| 1 | 127-2643 | 1 | Bracket | 12 | 127-2327 | 1 | Cover-Electrical | |
| 2 | 104-7136 | 1 | Contactor-Trombetta | 13 | 127-2372 | 1 | Strap-Jumper | |
| 3 | 127-2325 | 3 | Bracket-Fuse | 14 | 127-2305 | 1 | Fuse-250 Amp | |
| 4 | 114-3318 | 3 | Holder-Fuse, Mega | 15 | 127-8639 | 2 | Screw-HHF | |
| 5 | 127-2319 | 1 | Strap-Jumper | 16 | 122-0136 | 1 | Cable-Battery, Positive | |
| 6 | 107-0286 | 1 | Isolator | Jumper ASM | ||||
| 7 | 100-1719 | 1 | Screw-Flange | 17 | 3296-16 | 2 | Nut-Lock, NI | |
| 8 | 107-0394 | 9 | Washer-Flat | 18 | 104-8301 | 2 | Nut-HF, NI | |
| 9 | 107-0380 | 3 | Nut-HHF | 19 | 1-807512 | 8 | Bolt-CARR | |
| 10 | 32149-8 | 2 | Nut-Keps | 20 | 104-7201 | 8 | Nut-HF, NI | |
| 11 | 127-2371 | 6 | Nut-HF |
Reel Motor Plumbing Assembly

| Ref. | Part Number | Qty. | Description | Ref. | Part Number | Qty. | Description | |
| 1 | 125-1460-01 | 1 | Bracket-Bulkhead, Center | 14 | 119-4330 | 1 | Isolated Can Module ASM | |
| 2 | 240-3 | 2 | Grommet-Rubber | 15 | 3234-38 | 1 | Screw-HHF | |
| 3 | 127-2314-01 | 1 | Bracket-Bulkhead | 16 | 127-2351 | 10 | Screw-CARR | |
| 4 | 127-2317-01 | 1 | Bracket-Bulkhead | 17 | 104-8301 | 16 | Nut-HF, NI | |
| 5 | 32180-011 | 3 | Clip-Connector | 18 | 114-4681 | 1 | Screw-HHF | |
| 6 | 112-9630 | 1 | Module-Reel, I.D. | 19 | 99-7430 | 1 | Relay-Mini | |
| 7 | 99-7435 | 3 | Relay | 21 | 3290-321 | 2 | Screw-HWH | |
| 8 | 3296-2 | 3 | Nut-Lock, NI | 22 | 3234-33 | 1 | Screw-HHF | |
| 9 | 99-5107 | 1 | Nut-Lock | 23 | 3296-42 | 1 | Nut-Lock, NI | |
| 10 | 125-1458-03 | 2 | Bracket-Bulkhead, Rear | 24 | 127-2470 | 1 | Decal-Fuses, Cu | |
| 12 | 33103-020 | 2 | Screw-HHF | 25 | 32104-32 | 4 | Screw-HWH | |
| 13 | 104-1450 | 1 | Bolt-CARR |
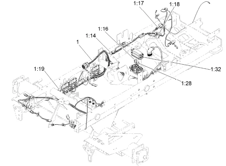
Main Wire Harness Assembly

| Ref. | Part Number | Qty. | Description |
| 1 | 122-0213 | 1 | Harness-Wire, Platform |
| 1:14 | 32180-043 | 3 | Resistor-120 Ohm |
| 1:16 | 122-0255 | 5 | Fuse-Maxi, 35 Amp-58V |
| 1:17 | 121-8861 | 1 | Fuse-Mini Blade, 2 Amp |
| 1:18 | 100-4918 | 1 | Diode |
| 1:19 | 119-7781 | 1 | Diode-Sealed |
| 1:28 | 122-0409 | 1 | Fuse-Mini Blade, 10 Amp |
| 1:32 | 32180-146 | 1 | Cover-Fuse |
Generator Assembly

| Ref. | Part Number | Qty. | Description | Ref. | Part Number | Qty. | Description | |
| 1 | 127-2655 | 1 | Generator/Controller ASM | 15 | 322-9 | 4 | Screw-HH | |
| 2 | 127-2318 | 1 | Key-Woodruff | 16 | 104-8300 | 4 | Nut-HF, NI | |
| 3 | 127-2635 | 1 | Hub-Coupler | 17 | 127-2465 | 1 | Shroud ASM | |
| 4 | 108-1420 | 3 | Screw-HSH | 18 | 127-2442 | 1 | Shroud-Intake, Bottom | |
| 5 | 125-1179 | 1 | Flange-Coupler | 19 | 127-2434 | 2 | Seal-Brush | |
| 6 | 127-2380 | 1 | Bellhousing | 20 | 120-9678 | 4 | Screw-HHF | |
| 7 | 95-8812 | 2 | Screw-HH | 21 | 104-7201 | 4 | Nut-HF, NI | |
| 8 | 3256-80 | 2 | Washer-Plain | 22 | 87-1910 | 2 | Pin-Dowel | |
| 9 | 104-3082 | 2 | Nut-Lock, HHF | 23 | 127-2472 | 1 | Hose-Formed | |
| 10 | AU100874 | 1 | Screw-HHF | 24 | 2412-140 | 2 | Clamp-Hose | |
| 11 | 127-2374 | 1 | Collar | 25 | 2412-39 | 1 | Clamp-R | |
| 12 | 114-4681 | 6 | Screw-HHF | 26 | 2412-41 | 1 | Clamp-R | |
| 13 | 33104-035 | 7 | Screw-HHF | 27 | 110-9012 | 1 | AC plug | |
| 14 | 125-1191 | 1 | Driveshaft ASM |
Generator/Controller Assembly No. 127-2655

| Ref. | Part Number | Qty. | Description | Ref. | Part Number | Qty. | Description | |
| 1 | 117-8181 | 1 | Controller ASM | 10:1 | 237-42 | 1 | O-Ring | |
| 2 | 127-2653 | 1 | Generator Service ASM | 11 | 119-7568 | 2 | Screw-HSBH | |
| 3 | 119-1065 | 6 | Screw-HWH | 12 | 117-8176 | 1 | O-Ring | |
| 4 | 119-1138 | 2 | Screw-HHF | 13 | 127-2318 | 1 | Key-Woodruff | |
| 5 | 120-4511 | 1 | Cover-Access | 14 | 125-1188 | 1 | Fan-Generator | |
| 6 | 120-4513 | 1 | Gasket-Cover, Access | 15 | 125-1185 | 2 | Spacer | |
| 7 | 3256-23 | 2 | Washer-Plain | 16 | 125-1187 | 1 | Nut | |
| 8 | 104-8300 | 2 | Nut-HF, NI | 17 | 127-2444 | 1 | Cover-Generator | |
| 9 | 322-38 | 2 | Screw-HH | 18 | 127-2747 | 1 | Sleeve-Harness, | |
| 10 | 353-989 | 1 | Plug-Hex, Hollow | Expandable |
Generator Assembly No. 127-2653

| Ref. | Part Number | Qty. | Description |
| 2 | 127-2652 | 1 | Rotor ASM |
| 2:1 | 120-4621 | 1 | Bearing |
| 2:3 | 120-4622 | 1 | Bearing |
| 6 | 117-8148 | 1 | Washer-Wave |
| 7 | 117-4514 | 1 | Cover-Generator |
| 8 | 33104-025 | 6 | Screw-HHF |
| 9 | 120-4518 | 1 | Gasket-Isolator |
| 10 | 112-5155 | 1 | Isolator-Thermal |
| 11 | 117-4501 | 2 | Spacer-Shoulder |
| 15 | 107-3244 | 1 | O-Ring |
| 16 | 117-8177 | 1 | O-Ring |
| 17 | 112-5199 | 1 | O-Ring |
| 21 | 353-989 | 1 | Plug-Hex, Hollow |
| 21:1 | 237-42 | 1 | O-Ring |
| 22 | 125-1509 | 1 | Seal |
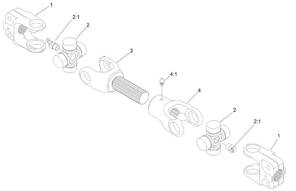
Drive Shaft Assembly No. 125-1191

| Ref. | Part Number | Qty. | Description |
| 1 | 54-9040 | 2 | Yoke-End |
| 2 | 112-1687 | 2 | Cross And Bearing Kit |
| 2:1 | 62-3820 | 1 | Fitting-Grease |
| 3 | 127-2553 | 1 | Yoke-Shaft |
| 4 | 127-2554 | 1 | Yoke-Telescoping |
| 4:1 | 302-22 | 1 | Fitting-Grease |
Crankcase Assembly

| Ref. | Part Number | Qty. | Description | Ref. | Part Number | Qty. | Description | |
| 10 | 115-3443 | 1 | Crankcase ASM | 130 | 98-9387 | 2 | Pin-Pipe | |
| 20 | 98-9398 | 4 | Cap-Sealing | 140 | 98-9539 | 1 | Pin-Pipe | |
| 30 | 98-7539 | 1 | Cap-Sealing | 150 | 98-9599 | 1 | Plug | |
| 40 | 98-9687 | 3 | Plug | 160 | 98-9630 | 1 | Pin-Spring, Start | |
| 50 | 105-3779 | 1 | Plug | 170 | 98-9675 | 1 | Plug | |
| 60 | 98-9597 | 3 | Plug | 180 | 98-9656 | 1 | Bushing-Governor, Gear | |
| 70 | 98-7487 | 2 | Plug | 190 | 120-2559 | 1 | Plug | |
| 80 | 98-9379 | 3 | Plug-Expansion | 200 | 98-7428 | 1 | Gasket | |
| 90 | 98-9668 | 1 | Plug-Expansion | 210 | 99-3447 | 1 | Plug | |
| 100 | 98-9375 | 2 | Pin-Straight | 220 | 106-7056 | 1 | Gasket | |
| 110 | 98-9377 | 2 | Pin-Straight | 230 | 98-9416 | 1 | Switch-Oil | |
| 120 | 98-9376 | 2 | Pin-Straight |
Oil Pan and Dipstick Assembly

| Ref. | Part Number | Qty. | Description |
| 10 | 112-0179 | 1 | Pan-Oil |
| 30 | 98-9351 | 22 | Bolt |
| 40 | 114-8151 | 1 | Plug-Drain |
| 50 | 98-7524 | 1 | Gasket |
| 60 | 108-1401 | 1 | Base-Filter |
| 70 | 98-7526 | 1 | Bolt |
| 80 | 105-3776 | 1 | O-Ring |
| 90 | 104-9348 | 1 | Gauge-Oil |
| 100 | 105-4580 | 1 | Guide-Gauge, Oil |
| 110 | 110-3720 | 1 | Plug-Gauge, Oil |
Cylinder Head Assembly

| Ref. | Part Number | Qty. | Description |
| 10 | 98-7531 | 2 | Hook-Engine |
| 20 | 100-9195 | 2 | Bolt |
| 30 | 130-1544 | 1 | Cylinder Head ASM |
| 40 | 105-3705 | 1 | Cap-Sealing |
| 50 | 98-9687 | 2 | Plug |
| 60 | 107-9066 | 3 | Guide-Valve, Inlet |
| 70 | 107-9067 | 3 | Guide-Valve, Exhaust |
| 80 | 98-9389 | 2 | Cap-Sealing |
| 90 | 98-9479 | 14 | Bolt-Head, Cylinder |
| 100 | 108-6573 | 1 | Gasket-Head, Cylinder |
| 110 | 98-9444 | 1 | Plug |
Gear Case and Oil Filter Cartridge Assembly

| Ref. | Part Number | Qty. | Description | Ref. | Part Number | Qty. | Description | |
| 10 | 130-1243 | 1 | *obs* Gear Case ASM | 120 | 100-1765 | 3 | Bolt | |
| 20 | 98-9598 | 2 | Plug | 130 | 125-9063 | 4 | Bolt-Sems | |
| 25 | 98-7487 | 1 | Plug | 140 | 98-9356 | 4 | Bolt | |
| 30 | 98-7562 | 1 | Washer-Plain | 150 | 107-9074 | 1 | Bolt | |
| 40 | 98-9388 | 1 | Joint-Pipe | 160 | 98-9586 | 1 | Bolt | |
| 50 | 130-1511 | 1 | Spring | 170 | 105-3709 | 1 | Stud | |
| 60 | 130-1510 | 1 | Valve-Relief | 180 | 100-2203 | 1 | Nut-Flange | |
| 80 | 130-1508 | 1 | Rotor ASM | 190 | 119-8038 | 1 | Seal-Oil | |
| 85 | 130-1509 | 1 | Cover-Pump, Oil | 200 | 105-3710 | 2 | Stud | |
| 90 | 130-1164 | 5 | Screw-Binding | 210 | 98-9641 | 1 | Cover-Case, Gear | |
| 110 | 98-9633 | 1 | Gasket-Case, Gear | 220 | 127-0511 | 1 | Filter-Oil |
Cylinder Head Cover Assembly

| Ref. | Part Number | Qty. | Description |
| 10 | 130-1372 | 1 | Cylinder Head Cover ASM |
| 30 | 130-1249 | 1 | Gasket-Head Cover |
| 40 | 110-3715 | 1 | Valve-Breather |
| 50 | 110-3714 | 1 | Cover-Breather |
| 60 | 98-9364 | 4 | Screw (With Washer) |
| 70 | 98-7766 | 1 | Pipe-Return, Water |
| 80 | 98-9455 | 3 | Nut-Cap |
| 90 | 98-9454 | 3 | Gasket |
| 100 | 108-2858 | 1 | Tube-Breather |
| 110 | 108-2859 | 1 | Clamp-Hose |
| 120 | 108-2860 | 1 | Clamp-Hose |
| 130 | 107-9075 | 1 | Plug-Filler, Oil |
| 140 | 99-3446 | 1 | O-Ring |
Main Bearing Case Assembly

| Ref. | Part Number | Qty. | Description | Ref. | Part Number | Qty. | Description | |
| 10 | 112-7026 | 1 | Wheel Bearing Case ASM | 90 | 115-4106 | 1 | Main Bearing Case ASM | |
| 20 | 98-9484 | 2 | Bolt-Case, Bearing | 100 | 98-9484 | 2 | Bolt-Case, Bearing | |
| 25 | 115-4121 | 1 | Metal-Crankshaft (STD) | 105 | 98-9524 | 1 | Metal-Crankshaft (STD Set) | |
| 25 | 112-7039 | 1 | Metal-Crankshaft (0.2Mm) | 105 | 127-0433 | 1 | Metal-Crankshaft (-0.2MM) | |
| 25 | 112-7040 | 1 | Metal-Crankshaft (-0.4Mm) | 110 | 98-9531 | 1 | Bearing-Main (0.4MM) | |
| 30 | 131-6554 | 1 | Gasket-Case, Bearing | 110 | 98-9485 | 2 | Bolt-Case, Bearing | |
| 40 | 112-7046 | 1 | Cover-Case, Bearing | 120 | 115-4107 | 1 | Main Bearing Case ASM | |
| 50 | 112-0180 | 1 | Seal-Oil | 130 | 98-9484 | 2 | Bolt-Case, Bearing | |
| 60 | 112-7037 | 1 | Gasket-Cover, Case | 140 | 98-9524 | 1 | Metal-Crankshaft (STD Set) | |
| 70 | 127-0441 | 8 | Bolt | 140 | 127-0433 | 1 | Metal-Crankshaft (-0.2MM) | |
| 80 | 127-0442 | 9 | Bolt | 140 | 98-9531 | 1 | Bearing-Main (0.4MM) |
Camshaft and Idle Gear Shaft Assembly

| Ref. | Part Number | Qty. | Description |
| 10 | 112-0185 | 6 | Tappet |
| 20 | 127-0421 | 6 | Rod-Push |
| 30 | 130-1545 | 1 | Camshaft ASM |
| 40 | 110-3729 | 1 | Ball |
| 50 | 98-9512 | 1 | Gear-Cam |
| 60 | 98-9378 | 1 | Key-Feather |
| 70 | 131-6555 | 1 | Stopper (Camshaft) |
| 80 | 98-7692 | 2 | Bolt |
| 90 | 117-7584 | 1 | Idler Gear ASM |
| 100 | 117-7585 | 1 | Bushing-Gear, Idle |
| 110 | 98-9535 | 1 | Collar-Gear, Idle |
| 120 | 98-9536 | 1 | Collar-Gear, Idle |
| 130 | 98-9534 | 1 | Circlip-Gear, Idle |
| 140 | 98-9533 | 1 | Shaft-Gear, Idle |
| 150 | 98-7692 | 3 | Bolt |
Piston and Crankshaft Assembly

| Ref. | Part Number | Qty. | Description | Ref. | Part Number | Qty. | Description | |
| 10 | 130-1546 | 3 | Piston (STD) | 160 | 105-3783 | 1 | O-Ring | |
| 10 | 130-1549 | 3 | Piston (+0.50MM) | 170 | 112-7005 | 1 | Bearing-Main (STD) | |
| 20 | 130-1506 | 3 | Piston Ring ASM (STD) | 170 | 98-9528 | 1 | Bearing-Main (-0.2MM) | |
| 20 | 130-1507 | 3 | Piston Ring ASM (+0.50MM) | 170 | 130-1274 | 1 | Metal-Crankshaft (-0.40Mm) | |
| 30 | 98-9513 | 3 | Pin-Piston | 200 | 98-9413 | 2 | Bearing-Thrust (STD) | |
| 40 | 98-9514 | 6 | Circlip-Pin, Piston | 200 | 127-0416 | 2 | Metal-Side (+0.2Mm) | |
| 50 | 117-7586 | 3 | Connecting Rod ASM | 200 | 127-0417 | 2 | Metal-Side (+0.40Mm) | |
| 60 | 115-3014 | 3 | Bushing-Pin, Piston | 210 | 98-9688 | 2 | Bearing-Thrust (STD) | |
| 70 | 98-9517 | 6 | Bolt-Rod, Connecting | 210 | 127-0437 | 2 | Metal-Side (+0.2MM) | |
| 80 | 98-9553 | 3 | Bearing-Rod (STD) | 210 | 127-0438 | 2 | Metal-Side (+0.40MM) | |
| 80 | 117-7587 | 3 | Metal-Crankpin (-0.2MM) | 220 | 130-1547 | 3 | Piston Kit | |
| 80 | 117-7588 | 3 | Metal-Crankpin (-0.4MM) | 220 | 130-1548 | 3 | Piston Kit | |
| 90 | 130-1375 | 1 | Crankshaft ASM | 230 | 130-1501 | 1 | Engine Metal Kit (STD) | |
| 110 | 117-7561 | 1 | Gear-Crankshaft | 230 | 130-1498 | 1 | Engine Metal Kit | |
| 120 | 98-9666 | 1 | Key | (-0.20Mm/+0.20Mm) | ||||
| 130 | 127-0445 | 1 | Gear-Drive, Oil Pump | 230 | 130-1499 | 1 | Engine Metal Kit | |
| 140 | 98-9522 | 1 | Sleeve-Crankshaft | (-0.40Mm/+0.40Mm) | ||||
| 150 | 127-0444 | 1 | Collar-Crankshaft |
Fuel Camshaft and Governor Shaft Assembly

| Ref. | Part Number | Qty. | Description | Ref. | Part Number | Qty. | Description | |
| 10 | 98-9459 | 1 | Camshaft-Fuel | 130 | 98-9673 | 1 | Gear-Governor | |
| 20 | 107-9077 | 1 | Bearing-Ball | 140 | 98-9561 | 1 | Holder-Weight, Governor | |
| 30 | 107-9078 | 1 | Bearing-Ball | 150 | 130-1240 | 2 | Governor Weight ASM | |
| 60 | 130-1512 | 1 | Nut | 160 | 98-9560 | 2 | Shaft-Weight, Governor | |
| 70 | 120-2562 | 1 | Gear-Pump, Injection | 170 | 98-9692 | 2 | Roller | |
| 80 | 98-9595 | 1 | Key-Woodruff | 180 | 98-9563 | 1 | Sleeve-Governor | |
| 90 | 98-9511 | 1 | Stopper-Fuel, Camshaft | 190 | 98-9564 | 1 | Washer-Thrust | |
| 100 | 98-7692 | 2 | Bolt | 200 | 107-9079 | 1 | Bearing-Ball | |
| 110 | 130-1255 | 1 | Governor Shaft ASM | 210 | 98-9657 | 1 | Circlip-Shaft, Governor | |
| 120 | 98-9562 | 1 | Holder-Gear, Governor | 220 | 98-9565 | 1 | Screw-Set |
Idle Apparatus Assembly

| Ref. | Part Number | Qty. | Description |
| 10 | 98-9678 | 1 | Idle Apparatus ASM |
| 20 | 112-7014 | 1 | Adjusting Bolt ASM |
| 30 | 98-9439 | 1 | Nut |
| 40 | 112-0181 | 1 | Nut |
| 50 | 98-7654 | 2 | Gasket |
| 60 | 98-7656 | 1 | Cap |
| 70 | 112-7015 | 1 | Bolt-Adjusting |
| 80 | 100-2175 | 1 | Nut-Lock |
| 90 | 112-0181 | 1 | Nut |
| 100 | 98-7654 | 1 | Gasket |
| 110 | 107-9081 | 1 | Gasket |
| 120 | 131-6556 | 1 | Bolt |
| 130 | 98-7572 | 1 | Nut |
| 140 | 98-7654 | 1 | Gasket |
Injection Pump Assembly

| Ref. | Part Number | Qty. | Description | Ref. | Part Number | Qty. | Description | |
| 10 | 98-9596 | 1 | Joint-Eye | 90 | 98-9457 | 1 | Shim-Injection (0.25MM) | |
| 20 | 98-9643 | 1 | Injection Pump ASM | 90 | 98-9458 | 1 | Shim-Injection (0.30MM) | |
| 30 | 98-9464 | 1 | Bolt-Joint | 90 | 115-3046 | 1 | Shim-Injection (0.35MM) | |
| 40 | 98-9445 | 2 | Gasket | 90 | 115-3045 | 1 | Shim-Injection (0.175MM) | |
| 50 | 98-9430 | 1 | Screw | 110 | 117-7564 | 2 | Bolt-Hex Soc HD | |
| 60 | 98-9446 | 1 | Gasket | 120 | 98-9438 | 2 | Stud | |
| 70 | 98-9466 | 1 | Plug | 130 | 98-9440 | 2 | Nut-Cap | |
| 80 | 98-9451 | 1 | Gasket | 140 | 98-7699 | 2 | Washer-Spring | |
| 90 | 98-9456 | 1 | Shim-Injection (0.20MM) |
Governor Assembly

| Ref. | Part Number | Qty. | Description |
| 10 | 105-3786 | 1 | Spring-Start |
| 20 | 98-9681 | 1 | Spring-Governor |
| 30 | 115-4502 | 1 | Fork Lever ASM |
| 40 | 107-9084 | 1 | Lever-Fork |
| 50 | 107-9085 | 1 | Shaft-Lever, Fork |
| 60 | 107-9086 | 1 | Shaft-Lever, Fork |
| 70 | 98-9570 | 1 | Bearing-Miniaturize |
| 80 | 115-4122 | 1 | Cover-Shaft, Fork Lever |
| 90 | 98-9682 | 1 | Gasket |
| 100 | 98-9350 | 2 | Bolt |
| 110 | 98-9567 | 1 | Collar |
| 120 | 98-9571 | 1 | Bearing-Miniaturize |
Speed Control Plate Assembly

| Ref. | Part Number | Qty. | Description | Ref. | Part Number | Qty. | Description | |
| 10 | 105-3735 | 1 | Control Plate ASM | 120 | 98-9664 | 1 | Shaft-Lever, Stop | |
| 20 | 98-9662 | 1 | Lever-Control, Speed | 130 | 98-9637 | 1 | Gasket | |
| 30 | 98-9572 | 2 | Lever-Control, Speed | 140 | 98-7692 | 1 | Bolt | |
| 40 | 105-3788 | 1 | O-Ring | 150 | 127-0401 | 1 | Bolt-Hex | |
| 50 | 98-7602 | 2 | Pin-Spring | 160 | 98-7654 | 1 | Gasket | |
| 60 | 98-9594 | 2 | Washer-Plain | 170 | 105-3710 | 2 | Stud | |
| 70 | 98-9589 | 2 | Nut | 180 | 100-2203 | 2 | Nut-Flange | |
| 80 | 98-9658 | 1 | Governor Lever ASM | 190 | 117-7565 | 2 | Bolt-Adjusting | |
| 90 | 98-9663 | 1 | Lever-Stop, Engine | 200 | 117-7566 | 1 | Bolt-Adjusting | |
| 100 | 98-7601 | 1 | Seal-Oil | 210 | 98-7572 | 3 | Nut | |
| 110 | 98-9472 | 1 | Spring-Return |
Nozzle Holder and Glow Plug Assembly

| Ref. | Part Number | Qty. | Description | Ref. | Part Number | Qty. | Description | |
| 10 | 98-9620 | 1 | Overflow Pipe ASM | 90 | 98-9653 | 1 | Pipe-Injection | |
| 20 | 98-9431 | 1 | Screw-Bleeder, Air | 100 | 98-9654 | 1 | Pipe-Injection | |
| 30 | 98-7654 | 1 | Gasket | 110 | 98-9655 | 1 | Pipe-Injection | |
| 40 | 98-9420 | 1 | Overflow Pipe ASM | 120 | 98-7682 | 2 | Clamp-Pipe | |
| 45 | 112-0182 | 1 | Pipe-Overflow | 130 | 98-7683 | 2 | Clamp-Pipe | |
| 50 | 98-7671 | 2 | Clip-Pipe | 140 | 98-7684 | 2 | Screw (W/Washer) | |
| 60 | 130-1410 | 3 | Nozzle Holder Kit | 150 | 130-1411 | 3 | Plug-Glow | |
| 65 | 121-2411 | 3 | Nut | 160 | 98-9631 | 1 | Cord-Plug, Glow | |
| 70 | 98-7676 | 3 | Gasket | 170 | 99-8377 | 3 | Nut-Flange | |
| 80 | 98-7677 | 3 | Seal-Heat |
Nozzle Holder Assembly

| Ref. | Part Number | Qty. | Description | Ref. | Part Number | Qty. | Description | |
| 10 | 130-1410 | 3 | Nozzle Holder Kit | 110 | 99-8311 | 3 | Washer-Adjust (0.20MM) | |
| 20 | 121-2411 | 3 | Nut | 110 | 99-8312 | 3 | Washer-Adjust (0.30MM) | |
| 30 | 99-8302 | 3 | Washer-Adjusting | 110 | 99-8313 | 3 | Washer-Adjust (0.40MM) | |
| 40 | 99-8303 | 3 | Spring-Nozzle | 110 | 99-8314 | 3 | Washer-Adjust (0.50MM) | |
| 50 | 99-8304 | 3 | Spacer-Distance | 110 | 99-8315 | 3 | Washer-Adjust (0.52MM) | |
| 60 | 99-8305 | 3 | Rod-Push | 110 | 99-8316 | 3 | Washer-Adjust (0.54MM) | |
| 70 | 99-8306 | 3 | Nut-Nozzle | 110 | 99-8317 | 3 | Washer-Adjust (0.56MM) | |
| 80 | 99-8307 | 3 | Washer-Plain | 110 | 99-8318 | 3 | Washer-Adjust (0.58MM) | |
| 90 | 115-3020 | 3 | Piece-Nozzle | 110 | 99-8319 | 3 | Washer-Adjust (0.80MM) | |
| 100 | 99-8309 | 3 | Adjusting Washer ASM | 120 | 98-7676 | 3 | Gasket | |
| 110 | 99-8310 | 3 | Washer-Adjust (0.10MM) | 130 | 98-7677 | 3 | Seal-Heat |
Cover Assembly

| Ref. | Part Number | Qty. | Description |
| 10 | 99-3514 | 1 | Cover |
| 20 | 117-7562 | 1 | Gasket-Pump, Fuel |
| 30 | 100-2203 | 2 | Nut-Flange |
| 40 | 127-0419 | 1 | Cover-Solenoid |
| 50 | 98-9683 | 1 | Gasket-Cover, Solenoid |
| 60 | 130-1155 | 2 | Screw-HSH |
| 70 | 112-7016 | 1 | Cover-Pump |
Alternator, Pulley and Fan Assembly

| Ref. | Part Number | Qty. | Description |
| 10 | 131-6557 | 1 | Alternator ASM |
| 20 | 112-7047 | 1 | Stay-Dynamo |
| 30 | 108-7088 | 1 | Bolt |
| 40 | 98-9360 | 1 | Bolt |
| 50 | 98-7737 | 1 | Nut |
| 60 | 98-9366 | 1 | Washer-Plain |
| 70 | 98-7738 | 1 | Washer-Spring |
| 90 | 98-7692 | 1 | Bolt |
| 110 | 98-9473 | 1 | Pulley-Drive, Fan |
| 120 | 98-9585 | 1 | Bolt |
| 130 | 110-0966 | 1 | Fan-Cooling |
| 140 | 130-1567 | 1 | Pulley-Fan |
| 150 | 108-2872 | 1 | Collar-Fan |
| 160 | 108-2873 | 4 | Bolt-Flange |
| 170 | 104-3494 | 1 | Belt-V |
Alternator Assembly No. 131-6557

| Ref. | Part Number | Qty. | Description | Ref. | Part Number | Qty. | Description | |
| 10 | 131-6557 | 1 | Alternator ASM | 150 | 107-0140 | 1 | Cover-End | |
| 20 | 98-9453 | 1 | Pulley-Dynamo | 160 | 127-1612 | 1 | Rectifier ASM | |
| 30 | 98-7708 | 1 | Nut | 170 | 98-7722 | 1 | Bushing-Insulation | |
| 40 | 98-7709 | 1 | Collar | 180 | 107-0141 | 1 | Brush Holder ASM | |
| 50 | 107-0136 | 1 | Rotor ASM | 190 | 98-7724 | 2 | Brush | |
| 60 | 98-7711 | 1 | Cover-Bearing | 200 | 98-7725 | 2 | Spring-Brush | |
| 70 | 107-0138 | 1 | Bearing-Ball | 210 | 98-7726 | 2 | Screw-Head, Round | |
| 80 | 98-7713 | 1 | Washer-Thrust | 220 | 98-7727 | 6 | Screw-Head, Round | |
| 90 | 131-6559 | 1 | Frame-End, Drive | 230 | 98-7728 | 1 | Screw-Head, Round | |
| 100 | 98-7715 | 1 | Plate-Retainer | 240 | 98-7729 | 3 | Bolt | |
| 110 | 98-7716 | 4 | Screw-Head, Round | 250 | 98-7730 | 2 | Nut | |
| 120 | 98-7717 | 2 | Bolt-Through | 260 | 98-7731 | 2 | Bolt | |
| 130 | 131-6560 | 1 | *obs* Bearing-Ball | 270 | 98-7732 | 1 | Nut | |
| 140 | 107-9087 | 1 | Frame-End | 280 | 110-3799 | 1 | Regulator ASM |
Starter and Flywheel Assembly

| Ref. | Part Number | Qty. | Description |
| 10 | 131-6561 | 1 | Starter ASM |
| 20 | 98-7697 | 2 | Bolt |
| 30 | 98-7739 | 1 | Nut |
| 40 | 105-2893 | 1 | Washer-Spring |
| 50 | 105-3784 | 1 | Flywheel ASM |
| 60 | 115-3015 | 1 | Gear-Ring |
| 70 | 98-9537 | 6 | Bolt-Flywheel |
| 80 | 98-9486 | 1 | Plate-End, Rear |
| 90 | 98-9392 | 8 | Bolt |
Starter Assembly No. 131-6561

| Ref. | Part Number | Qty. | Description | Ref. | Part Number | Qty. | Description | |
| 10 | 131-6561 | 1 | Starter ASM | 130 | 99-8372 | 1 | Magnetic Switch ASM | |
| 20 | 98-7741 | 1 | Yoke ASM | 140 | 98-7758 | 2 | Bolt ASM | |
| 30 | 98-7742 | 1 | Armature ASM | 150 | 98-7753 | 5 | Roller | |
| 40 | 98-7744 | 1 | Bearing | 160 | 98-7756 | 2 | Bolt | |
| 50 | 98-7743 | 1 | Bearing | 170 | 98-7755 | 1 | Ball | |
| 60 | 99-8373 | 1 | Clutch-Running, Over | 180 | 100-9240 | 2 | Bolt | |
| 70 | 98-7752 | 1 | Retainer | 190 | 98-7754 | 1 | Spring | |
| 80 | 98-7751 | 1 | Gear | 200 | 98-7757 | 2 | O-Ring | |
| 90 | 99-8374 | 1 | Frame-End, Drive | 210 | 98-7759 | 1 | Pipe-Drain | |
| 100 | 98-7748 | 1 | Frame-End | 220 | 99-8376 | 1 | Nut-Hex | |
| 110 | 98-7749 | 1 | Brush Holder ASM | 230 | 98-7760 | 1 | Nut-Hex | |
| 120 | 98-7750 | 4 | Spring-Brush | 240 | 110-0020 | 1 | Cover-Terminal |
Water Flange and Thermostat Assembly

| Ref. | Part Number | Qty. | Description |
| 10 | 98-9713 | 1 | Water Flange ASM |
| 20 | 98-9580 | 1 | Pipe-Return, Water |
| 30 | 105-3747 | 2 | Plug |
| 40 | 99-3583 | 2 | Gasket |
| 50 | 98-9638 | 1 | Gasket-Flange, Water |
| 60 | 98-7692 | 3 | Bolt |
| 70 | 98-9356 | 1 | Bolt |
| 80 | 98-9578 | 1 | Pipe-Return, Water |
| 90 | 125-9078 | 2 | Clamp-Hose |
| 120 | 98-7778 | 1 | Thermostat ASM |
| 130 | 98-9471 | 1 | Cover-Thermostat |
| 140 | 105-3748 | 1 | Gasket-Thermostat |
| 150 | 98-7777 | 2 | Bolt |
Water Pump Assembly

| Ref. | Part Number | Qty. | Description |
| 10 | 107-9089 | 1 | Water Pump ASM |
| 20 | 99-3516 | 1 | Flange-Pump, Water |
| 40 | 105-3750 | 1 | Mechanical Seal ASM |
| 50 | 112-7017 | 1 | Impeller-Pump, Water |
| 60 | 100-1932 | 1 | Pipe-Return, Water |
| 70 | 99-3454 | 1 | Gasket-Pump, Water |
| 80 | 98-9353 | 4 | Bolt |
| 90 | 107-9090 | 2 | Bolt |
| 100 | 98-9716 | 1 | Pipe-Water |
| 110 | 107-9091 | 1 | Pipe-Water |
| 120 | 127-0439 | 2 | Clamp-Hose |
Valve and Rocker Arm Assembly

| Ref. | Part Number | Qty. | Description | Ref. | Part Number | Qty. | Description | |
| 10 | 112-7018 | 3 | Valve-Inlet | 110 | 105-3758 | 1 | Pin-Spring | |
| 20 | 120-2564 | 3 | Valve-Exhaust | 120 | 98-9507 | 2 | Washer-Shaft, Rocker Arm | |
| 30 | 98-9648 | 6 | Spring-Valve | 130 | 110-3832 | 2 | Washer-Plain | |
| 40 | 107-9092 | 6 | Retainer-Spring | 140 | 98-9504 | 2 | Spring-Arm, Rocker | |
| 50 | 117-7572 | 6 | Collet-Spring, Valve | 160 | 112-7020 | 6 | Rocker Arm ASM | |
| 60 | 99-8385 | 6 | Seal-Stem, Valve | 170 | 98-9502 | 6 | Screw-Adjusting | |
| 70 | 98-9497 | 6 | Cap-Valve | 180 | 98-9503 | 6 | Nut | |
| 80 | 130-1248 | 1 | Shaft-Arm, Rocker | 190 | 98-9506 | 3 | Stud | |
| 90 | 99-8363 | 2 | Bolt-Flange | 200 | 131-6563 | 3 | Nut-Flange | |
| 100 | 98-9505 | 3 | Bracket-Arm, Rocker |
Inlet and Exhaust Manifold Assembly

| Ref. | Part Number | Qty. | Description |
| 10 | 108-6577 | 1 | Inlet Manifold ASM |
| 20 | 98-9492 | 1 | Joint-Pipe, Breather |
| 30 | 98-9609 | 1 | Gasket-Manifold, Inlet |
| 40 | 127-0403 | 3 | Bolt-Flange |
| 50 | 98-9353 | 1 | Bolt |
| 60 | 125-9063 | 2 | Bolt-Sems |
| 70 | 107-9093 | 1 | Manifold-Exhaust |
| 80 | 99-8327 | 1 | Gasket-Manifold, Exhaust |
| 90 | 98-9588 | 6 | Stud |
| 100 | 98-9665 | 6 | Nut |
| 110 | 98-7769 | 4 | Stud |
Miscellaneous Engine Parts


Attachments and Accessories
For 03674 Reel master 5010-H Traction Unit
- DPA Cutting Unit with 5in Reel Finishing Kit……………………………………………………………………………… 03628
- DPA Cutting Unit with 7in Reel Finishing Kit……………………………………………………………………………… 03629
- 8-Blade DPA Cutting Unit with 5in Reel……………………………………………………………………………………. 03634
- 11- Blade DPA Cutting Unit with 5in Reel………………………………………………………………………………….. 03635
- 8-Blade DPA Cutting Unit with 7in Reel……………………………………………………………………………………. 03636
- 11-Blade DPA Cutting Unit with 7in Reel………………………………………………………………………………….. 03637
- 8-Blade Radial Reel DPA Cutting Unit with 7in Reel…………………………………………………………………… 03638
- 8-Blade Forward Swept Reel DPA Cutting Unit with 7in Reel ………………………………………………………. 03639
- 11-Blade Forward Swept Reel DPA Cutting Unit with 7in Reel …………………………………………………….. 03641
- Cross Trax All-Wheel Drive Kit ……………………………………………………………………………………………….. 03655
- Cross Trax All-Wheel Drive Finishing Kit ………………………………………………………………………………….. 03656
- Air Ride Seat Suspension Kit…………………………………………………………………………………………………. 03667
- Turf Evaluator ……………………………………………………………………………………………………………………… 04399
- Wheel Weight Kit …………………………………………………………………………………………………………….. 104-1478
- Premium All Season Hydraulic Fluid (55 Gallon Drum) ……………………………………………………………108-1177
- Premium All Season Hydraulic Fluid (5 Gallon Pail)………………………………………………………………..108-1178
- Premium All Purpose Grease (Tube) ……………………………………………………………………………………108-1190
- Gauge Bar Assembly……………………………………………………………………………………………………….. 108-6715
- ROPS Extension Kit…………………………………………………………………………………………………………..110-8030
- Weight Plate ………………………………………………………………………………………………………………. 110-8985-03
- Rear Lift Cylinder Limit Kit ………………………………………………………………………………………………….110-9604
- 5in Air Cleaner Safety Element……………………………………………………………………………………………114-4057
- Premium Synthetic Bio-Degradable Hydraulic Fluid (5 Gallon Pail) …………………………………………..119-2157
- Premium Synthetic Bio-Degradable Hydraulic Fluid (55 Gallon Drum)……………………………………….119-2158
- Large Seat Cover…………………………………………………………………………………………………………….. 120-5179
- Premium Engine Oil 10w30 (55 Gallon Drum) ……………………………………………………………………… 121-6392
- Premium Engine Oil 10w30 (5 Gallon Pail) ………………………………………………………………………….. 121-6393
- Canopy Completion Kit…………………………………………………………………………………………………….. 130-5895
- Brush and Handle Kit…………………………………………………………………………………………………………. 29-9100
- MVP Filter Kit………………………………………………………………………………………………………………………. 30247
- Universal Sunshade …………………………………………………………………………………………………………….. 30349
- Red Universal Sunshade………………………………………………………………………………………………………. 30552
- Spark Arrestor ………………………………………………………………………………………………………………….. 98-9099



















