
Instructions for use cooker hood
WDD9074MM

Pictograms used
Important information
Tip- Conseil – Tipp
Your cooker hood
Description

| 1. On/Off button 2. Timer button 3. Clean Air button 4. Reduce extraction button 5. Display | 6. Increase extraction button 7. Intensive setting button 8. Slide in/out button 9. Lighting on/off button |
Introduction
Please read these instructions carefully to become informed quickly of all possibilities offered by this appliance. These instructions contain information about using, operating and maintaining the appliance.
Please retain the operating and installation instructions.
Any subsequent user of this appliance may also benefit from these.
Please read the separate safety instructions prior to use.
You can find the most recent version of the instructions for use on our website.
Outlet systems
The cooker hood can be connected in two ways (depending on the model):
- As cooker hood on a outlet duct.
The extracted cooking vapour is filtered via the metal grease filter and discharged outside. This is the most effective extraction method!
- As recirculation cooker hood. The metal grease filter and additionally installed carbon filter, filter out grease particles and smells from the extracted cooking vapour. The extracted air is not discharged but is recirculated into the kitchen.
Please note! The carbon filter needs to be ordered separately.
USE
Controls

Only use the cooker hood when it is completely extended.
Switch the cooker hood on as soon as you start cooking and switch it off a few minutes after you have finished cooking. This is the most effective way to remove kitchen vapour.
Please note: Avoid wedging your hands when sliding the cooker hood in and out. Don’t place your hands within the cooker hood’s movement range! Keep children away from the cooker hood.
Please note: Cooking utensils placed within the appliance’s movement range can topple over. Spilled hot liquids can result in physical injury. Do not place cooking utensils within the appliance’s movement range.
Sliding out the cooker hood
Check that there are no objects within the appliance’s movement range.
- Press button `8′.
The cooker hood will slide out completely.
The fan will start on setting 2.
The lighting will switch on.
Sliding in the cooker hood
Close the filter cover completely. Check that there are no objects within the appliance’s movement range.
- Press button `8′.
The cooker hood will slide in completely. The lighting and fan will switch off.
Switching fan on/off
Always adjust the fan speed to the current conditions. If there is a lot of condensation select a higher fan speed.
- Switch on the fan using the On/Off button (1) and select the required extractor setting using buttons `4′ and `6′. The display `5′ indicates which setting has been selected.
- Press the intensive button `7′ to activate intensive setting. The fan runs for 6 minutes at the highest setting.
After 6 minutes the intensive setting will return automatically to setting 2.
Switching lighting on/off
- Use button `9′ to switch the lighting on or off. The lighting will switch on at maximum setting.
Dimming the lighting
- Dim the lighting by depressing the `9′ button for 2 seconds. The lighting strength will change from maximum to minimum. Depress lighting button `9′ again to return to maximum setting.
![]()
Clean Air function
The Clean Air function allows you to freshen the air in your kitchen automatically. The fan will switch on automatically for 10 minutes every hour at the lowest setting. The cooker hood will switch off after 24 hours.
- Press the Clean Air button `3′.
The `Clean Air’ indication appears in the display. - Press the on/off button (1) to de-activate the Clean Air function.
Saturation indicator
The relevant symbol will flash in the display to indicate the saturation of the grease or carbon filter.
![]()
Grease filter indicator
- Clean the grease filter when the `Filter’ cleaning symbol appears in the display (see chapter `Maintenance’).
![]()
Carbon filter indicator
- Replace the carbon filter when the `carbon filter’ cleaning symbol appears in the display (see chapter `Maintenance’).
Resetting saturation indicators
- Switch off the cooker hood using the On/Off button (1).
- Depress the `-‘ button (4) for two seconds.
The saturation indicator has been reset. The symbol will disappear from the display.
![]()
Setting the display for recirculation
Prior to use on a recirculation system set the display to `recirculation’.
- Switch off the cooker hood using the On/Off button (1). Ensure that the cooker hood is connected to the power supply!
- Depress `+’ (6) for 2 seconds until the `carbon filter’ cleaning symbol lights up twice in the display. The display is now set for use on a recirculation system.
- Press the `+’ button (6) several times to return to the fan system (the `carbon filter’ cleaning symbol will light up once in the display).
MAINTENANCE
Cleaning Filters
Note! First cut the power to the cooker hood by removing the plug from the socket or switching off the fuse in the fuse box. The hood should be cleaned regularly (at least in the same frequency as the grease filters are cleaned). Do not use abrasive cleaners.
Do not use alcohol for cleaning!
Note! Clean the appliance and the filters regularly. This prevents situations that may result in fire hazard. The manufacturer is not liable for damage resulting from poor maintenance.
Stainless steel cooker hoods
- Clean the cooker hood with soapy water and a soft cloth. Then rinse with clean water. Do not use aggressive cleaning agents such as caustic soda.
- Do not use scouring pads or other abrasive agents on stainless steel cooker hoods.
- Finish with a non-abrasive, non-polishing agent and buff the stainless steel in the direction of the grain.
Filters
Filters need to be cleaned regularly to ensure that they function properly.
Opening the filter cover
Please note! Prior to removing the filter cover, first cut the power to the cooker hood by removing the plug from the socket or switching off the fuse in the fuse box.

- Pull the filter cover towards you.
- Remove the filter cover.
Please note: grease can accumulate in the bottom of the grease filter. Hold the filter holder vertically to prevent grease from dripping out.

- Open the metal grease filter lock and remove the filter from the holder.
- Clean the metal grease filter and filter cover.
- Clean the inside of the cooker hood.
- Replace the metal grease filter and filter cover.
Grease filters
- Clean the grease filters after approximately 100 hours, two months of use or when indicated by the filter cleaning indicator.
- Use a neutral cleaning agent to remove stains.
- Grease filters can also be cleaned in the dishwasher. A short cycle at a low temperature should be used for this. Place the grease filters with the openings facing downwards in the dishwasher so the water can drain out of the filter.
Please note: Aluminium grease filters become dull as a result of dishwasher cleaning agents. Bear this in mind if you clean aluminium filters in the dishwasher.
Active carbon filters:
The regenerable active carbon filter must be washed by hand with neutral cleaning products, or in the dishwasher at a maximum temperature of 65 °C (the washing should be done without any plates, dishes, cups, etc. in the machine). Removing excess water without damaging the filter: remove the filter from the holder and allow it to dry in the oven for at least 15 minutes at a maximum temperature of 100 °C. To keep the regenerable carbon filter efficient, this action should be repeated every 4 months or when indicated by the filter indicator. The filter must be replaced after no more than 3 years, or if it has been damaged.

It is important that the grease filters and the regenerable active carbon filter are thoroughly dry before repositioning.
Operation:
- Using a carbon filter creates more sound than when using the cooker hood with an outlet.
- The carbon filter’s operation is optimal at a lower motor speed.
You should, therefore, avoid using the boost function.
Lighting
This hood is fitted with a light system. This light system has to be replaced by an authorized technician. Do not attempt to replace it by yourself.
The lamp in this household appliance is only suitable for illumination of this appliance. The lamp is not suitable for household room illumination.
INSTALLATION
General
This appliance should be connected to the mains power by a registered installer, who knows and applies the correct safety specifications. The appliance meets European requirements.
Important information:
- If the appliance is connected to an existing ducting outlet, no other appliances should be connected to that outlet (such as a heater or a boiler).
- Follow the applicable local regulations regarding the ventilation of gas appliances.
- The cooker hood will work better with a short outlet pipe and as few bends as possible.
- Prior to drilling check that there are no pipes or cables present.
- The cooker hood connection pipe is 120 mm or 150 mm in diameter. Preferably also use this diameter for the outlet pipe.
Electrical connection
This appliance is of class I construction and must be earthed.
Check whether the voltage mentioned on the type plate corresponds with the voltage of the domestic electric installation. Connection to the mains power should be carried out as follows:
BROWN= L live
BLUE = N neutral
YELLOW/GREEN = earth.
When connecting to the power supply ensure that the fuse box has a grounding conductor.
Each cooker hood is equipped with a connection plug. Mount the cooker hood so that you can reach the plug.
Please note! If you want to make a fixed connection, make sure that an omnipolar switch with a contact separation of at least 3 mm is fitted in the supply line.
Dimensions
![]() | ![]() |
Drilling the support surface and fitting the Hood

Important The minimum distance between the opening for the hob and the one for the hood must be of at least 3-5 cm according to the strength of the material used for the working top.
Inserting the hood canopy into the support surface from above
- Insert the brackets 7.2, as indicated in the figure, into the slots provided and fix them with the screws 12a provided.

- The hood is built ready for front installation of the motor unit.
- Insert the hood canopy into the cooker top, drilled as described above.
- Centre the hood canopy with respect to the cooking hob slot.
- Fix the hood canopy with the 2 screws 12c provided.

Warning: If the cooker top is made from a material that does not allow the screws 12c to be inserted, use anamount of silicone to glue the brackets 7.2 to the top and allow it to dry completely before proceeding with the installation.
Fixing the Lower Brackets
- Screw the brackets 7.1 to the front of the hood canopy using the screws 12a provided.
- Before tightening the upper brackets completely, make all the adjustments to allow them to rest on the lower base of the worktop to avoid deformation of the upper brackets 7.2 as shown in the figure.

- With the aid of a spirit level, set the hood canopy level vertically and fix it to the lower surface using 2 screws 12c provided.
- Tighten the screws 12a completely.

Fixing the squaring brackets
- Screw the brackets 7.3 to the hood canopy using the screws 12b provided, without tightening completely.
- Using the screws 12c provided, fasten the other part of the brackets 7.3 either to the side walls of the unit or to the lower part of the cooker top.
- Tighten the screws 12c and 12b completely.

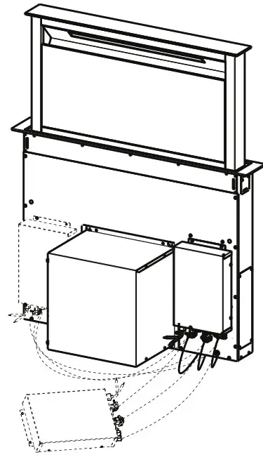
Fixing the Motor Unit
- Installation of the motor unit (1) at the front or rear must be decided according to the position of the kitchen unit, making sure that the plug is properly positioned.

- If the kitchen unit is arranged differently and the motor unit has to be fitted on the back, the plug already fitted on the back of the hood canopy must be removed and replaced at the front, and the cable with cable raceway for connection of the motor must also be repositioned using the slot provided on each side (A).

- Subsequently, according to where the air outlet opening has been created on the unit, the motor unit can be turned by 90° at a time so as to allow the air to come out on all 4 sides in correspondence with the opening in Unit (2).

- Remove the motor unit from the support by unfastening the 2 screws (A).

- Connect the connector from the hood canopy to the motor unit connection.
- Replace the motor unit in the support using the 2 screws removed as described above.
- Screw the motor unit to the hood canopy using the screws 12a and 12b provided as shown in the figure.

Fixing the electric unit
- Connect the electric cables that come out of the lower right hand part of the hood canopy to the connectors on the electric unit.
- Each cable connector has a corresponding connector on the electric unit, so take care not to make mistakes when connecting up.

- Fix the electric unit to the hood canopy using the screws 12a provided.
- The position indicated in the figure is only an option, as if necessary it may also be fitted on the left of the hood canopy.

Warning: Do not install the product in such a way that the wiring box is in contact with the floor.
Fitting the front element
- Lift the mobile hood canopy (see paragraph `Use’) by just a few centimetres.
- To stop movement, simply press down on the mobile canopy as it lifts up.
Warning: Never block the sliding door when it is opening or closing, except during the operations required to fit the frame.
- Remove the sponge guards from the corners of the glass.
- Take the front frame and insert it from above, making sure that its tabs insert into the slots provided on the hood and sliding it to the left.
Warning: All the tabs must be inserted.
- Use a tool (hammer) to tap all along the front frame from right to left until it is completely flush. A piece of wood or similar element can be inserted between the hammer and the front frame to prevent any damage.
- Please refer to paragraph `Use’ for indications of how to return the mobile canopy to the standard position.

Disposal
Disposal of packaging and appliance
Sustainable materials have been used during the manufacture of this appliance. This appliance must be disposed of responsibly at the end of its service life. Ask your local authorities for more information about how to do this.
The appliance packaging is recyclable. The following materials may have been used:
- cardboard;
- polyethylene film (PE);
- CFC-free polystyrene (PS rigid foam).
Dispose of these materials in a responsible manner and in accordance with government regulations.
The product has been marked with a crossed-out dustbin symbol to remind you of the obligation to dispose of electrical household appliances separately. This means that the appliance may not be included with normal domestic refuse at the end of its service life. The appliance must be taken to a special municipal centre for separated waste collection or to a dealer providing this service.
Separate processing of household appliances prevents the potentially negative consequences for the environment and health that can arise as a result of inappropriate processing. It ensures that the materials of which the appliance is composed can be recovered to obtain significant savings in energy and raw materials.
Declaration of Conformity
We hereby declare that our products satisfy the applicable European directives, orders and regulations, as well as the requirements stated in the referenced standards.
![]()
572063 / VER 2 / 07-07-2021































