Cobal HOTT0031 Cooker Hood

GENERAL
Carefully read the following important information regardinginstallation safety and maintenance. Keep this information booklet accessible for further consultations. The appliance has been designed for use in the ducting version (air exhaust to the outside – Fig.1B), filtering version (air circulation on the inside – Fig.1A) or with external motor (Fig.1C).
SAFETY PRECAUTION
- Take care when the cooker hood is operating simultaneously with an open fireplace or burner that depend on the air in the environment and are supplied by other than electrical energy, as the cooker hood removes the air from the environment which a burner or fireplace need for combustion. The negative pres- sure in the environment must not exceed 4Pa (4×10-5 bar). Provide adequate ventilation in the envi- ronment for a safe operation of the cooker hood. Follow the local laws applicable for external air evacuation. Before connecting the model to the electricity network:
-Control the data plate (posi- tioned inside the appliance) to ascertain that the voltage and power correspond to the network and the socket is suitable. If in doubt ask a qualified electrician.
-If the power supply cable is dam- aged, it must be replaced with another cable or a special assem- bly, which may be obtained direct from the manufacturer or from the Technical Assistance Centre. - Warning! In certain circumstances electri- cal appliances may be a danger hazard.
A) Do not check the status of the filters while the cooker hood is operating.
B) Do not touch bulbs or adja- cent areas, during or straight after prolonged use of the lighting installation.
C) Flambè cooking is prohibited underneath the cooker hood.
D) Avoid free flame, as it is damaging for the filters and a fire hazard.
E) Constantly check food frying to avoid that the overheated oil may become a fire hazard.
F) Disconnect the electrical plug prior to any maintenance.
G) This appliance can be used by children aged from 8 years and above and persons with reduced physical, sensory or mental capabilities or lack of experience and knowledge iftheyhavebeengiven supervision or instruction concerning use of the appliance in a safe way and understand the hazards involved.
Children shall not play with the appliance.
Cleaning and user maintenance shall not be made by children w thout supervision.
H) Young children should be supervised to ensure they do not play with the appliance.
I) There shall be adequate ven- tilation of the room when the rangehood is used at the same time as appliances burning gas or other fuels.
L) There is a risk of fire if clean- ing is not carried out in accord- ance with the instructions.
INSTALLATION INSTRUCTIONS
- Assembly and electrical con- nections must be carried out by specialised personnel.
- Wear protective gloves before proceeding with the installa- tion.
Electric Connection:
Note! Verify the data label placed inside the appliance:
-If the symbol appears on the plate, it means that no earth connection must be made on the appliance, therefore follow the instructions concerning insulation class II.
-If the symbol DOES NOT appear on the plate, follow the instructions concerning insulation class I.
Insulation class II
-The appliance has been manufactured as a class II, therefore no earth cable is necessary.
The plug must be easily accessible after the installation of the appliance. If the appliance is equipped with power cord without plug, a suitably dimensioned omnipolar switch with 3 mm minimum opening between contacts must be fitted between the appliance and the electricity supply in compliance with the load and current regulations.
-The connection to the mains is carried out as follows:
BROWN = L line
BLUE = N neutral.
Insulation class I
This is a class I, appliance and must therefore be connected to an effiecient earthing system.
-The appliance must be connected to the electricity supply as follows:
BROWN = L line
BLUE = N neutral
YELLOW/GREEN =
earth.
The neutral wire must be connected to the terminal with the
N symbol while the YELLOW/GREEN, wire must be connected to the terminal by the earth symbol
.
When connecting the appliance to the electricity supply, make sure that the mains socket has an earth connection. After fitting the ducted cooker hood, make sure that the electrical plug is in a position where it can be accessed easily. If the appliance is connected directly to the electricity supply, an omnipolar switch with a minimum contact opening of 3 mm must be placed in between the two; its size must be suitable for the load required and it must comply with current legislation.
- The minimum distance between the support surfaces of the cooking pots on the cooker top and the lowest part of the cooker hood must be at least 65 cm. If a connection tube composed of two parts is used, the upper part must be placed outside the lower part. Do not connect the cooker hood exhaust to the same conductor used to circulate hot air or for evacuating fumes from other appliances generated by other than an electrical source. Before proceeding with the assembly operations, remove the anti-grease filter(s) (Fig.7) so that the unit is easier to handle.
-In the case of assembly of the appliance in the suction version prepare the hole for evacuation of the air. - We recommend the use of an air exhaust tube which has the same diameter as the air exhaust outlet hole. If a pipe with a smaller diameter is used, the efficiency of the product may be reduced and its operation may become noisier.
- If your appliance has been designed for use in habitations supplied with acentralised suction device perform the following operations:
-The switch controls opening and closure of a valve using a thermoelectical device. By placing the switch in the ON position, after a minute, the valve opens rotating 90° allowing suction of thestale air. By placing the switch in the OFF position, the valve closes after 100 seconds
.
Fixing to the wall:
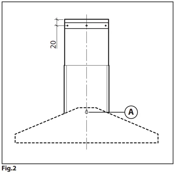
Make hole A respecting the shown dimensions (Fig.2). Fix device to wall and align it horizontally with the cupboards. When the appliance has been adjusted, definitely fix the hood using the screws A (Fig.5). For the various installations use screws and screw anchors suited to the type of wall (e.g. reinforced concrete, plasterboard, etc.). If the screws and screw anchors are provided with the product, check that they are suitable for the type of wall on which the hood is to be fixed.

Fixing the decorative telescopic flue:
Arrange the electrical power supply within the dimensions of the decorative flue. If your appliance is to be installed in the ducting version or in the version with external motor, prepare the air exhaust opening. Install the upper decorative flue’s support bracket and fix it on the wall using the screws A (Fig.3) so it is in axis with your hood and respecting the distance from the ceiling shown in Fig.2. Connect flange C to air extraction hole via an air extraction pipe (Fig.5). Insert upper decorative flue inside the lower decorative flue and rest them on top of the frame. Extract the upper flue up to the bracket and fix it with the screws B (Fig.3). To transform the hood from a ducting version into a filtering version, ask your dealer for the charcoal filters and follow the installation instructions.
Filtering version:
Install the hood and the two flues as described in the paragraph for installation of the hood in ducting version. Connect air diverter M (not supplied) to bracket and fix it with screws I as shown in Fig.4. The active charcoal filters must be applied to the suction unit inside the hood, centring them in it and turning them 90° until they snap into place (Fig.8).

USE AND MAINTENANCE
- We recommend that the cooker hood is switched on before any food is cooked. We also recommend that the appliance is left running for 15 minutes after the food is cooked, in order to thoroughly eliminate all contaminated air. The effective performance of the cooker hood depends on constant maintenance; the anti grease filter and the active carbon filter both require special attention.
- The anti-grease filter is responsible retaining the grease particles suspended in the air, therefore it is subject to clogging with variable frequency according to the use of the appliance.
– To prevent the danger of possible fires, at least every 2 months one must wash the anti-grease filters by hand using non-abrasive neutral liquid detergents or in the dishwasher at low temperatures and on short cycles.
– After a few washes, colour alterations may occur. This does not give the right to claim their replacement. - The active carbon filters are used to purify the air that is sent back into the room and its function is to mitigate the unpleasant odours produced by cooking.
– The non-regenerable active carbon filters must be replaced at least every 4 months. The saturation of the active charcoal depends on the more or less prolonged use of the appliance, on the type of kitchen and on the frequency with which antigrease filter is cleaned. - Before remounting the anti-grease filters and the regenerable active charcoal filters it is important that they are completely dry.
- Clean the hood frequently, both internally and externally, using a cloth dampened with water or non-abrasive neutral liquid detergents.
- The lighting .system is designed for use during cooking and not for the prolonged general lighting of the room. The prolonged use of the lighting system significantly decreases the average duration of the bulbs.
- Attention: the non compliance with the hood cleaning warnings and with the replacement and cleaning of the filters entails risk of fires. One therefore recommends keeping to the suggested instructions.
Replacing halogen light bulbs (Fig.13):

To replace the halogen light bulbs B, remove the glass pane C using a lever action on the relevant cracks. Replace the bulbs with new ones of the same type. Caution: do not touch the light bulb with bare hands.
Replacing LED lamps (Fig.14):

If the appliance version is with LED lamps, the intervention of a specialised technician is necessary to replace them.
Replace lamps (Fig.15):

Only use lamps of the same type and Wattage installed on the device.
Commands slider (Fig.9) the key symbols are explained below:

A = Light switch
A1 = Off key
A2 = On key
B = Warning light key
C = Speed control
C1 = Off key
C2 = FIRST SPEED key
C3 = SECOND SPEED key
C4 = THIRD SPEED key
Commands mechanical (Fig.10) the key symbols are ex plained below:

A = LIGHT
B = OFF
C = SPEED I
D = SPEED II
E = SPEED III.
Mechanical controls (Fig.11) the symbols are as follows:

A= LIGHT/ON-OFF key
B = OFF/FIRST SPEED key
C = SECOND SPEED key
D= THIRD SPEED key
If the hood is shut off at first, second or third speed, when it is turned back on, it will start at the same speed it was in when switched off.
• Commands luminous (Fig.12) the key symbols are explained below:

A = LIGHT
B = OFF
C = SPEED I
D = SPEED II
E = SPEED III
F = AUTOMATIC STOP TIMER – 15 minutes (*)
If your appliance has the INTENSIVE speed function, from speed THREE, press key E for 2 seconds and it will be activated for 10 minutes after which it will return to the previously set speed. When the function is active the LED flashes. To interrupt it before the 10 minutes have elapsed, press key E again. Some models allow activating this function even with speed one and two.
By pressing key F for two seconds (with the hood switched off) the “clean air” function is activated. This function switches the appliance on for ten minutes every hour at the first speed. As soon as this function is activated the motor starts up at the first speed for ten minutes. During this time key F and key C must flash at the same time. After ten minutes the motor switches off and the LED of key F remains switched on with a fixed light until the motor starts up again at the first speed after fifty minutes and keys F and C start to flash again for ten minutes and so on. By pressing any key for the exclusion of the hood light the hood will return immediately to its normal functioning (e.g. if key D is pressed the “clean air” function is deactivated and the motor moves to the 2nd speed straight away. By pressing key B the function is deactivated).
(*) The “AUTOMATIC STOP TIMER” delays stopping of the hood, which will continue functioning for 15 minutes at the operating speed set at the time this function is activated.
Anti-grease/active charcoal filters saturation:
-When the A key flashes with a 2 second frequency the antigrease filters must be washed.
-When the A key flashes with a 0.5 second frequency the active carbon filters must be replaced or washed depending on the type of filter.
Once the clean filter has been put back one must reset the electronic memory by pressing the A key for approximately 5 seconds until it stops flashing.
THE MANUFACTURER DECLINES ALL RESPONSIBILITY FOR EVENTUAL DAMAGES CAUSED BY BREACHING THE ABOVE WARNINGS.


.














