ULINE Single Sided Grid Bike Rack User Guide
TOOL NEEDED
- 9/16″ Wrench

PARTS
- Leg x 2

- Grid Section x 1

- Pole x 1

- Locknut x 6

- Bolt x 6

ASSEMBLY
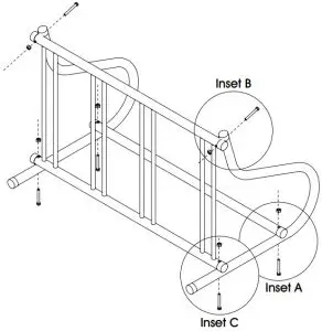
- Insert bolt upward through hole in leg and pole. Fasten loosely with locknut. Repeat by attaching other leg to pole. (See Inset A)
- Insert bolt through hole at the top of the leg and end of grid. (See Inset B)
NOTE: Grid can only be positioned one way for mounting. The holes on top are drilled diagonally through the tube at a slight downward angle. - Fasten loosely with locknut. Repeat by attaching other leg to grid.
- Align bottom holes of grid with middle hole of legs. Insert bolt upward and fasten loosely with locknut. Repeat by attaching other leg to grid. (See Inset C)
- Complete assembly by tightening all bolts.

Contact Us
Phone: 1-800-295-5510
Web: uline.com


























