SBOX LCD-2903 TV Wall Mount Instruction Manual
UNPACKING INSTRUCTIONS
- Carefully open the carton, remove contents and lay out on cardboard or other protective surface to avoid damage.
- Check package contents against the Supplied Parts List in the next page to assure that all components were received undamaged. Do not use damaged or defective parts.
- Carefully read all instructions before attempting installation
IMPORTANT SAFETY INFORMATION
Install and operate this device with care. Please read this instruction before beginning the installation, and carefully follow all instructions contained herein. Use proper safety equipment during installation.
Please call a qualified installation contractor for help if you:
- If you don’t understand these directions or have any doubts about the safety of the installation.
- If you are uncertain about the nature of your wall, consult a qualified installation contractor.
Do not use this product for any purpose or in any configuration not explicitly specified in this instruction. We hereby disclaims any and all liability for injury or damage arising from incorrect assembly, incorrect mounting, or incorrect use of this product.
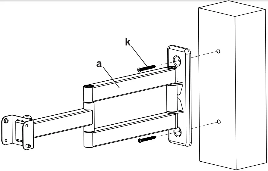
- (1)Wall Plate-a

- (1)VESA 200 Plate-b

- (4)M4x12 Bolt-c

- (4)M4x30 Bolt-d

- (4)M6x12 Bolt-e

- (4)M6x35 Bolt-f

- (8)M4 Washer-g

- (6)M6 Washer-h

- (4)M4/M6 Space-i

- (2)Allen Bolt-j

- (2)Lag Bolt-k

- (2)Concrete Anchor-l

- (1)Allen Key

- 3.8mm Drill Bit
- Phillips Screwdriver
- 8mm Masonry Bit
- Carpenter’s Level
Step 1 Mounting the Wall Plate to the Wall




Step 2 Mounting the VESA 200 Plate to a TV




























