amazon basic B010QZCT5W Wall Mount LCD Arm

IMPORTANT SAFEGUARDS
Read these instructions carefully and retain them for future use. If this product is passed to a third party, then these instructions must be included.
When using the product, basic safety precautions should always be followed to reduce the risk of injury including the following:
- This product can be used by children aged from 8 years and above and persons with reduced physical, sensory or mental capabilities or lack of experience and knowledge if they have been given supervision or instruction concerning use of the appliance in a safe way and understand the hazards involved. Children shall not play with the product. Cleaning and user maintenance shall not be made by children without supervision.
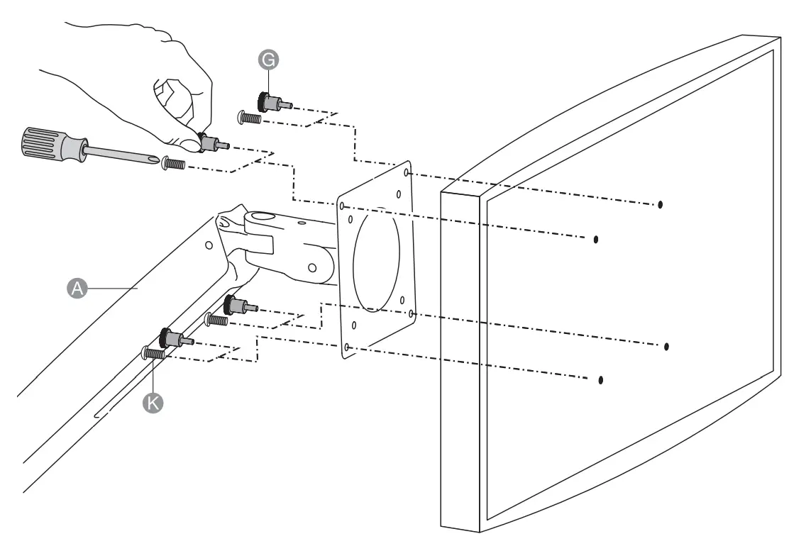
- You will have to adjust this product after installation is complete.
- Do not exceed maximum listed weight capacity of 25 lbs (11.3 kg). Serious injury or property damage may occur.
- Because mounting surface materials can vary widely, it is imperative that you make sure mounting surface is strong enough to handle mounted product and equipment.
- Ideal distance between the viewer and the display depends upon the location and set up of the product. Adjust the distance to no less than 450 mm and no more than 800 mm from the viewer, based on comfort and ease of viewing.
IMPORTANT, RETAIN FOR FUTURE REFERENCE
READ CAREFULLY
Before First Use
- Check for transport damages.
Risk of suffocation! Keep any packaging materials away from children – these materials are a potential source of danger, e.g. suffocation.
Cleaning and Maintenance
Cleaning
- To clean, wipe with a soft, slightly moist cloth.
- Never use corrosive detergents, wire brushes, abrasive scourers, metal or sharp utensils to clean the product.
Maintenance
- Check the components regularly to make sure all screws and bolts are tightened.
- Store in a cool and dry place away from children and pets, ideally in original packaging.
- Avoid any vibrations and shocks.
Warranty Information
To obtain a copy of the warranty for this product:
![]() | US: amazon.com/AmazonBasics/Warranty | ![]() | US: +1-866-216-1072 |
| UK: amazon.co.uk/basicswarranty | UK: +44 (0) 800-279-7234 |
Feedback and Help
Love it? Hate it? Let us know with a customer review. AmazonBasics is committed to delivering customer-driven products that live up to your high standards. We encourage you to write a review sharing your experiences with the product.
![]() | US: amazon.com/review/review-your-purchases# | ![]() | US: amazon.com/gp/help/customer/contact-us |
| UK: amazon.co.uk/review/review-your-purchases# | UK: amazon.co.uk/gp/help/customer/contact-us |
Contents

Tools needed

Assembly
Wood Stud Mounting

Concrete Mounting

Determine the orientation of a monitor

NOTICE
If you want to change a monitor’s orientation after you mount the monitor to the upper arm, you need to remove the monitor from the upper arm and insert or remove the M3 x 6 mm screw.
- The arm mechanism is under tension and will move up rapidly, on its own, as soon as attached equipment is removed. For this reason, do not remove equipment unless the arm has been moved to the highest position! Failure to follow this instruction may result in serious personal injury and/or equipment damage.






Customer Support
Scan the QR Code and scroll through the images to find a helpful assembly, installation and/or use videos. Scan with your phone camera or QR reader.
MADE IN CHINA





















