© RAB Lighting, Inc
Custom manufactured in Mexico
Welcome Dimmer
WE’RE HERE TO HELP: 1 (844) LIGHT CLOUD or 1 (844) 544-4825
LCDIMMER Light Cloud White Wall Mount
Hello
The Lightcloud Dimmer is an in-wall switch that connects wirelessly to a Lightcloud Controller to provide switching, dimming and scene control.
Product Features
Wireless Control & Configuration
Zone Switching & Dimming Dim Level Indicator Scene Selection Nightlight
Contents
DEVICE BUTTON (press using paperclip):
- Single press: Indicate in the Lightcloud application
- Hold for 10 seconds: Force the device to leave the current Lightcloud network
DIM LEVEL INDICATOR:
- Displays current dim level (Zone mode)
NIGHTLIGHT:
- White: Lit when the zone is off so you can find the dimmer SIGNAL STRENGTH INDICATOR:
- Indicates the strength of the connection to the next Lightcloud Device
NETWORK INDICATOR:
- Solid green: Connected to a Lightcloud network
- Blinking red: Not connected to a Lightcloud network The network and signal strength indicators are lit for 10 minutes following initial power on. To display the indicators later on, simply press the device button once.
TOP AND BOTTOM BUTTONS: Functionality depends on which mode is being used; see next page for details.
Functionality
Configuration
To pair the Dimmer with a zone, assign scenes or perform other configuration, use the Lightcloud web application or call RAB:
WE’RE HERE TO HELP: 1 (844) LIGHT CLOUD or 1 (844) 544-4825
Overview

Specifications
PART NUMBER
LCDIMMER/W
INPUT
120-277VAC, 50/60Hz, 2W
OPERATING TEMPERATURE
0ºC to 40ºC
DIMENSIONS
Dimmer: 1.77”W x 2.7”H x 1.49”D
Faceplate: 2.94”W x 4.69”H x 0.06”D
Faceplate Bracket: 2.8”W x 4.55”H x 0.13”D 18AWG grounding; terminals supporting up to 12AWG wire
WIRELESS RANGE
Line-of-Sight: 1000 feet
Obstructions: 100 feet
What You Need
WE’RE HERE TO HELP: 1 (844) LIGHT CLOUD or 1 (844) 544-4825
4 Power up
To add your Lightcloud Dimmer to your system, enable Setup Mode via the Lightcloud application or call RAB at 1 (844) 544-4825. When the
Dimmer powers up, it will automatically try to join, and keep trying until it is able to join.
If you are installing multiple devices, you may wait until they are all installed to enable Setup Mode.
When all devices have been commissioned, remember to disable Setup Mode.
5 Confirm device connectivity
Confirm Network Status Indicator is solid green (see details below).
Setup & Installation (contd)
3 Labeling your device
For setup and maintenance, we provide two Lightcloud Device Tables with the Gateway: one that you can attach to your panel and one to hand off to a building manager. Attach the Device Identification stickers included with each device to a row, then write in additional information, such as Zone name, Panel/Circuit Number, and whether or not a zone uses dimming.
Wiring
CAUTION
- Use an only copper wire.
- Do not operate with the faceplate removed.
- This product should only be installed by a qualified electrician and in compliance with local and national electrical codes.
- This product should only be installed in a UL-approved single gang wall-box enclosure.
- Indoor use only.
Finding a suitable location
Lightcloud uses a wireless mesh network to connect devices such as the Dimmer to the Gateway. Unlike a WiFi router, each Lightcloud device may connect another device to the network. If there is a clear line of sight between two Lightcloud devices, they can be placed up to 1000 feet apart. If the two devices are separated by ordinary drywall construction, try to keep them within 100 feet of each other. Brick, concrete, and steel construction may require additional AC-powered Lightcloud devices to go around the obstruction. See the Deployment section of your Gateway for more information.
2d Snap the faceplate onto the faceplate bracket.
Setup & Installation (contd)
2 Install the Lightcloud Dimmer (cont’d)
2c Use the two 6-32 5/16″ Phillips flat-head screws provided to secure the faceplate bracket to the Dimmer.
Setup & Installation
WARNING
1 Turn off power
Setup & Installation (contd)
2 Install the Lightcloud Dimmer
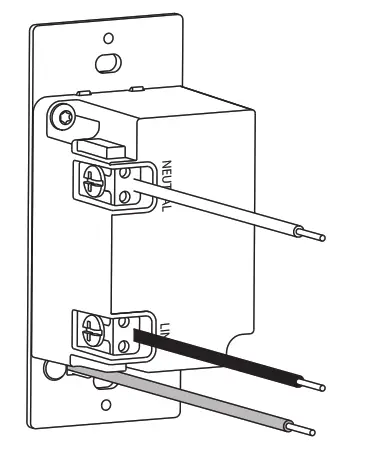
2a Screw the line (black) and neutral (white) wires into the labeled connectors on the back of the Dimmer. Connect the ground wire (green).
2b Use the two 6-32 1/2″ Phillips round head screws to secure the Dimmer to the junction box.
FCC Information:
This device complies with Part 15 of the FCC Rules. Operation is subject to the following two conditions:
- This device may not cause harmful interference, and
- This device must accept any interference received, including interference that may cause undesired operation.
Note: This device has been tested and found to comply with the limits for Class B digital devices pursuant to Part 15 Subpart B, of the FCC rules. These limits are designed to provide reasonable protection against harmful interference in a residential environment. This equipment generates, uses, and can radiate radio frequency energy, and if not installed and used in accordance with the instruction manual, may cause harmful interference to radio communications. However, there is no guarantee that interference will not occur in a particular installation. If this equipment does cause harmful interference to radio or television reception, which can be determined by turning the equipment off and on, the user is encouraged to try and correct the interference by one or more of the following measures:
• Reorient or relocate the receiving antenna.
• Increase the separation between the equipment and receiver.
• Connect the equipment into an outlet on a circuit different from that to which the receiver is connected.
• Consult the dealer or an experienced radio/TV technician for help.
To comply with FCC RF exposure limits for general population/ uncontrolled exposure, this transmitter must be installed to provide a separation distance of at least 20cm from all persons and must not be co-located or operating in conjunction with any other antenna or transmitter.
CAUTION: Changes or modifications to this equipment not expressly approved by RAB Lighting, Inc. may void the user’s authority to operate this equipment. Custom manufactured in China.
Functionality (cont’d)
Features
The Lightcloud Dimmer can be used in Switch Mode, Dimmer Mode or Scene Mode. To switch between these modes and access other configuration options, use the Lightcloud web application, or call RAB at
1-844-LIGHT CLOUD.
SWITCH MODE: In Switch Mode, the Dimmer is paired with a specific zone to provide switching. Top and Bottom Buttons:
- Single Press: Switch zone on/off DIMMER MODE: Dimmer Mode takes Switch Mode and adds dimming capabilities.
Top Button: - Single press while the zone is off: switch zone on.
- Single press while the zone is on: dim up to max gradually, stopping at the current position if the bottom button is pressed.
- Press and hold while the zone is on: dim up gradually, release to set dim level.
Bottom Button: - Single press while the zone is on: switch zone off.
- Press and hold while the zone is on: dim down gradually, and release to set dim level.
SCENE MODE: In Scene Mode, the top and bottom buttons activate preselected scenes. This can be configured using the Lightcloud web application or by calling RAB.
![]()
Lightcloud is a commercial wireless lighting control system.
It’s powerful and flexible, yet easy to use and install.
Learn more at lightcloud.com
1 (844) LIGHT CLOUD 1 (844) 544-4825

















