
INSTALLATION INSTRUCTIONS
474U
TOUCHLESS SENSE SWITCH
Installation & Operation
NOTE: The SDC 474 must be mounted to a single-gang electrical back box or plaster ring.
- Unscrew the four rear cover screws. Remove the rear cover to expose the 8-position screwless terminal block.
- Feed the wiring through the wall to the back box. Feed the wiring through the gasketed hole of the rear cover. Verify that the wire leads are on the inside of the rear cover.
- Connect the wires onto the screwless terminal block (see page 2 for typical wiring examples). Verify that each wire is securely terminated by gently pulling on each wire.
- Replace the rear cover of the sensor switch, and secure the four cover screws.
- Mount the stainless steel faceplate onto the back box using the two supplied screws. Be careful not to pinch any wires when mounting the device.
- Apply 12VDC power to the device. The LED indicator ring will turn RED.
- Test for proper activation by placing a hand within 4″ of the sensor. The LED sensor ring will change from RED to GREEN, and both relays will activate.
Features & Applications
- Uses IR Sensor technology; device is activated with the simple wave of a hand
- Designed to control electric locks/strikes, magnetic locks, or automatic door operators
- Ideal for use in cleanrooms, hospitals, labs, schools, or offices
- Sensing range up to 4″ (10cm)
- Mounted on a durable stainless steel plate
- Dual LED, illuminated sensor indicates status
- Quick connect screwless terminal block for easy installation.
Specifications
| Input Voltage | ||
| Current© 12VDC 24VDC | 30mA 70mA Standby Active 15mA 35mA | |
| Contact Rating | (2) Form C Relays, 3A©30VDC (Resistive) | |
| LED Color | Standby | Red |
| Active | Green | |
| Range | 4″ (10cm) max. | |
| Output Activation Time | 5 Second or as long as sensor is triggered | |
| Operating Temp. | -4deg F — 131deg F (-20C — 55C) | |
| Weight | 3 oz. (85g) | |
| Dimensions | 4.5″ X 2.75″ x 1.375″ (mm = 115 x 70 x 35) | |
Dimensions

Any suggestions or comments to this instruction or product are welcome. Please contact us through our website or email [email protected]
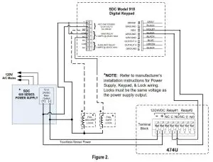
Typical Wiring Examples
Connecting the 474U to an Access Control Panel or Door Operator:
Using the 474U as an Request to Exit device in an access control system.

SECURITY DOOR CONTROLS
■ WWW.SDCSECURITY.COM
[t] 800.413.8783 ■ 805.494.0622
■ E-mail: [email protected]
■ 801 Avenida Acaso, Camarillo, CA 93012
■ PO Box 3670, Camarillo, CA 93011

















