
PGP303 Vanishing Door/Window Magnetic Contact
Installation Guide
Installation guidelines
The reference to PGP303 throughout this manual includes the model PGP9303.
CAUTION: Only qualified personnel may install this equipment. Place this device in nonhazardous indoor locations only.
Important: Check the device and the entire alarm system weekly to ensure optimal performance.
Note:
To comply with FCC and ISED Canada RF exposure compliance requirements, locate the device at a distance of at least 20 cm from all persons during normal operation.
Do not co-locate the antennas used for this product, or operate them in conjunction with any other antenna or transmitter.
Install the UL/ULC listed model PGP9303 in accordance with the Standard for Installation and Classification of Residential Burglar Alarm Systems, UL 1641 and ULC-S302
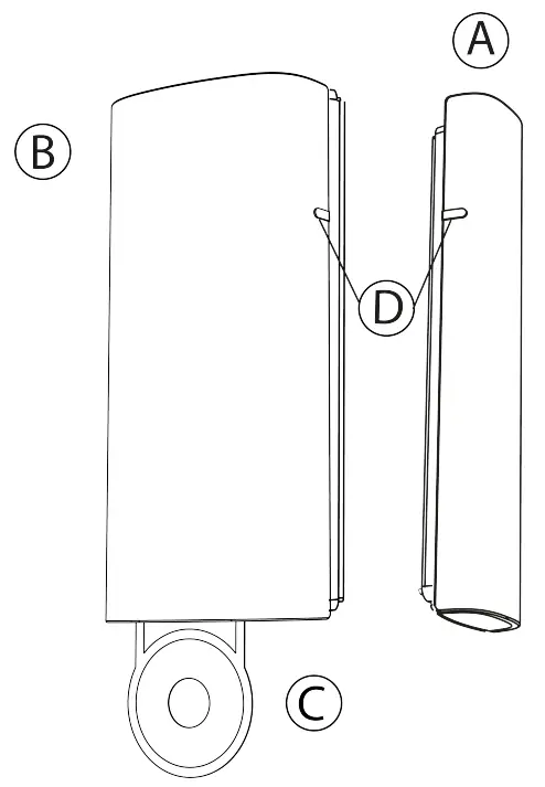
Figure 1: PGP303

| Callout | Description |
| A | Magnet |
| B | Device |
| C | Battery pull-tab |
| D | Positioning marks |
For more information refer to the section About PGP303.
Enrolling the device
- Refer to the control panel installation manual for the complete set of enrollment instructions and testing procedures.
- From the Installation menu, enter the Device enrollment menu and select the option to add a new device.
- Remove the battery pull-tab to power on the device and begin the auto-enrollment process. If the battery pull tab is not available or if the device does not automatically enroll, open the device cover to trigger the enrollment.
- If requested, enter the PIN code printed on the device label.
- To manually enroll the device:
a. Scan the QR Code on the device box, using the IQ4 camera if available, or see step b.
b. Manually enter the device ID, printed on the product label, in the format 103-XXXX.
Note: If the device has been powered up for more than 2 hours it will be identified by the system only after the device has been reset.
The PGP303 is enrolled with device ID 103-XXXX. In fallback mode, it enrolls as PGx303 with device ID 109-XXXXThe PGP303 is enrolled with device ID 103-XXXX. In fallback mode, it enrolls as PGx303 with device ID 109-XXXX. - Select the desired zone.
- Configure any device parameters that are required.
- Mount and test the device. See Local diagnostics test for information on testing the device.
Configuring the device parameters
1. Enter the DEVICE SETTINGS menu and select the required configuration as described in the following table:
Table 1: Configuration options
| Option | Action |
| Alarm LED | Define whether the alarm LED indication will be activated. Optional settings: LED ON (default) and LED OFF. |
- Peel the release liners of the two strips of double-sided adhesive tape and attach the tape to the back of the device and the magnet. See the following figure.
Figure 2: Double-sided adhesive tape placement on the device and magnet
Callout Description A Double-sided adhesive tape - Place the device on the frame of a window or door and place the magnet on the moving surface of the window or door itself, directed according to the positioning marks. See the following figure.
Figure 3: Device and magnet position on the door and door frame
Note: Mounting using adhesive tape is permitted only for UL/ULC residential burglary installations. Use only the adhesive tape that was provided with the device.
Mounting the device using screws
Note: Mounting using screws is required for UL/ULC commercial burglary-type installations. Wall tamper (break-away segment) shall also be enabled.
To open the device cover, insert and turn a 4mm flat screwdriver into the four corners of the device.
Figure 4: Device cover removal
- Screw the device base onto the door or window frame. See figure 5 A.
Note: Make sure to fasten the break-away segment to the frame. If the device is forcibly removed from the wall, this segment will break away from the base, causing the tamper switch to open. See figure 5 B. - Clip the cover onto the device base. See figure 5 C.
Figure 5: Device screw installation
Callout Description A Screwing device base B Break-away segment C Closing the device cover
Replacing the battery
Before you begin:
CAUTION: Risk of explosion if the battery is replaced by an incorrect type. Dispose of used batteries according to the manufacturer’s instructions and according to local rules and regulations.
WARNING: This product contains a coin battery. If it is swallowed, it can cause severe internal burns in just 2 hours and can lead to death. Keep new and used batteries away from children.
If the battery compartment does not close securely, stop using the product, and keep it away from children. Seek immediate medical attention if you think batteries might have been swallowed or placed inside any part of the body.
- Remove the device cover. See Figure 4.
- Wedge a flat screwdriver under the battery. See A in the following figure.
- Twist the screwdriver using leverage to remove the battery.
- Insert the battery at an angle while observing battery polarity.
Note: When you insert the battery, the (+) symbol should be visible. See B in the following figure.
Figure 6: Battery removal and insertion
- Press down on the battery until it fits into place.
- Close the device cover. See figure 5 C.
Note: After restoring a low battery, the system may take up to 5 minutes to clear the trouble.
Directional magnet distances for event triggers
The following figure and table display the directional magnet distances that trigger open or close events.
Figure 7: Range coverage directions

Table 2: Directional magnet distances for event triggers
Non-metallic surface | Supports | Metallic surface | ||
| Opening | Closing | Direction | Opening | Closing |
| 27 mm (1.06 in.) | 23 mm (0.91 in.) | X | 12 mm (0.47 in.) | 10 mm (0.39 in.) |
| 16 mm (0.63 in.) | 14 mm (0.55 in.) | Y | 15 mm (0.59 in.) | 12 mm (0.47 in.) |
| 27 mm (1.06 in.) | 22 mm (0.87 in.) | Z | 26 mm (1.02 in.) | 22 mm (0.87 in.) |
Local diagnostics test
About this task:
After power-up or closing the cover, the device automatically enters Test Mode for 15 minutes. To manually enter the devices into Test Mode refer to the Control Panel Installer Guide.
- Before you start the test, remove the device cover from the base. See Figure 4.
- Close the cover to return the tamper switch to its normal position.
- Momentarily open the door or window and verify the red LED blinks, indicating detection.
After 2 seconds one of the LEDs blinks three times.
The following table displays the received signal strength indication.
Table 3: Signal strength indication
| LED response | Reception |
| Green LED blinks | Strong |
| Yellow LED blinks | Good |
| Red LED blinks | Poor |
| No blinks | No communication |
Important: Reliable reception must be assured. Therefore, poor signal strength is not acceptable. If you receive a poor signal from the device, relocate it and re-test until strong signal strength is received.
Note: It is recommended to have strong signal strength and you must verify the signal strength using the control panel’s diagnostic test. For detailed Diagnostics Test instructions, refer to the control panel installer guide.
Note: Note: For UL/ULC installations, only strong signal levels are acceptable.
Note: After installation, verify the product functionality in conjunction with the compatible receivers.
Specifications
Table 4: Specifications
| Frequency Band | 912 to 919 MHz |
| Modulation | GFSK |
| Communication Protocol | PowerG |
| Battery Type | 3 V Lithium CR2450 Panasonic or GP battery only |
| Battery Life | 6 years with typical use at room temperature 25°C (77°F)
|
| Low Battery Threshold | 2 V at room temperature 25°C (77°F) |
| Nominal Operating Voltage | 3 V |
| Operating Temperature | -10°C (14°F ) to 55°C (131°F)UL verified range: 0ºC (32°F) to 49ºC (120°F ) only |
| Storage Temperature | -20°C (-4°F) to 70°C (158°F) |
| Relative Humidity | Up to 95% non-condensing |
| Dimensions (LxWxD) | 68 mm x 31 mm x 12 mm (2.7 in. x 1.1 in. x 0.4 in.) |
Table 4: Specifications
| Weight (including battery) | 20 g (0.71 oz) |
| Color | White |
Compliance with standards
The PGP303 complies with the following standards:
| PGP9303 | FCC (912 to 919 MHz): 47CFR part 15 ISED (912 to 919MHz): RSS-247 UL/ULC: UL 634, ULC C634 |
FCC and ISED Canada Compliance Statement
This device complies with FCC Rules Part 15 and with ISED license-exempt RSS standard(s).
Operation is subject to two conditions:
(1) This device may not cause harmful interference, and
(2) this device must accept any interference that may be received or that may cause undesired operation.
To comply with FCC Section 1.1310 for human exposure to radiofrequency electromagnetic fields and IC requirements, implement the following instruction:
A distance of at least 20cm. between the equipment and all persons should be maintained during the operation of the equipment.
Note: This equipment has been tested and found to comply with the limits for a Class B digital device, pursuant to part 15 of the FCC Rules. These limits are designed to provide reasonable protection against harmful interference in a residential installation. This equipment generates, uses, and can radiate radio frequency energy and, if not installed and used in accordance with the instructions, may cause harmful interference to radio communications. However, there is no guarantee that interference will not occur in a particular installation. If this equipment does cause harmful interference to radio or television reception, which can be determined by turning the equipment off and on, the user is encouraged to try to correct the interference by one or more of the following measures:
- Reorient or relocate the receiving antenna.
- Increase the separation between the equipment and receiver.
- Connect the equipment into an outlet on a circuit different from that to which the receiver is connected.
- Consult the dealer or an experienced radio/TV technician for help.
This Class B digital apparatus complies with Canadian ICES-003.
Cet appareil numerique de la classe B est conforme a la norme NMB-003 du Canada.
WARNING: Changes or modifications to this equipment not expressly approved by the party responsible for compliance (DSC.) could void the user’s authority to operate the equipment.

UL/ULC notes
The PGP9303 has been listed by UL/ULC for commercial and residential burglary applications in accordance with the requirements in the Standards UL 634 and ULC/ORD- C634 for contacts and switches. For UL/ ULC installations use this device only in conjunction with compatible DSC wireless receivers: HSM2HOST9, HS2LCDRF(P)9, HS2ICNRF(P) 9, HS2LCDRFPRO9, PG9920, and Qolsys IQPanel2, IQHub, IQPanel4. After installation, verify the product functionality in conjunction with the compatible receiver used.
Safety Instructions
Read the safety information before you install the equipment.
The detector shall be installed and used within an environment that provides the pollution degree max 2 and over voltages category II in non-hazardous locations, indoor only. The equipment is designed to be installed by SERVICE PERSONS only; (SERVICE PERSON is defined as a person having the appropriate technical training and experience necessary to be aware of hazards to which that person may be exposed in performing a task and of measures to minimize the risks to that person or other persons).
The PGP303 is powered by a CR2450 GP or Panasonic battery.
W.E.E.E Product recycling declaration
![]() | For information regarding the recycling of this product, you must contact the company from which you originally purchased it. If you are discarding this product and not returning it for repair then you must ensure that it is returned as identified by your supplier. This product is not to be thrown away with everyday waste. Directive 2012/19/EU Waste Electrical and Electronic Equipment. |
About PGP303
The PGP303 is a thin, ultra-long-life PowerG magnetic contact device that is compatible with Johnson Controls’ PowerG control panels.
The PGP303 includes a built-in reed switch that opens a circuit when the magnet is moved from its usual position. The device has the following features:
- Two-way PowerG communication with the control panel
- Front and back cover tamper detection
- LED light signal strength indication during installation
- Discreet transmission of supervision message
- PowerG two-way frequency hopping spread spectrum time-division multiple access (FHSSTDMA) technologies
- Low battery indication
- Remote firmware upgrade
Limited Warranty
Digital Security Controls warrants that for a period of 12 months from the date of purchase, the product shall be free of defects in materials and workmanship under normal use and that in fulfillment of any breach of such warranty, Digital Security Controls shall, at its option, repair or replace the defective equipment upon the return of the equipment to its repair depot. This warranty applies only to defects in parts and workmanship and not to damage incurred in shipping or handling, or damage due to causes beyond the control of Digital Security Controls such as lightning, excessive voltage, mechanical shock, water damage, or damage arising out of abuse, alteration or improper application of the equipment.
The foregoing warranty shall apply only to the original buyer and is and shall be in lieu of any and all other warranties, whether expressed or implied and of all other obligations or liabilities on the part of Digital Security Controls. Digital Security Controls neither assumes responsibility for, nor authorizes any other person purporting to act on its behalf to modify or to change this warranty, nor to assume for it any other warranty or liability concerning this product.
In no event shall Digital Security Controls be liable for any direct, indirect, or consequential damages, loss of anticipated profits, loss of time, or any other losses incurred by the buyer in connection with the purchase, installation or operation, or failure of this product.
Warning: Digital Security Controls recommends that the entire system be completely tested on a regular basis. However, despite frequent testing, and due to, but not limited to, criminal tampering or electrical disruption, it is possible for this product to fail to perform as expected.
Important Information: Changes or modifications not expressly approved by Digital Security Controls could void the user’s authority to operate this equipment.
EULA
IMPORTANT READ CAREFULLY: DSC Software purchased with or without Products and Components is copyrighted and is purchased under the following license terms:
This End User License Agreement (“EULA”) is a legal agreement between You (the company, individual, or entity who acquired the Software and any related Hardware) and Digital Security Controls, a division of Tyco Safety Products Canada Ltd. (“DSC”), the manufacturer of the integrated security systems and the developer of the software and any related products or components (“HARDWARE”) which You acquired.
If the DSC software product (“SOFTWARE PRODUCT” or “SOFTWARE”) is intended to be accompanied by HARDWARE, and is NOT accompanied by new HARDWARE, You may not use, copy or install the SOFTWARE PRODUCT. The SOFTWARE PRODUCT includes computer software and may include associated media, printed materials, and “online” or electronic documentation. Any software provided along with the SOFTWARE PRODUCT that is associated with a separate end user license agreement is licensed to You under the terms of that license agreement.
By installing, copying, downloading, storing, accessing, or otherwise using the SOFTWARE PRODUCT, You agree unconditionally to be bound by the terms of this EULA, even if this EULA is deemed to be a modification of any previous arrangement or contract. If You do not agree to the terms of this EULA, DSC is unwilling to license the SOFTWARE PRODUCT to You, and You have no right to use it.
SOFTWARE PRODUCT LICENSE
The SOFTWARE PRODUCT is protected by copyright laws and international copyright treaties, as well as other intellectual property laws and treaties. The SOFTWARE PRODUCT is licensed, not sold.
- GRANT OF LICENSE. This EULA grants You the following rights:
(a) Software Installation and Use – For each license You acquire, You may have only one copy of the SOFTWARE PRODUCT installed.
(b) Storage/Network Use – The SOFTWARE PRODUCT may not be installed, accessed, displayed, run, shared, or used concurrently on or from different computers, including a workstation, terminal, or another digital electronic device (“Device”). In other words, if You have several workstations, You will have to acquire a license for each workstation where the SOFTWARE will be used.
(c) Backup Copy – You may make backup copies of the SOFTWARE PRODUCT, but You may only have one copy per license installed at any given time. You may use the backup copy solely for archival purposes. Except as expressly provided in this EULA, You may not otherwise make copies of the SOFTWARE PRODUCT, including the printed materials accompanying the SOFTWARE. - DESCRIPTION OF OTHER RIGHTS AND LIMITATIONS
(a) Limitations on Reverse Engineering, Decompilation, and Disassembly – You may not reverse engineer, decompile, or disassemble the SOFTWARE PRODUCT, except and only to the extent that such activity is expressly permitted by applicable law notwithstanding this limitation. You may not make any changes or modifications to the Software, without the written permission of an officer of DSC. You may not remove any proprietary notices, marks or labels from the Software Product. You shall institute reasonable measures to ensure compliance with the terms and conditions of this EULA.
(b) Separation of Components – The SOFTWARE PRODUCT is licensed as a single product. Its component parts may not be separated for use on more than one HARDWARE unit.
(c) Single INTEGRATED PRODUCT – If You acquired this SOFTWARE with HARDWARE, then the SOFTWARE PRODUCT is licensed with HARDWARE as a single integrated product. In this case, the SOFTWARE PRODUCT may only be used with the HARDWARE as set forth in this EULA.
(d) Rental – You may not rent, lease or lend the SOFTWARE PRODUCT. You may not make it available to others or post it on a server or website.
(e) Software Product Transfer – You may transfer all of Your rights under this EULA only as part of a permanent sale or transfer of the HARDWARE, provided You retain no copies, You transfer all of the SOFTWARE PRODUCT (including all component parts, the media and printed materials, any upgrades and this EULA), and provided the recipient agrees to the terms of this EULA. If the SOFTWARE PRODUCT is an upgrade, any transfer must also include all prior versions of the SOFTWARE PRODUCT.
(f) Termination – Without prejudice to any other rights, DSC may terminate this EULA if You fail to comply with the terms and conditions of this EULA. In such an event, You must destroy all copies of the SOFTWARE PRODUCT and all of its component parts.
(g) Trademarks – This EULA does not grant You any rights in connection with any trademarks or service marks of DSC or its suppliers. - COPYRIGHT
All title and intellectual property rights in and to the SOFTWARE PRODUCT (including but not limited to any images, photographs, and text incorporated into the SOFTWARE PRODUCT), the accompanying printed materials, and any copies of the SOFTWARE PRODUCT, are owned by DSC or its suppliers. You may not copy the printed materials accompanying the SOFTWARE PRODUCT. All title and intellectual property rights in and to the content which may be accessed through the use of the SOFTWARE PRODUCT are the property of the respective content owner and may be protected by applicable copyright or other intellectual property laws and treaties. This EULA grants You no rights to use such content. All rights not expressly granted under this EULA are reserved by DSC and its suppliers. - EXPORT RESTRICTIONS
You agree that You will not export or re-export the SOFTWARE PRODUCT to any country, person, or entity subject to Canadian export restrictions. - CHOICE OF LAW: This Software License Agreement is governed by the laws of the Province of Ontario, Canada.
- ARBITRATION
All disputes arising in connection with this Agreement shall be determined by final and binding arbitration in accordance with the Arbitration Act, and the parties agree to be bound by the arbitrator’s decision. The place of arbitration shall be Toronto, Canada, and the language of the arbitration shall be English. - LIMITED WARRANT
(a) NO WARRANTY DSC PROVIDES THE SOFTWARE “AS IS” WITHOUT WARRANTY. DSC DOES NOT WARRANT THAT THE SOFTWARE WILL MEET YOUR REQUIREMENTS OR THAT THE OPERATION OF THE SOFTWARE WILL BE UNINTERRUPTED OR ERROR-FREE.
(b) CHANGES IN OPERATING ENVIRONMENT DSC shall not be responsible for problems caused by changes in the operating characteristics of the HARDWARE, or for problems in the interaction of the SOFTWARE PRODUCT with non-DSCSOFTWARE or HARDWARE PRODUCTS.
(c) LIMITATION OF LIABILITY; WARRANTY REFLECTS ALLOCATION OF RISK, IN ANY EVENT, IF ANY STATUTE IMPLIES WARRANTIES OR CONDITIONS NOT STATED IN THIS LICENSE AGREEMENT, DSC’S ENTIRE LIABILITY UNDER ANY PROVISION OF THIS LICENSE AGREEMENT SHALL BE LIMITED TO THE GREATER OF THE AMOUNT ACTUALLY PAID BY YOU TO LICENSE THE SOFTWARE PRODUCT AND FIVE CANADIAN DOLLARS (CAD$5.00). BECAUSE SOME JURISDICTIONS DO NOT ALLOW THE EXCLUSION OR LIMITATION OF LIABILITY FOR CONSEQUENTIAL OR INCIDENTAL DAMAGES, THE ABOVE LIMITATION MAY NOT APPLY TO YOU.
(d) DISCLAIMER OF WARRANTIES
THIS WARRANTY CONTAINS THE ENTIRE WARRANTY AND SHALL BE IN LIEU OF ANY AND ALL OTHER WARRANTIES, WHETHER EXPRESSED OR IMPLIED (INCLUDING ALL IMPLIED WARRANTIES OF MERCHANTABILITY OR FITNESS FOR A PARTICULAR PURPOSE) AND OF ALL OTHER OBLIGATIONS OR LIABILITIES ON THE PART OF DSC. DSC MAKES NO OTHER WARRANTIES. DSC NEITHER ASSUMES NOR AUTHORIZES ANY OTHER PERSON PURPORTING TO ACT ON ITS BEHALF TO MODIFY OR TO CHANGE THIS WARRANTY, NOR TO ASSUME FOR IT ANY OTHER WARRANTY OR LIABILITY CONCERNING THIS SOFTWARE PRODUCT.
(e) EXCLUSIVE REMEDY AND LIMITATION OF WARRANTY
UNDER NO CIRCUMSTANCES SHALL DSC BE LIABLE FOR ANY SPECIAL, INCIDENTAL, CONSEQUENTIAL, OR INDIRECT DAMAGES BASED UPON BREACH OF WARRANTY, BREACH OF CONTRACT, NEGLIGENCE, STRICT LIABILITY, OR ANY OTHER LEGAL THEORY. SUCH DAMAGES INCLUDE, BUT ARE NOT LIMITED TO, LOSS OF PROFITS, LOSS OF THE SOFTWARE PRODUCT OR ANY ASSOCIATED EQUIPMENT, COST OF CAPITAL, COST OF SUBSTITUTE OR REPLACEMENT EQUIPMENT, FACILITIES OR SERVICES, DOWN TIME, PURCHASERS TIME, THE CLAIMS OaF THIRD PARTIES, INCLUDING CUSTOMERS, AND INJURY TO PROPERTY.
WARNING: DSC recommends that the entire system be completely tested on a regular basis. However, despite frequent testing, and due to, but not limited to, criminal tampering or electrical disruption, it is possible for this SOFTWARE PRODUCT to fail to perform as expected.
Website: www.dsc.com
Tech. support: 1-800- 387-3630
D-308443 Rev. 0 (03/22)

©2022 Johnson Controls. All rights reserved. JOHNSON CONTROLS, TYCO, and DSC are trademarks and/or registered trademarks. Unauthorized use is strictly prohibited.

























