Doorsafe DS3113 Wifi Door/Window Magnetic Contact Sensor

ADD TO THE APP
STEP 1: → Download the app:

https://play.google.com/store/apps/details?id=com.tuya.smartlife&hl=en
https://apps.apple.com/us/app/smart-life-smart-living/id1115101477
- Create an account in the app.
- Once the app is ready to use, grab the sensor.
- Open the Sensor by pressing the button (4),

- Remove the foil from the battery, or insert a new battery into the sensor.
- The LED on the sensor will now briefly light up red.

- Now press the Reset button (5) for 5 sec. so that the LED will flash green quickly
- Now press the Reset button (5) 1 more time for 5 sec. so the LED slowly flashes green

STEP 2:
- Go to the home screen of the app.
- Press + (Add Device)
- In the app, select: ‘SENSORS’
- Select: ‘Contactsensor (WIFI)’
- Make sure your Smartphone is connected to your 2.4Ghz WiFi network
- Enter your 2.4Ghz WiFi password
- Select: ‘Confirm indicator is blinking rapidly’
- Select: ‘Blink slowly’
- Choose ‘Go to Connect
- The sensor is now transmitting a WiFi network when the LED on the sensor is flashing slowly.
The network that the sensor is transmitting starts with ‘Smartlife-XXXX’. Now let the smartphone connect to this network. - As soon as the smartphone is connected to the SmartLife-XXXX WiFi network, go back to the Smart Life app
- View the progress in the app, this can take up to 2 minutes
- As soon as the addition to the app is successful: give the sensor a name.
MOUNTING
ASSEMBLY INSTRUCTIONS
- Place the magnet (2) on the door and the sensor (3) on the door frame.
- Maximum 20 mm space between the magnet (2) and sensor (3).
- LED indicator light should switch ON red when opening/closing.
- Use double-sided tape or screws to fix parts.


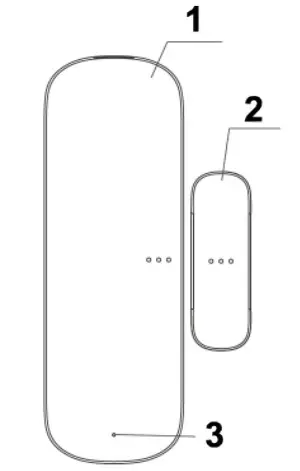
EXPLANATION PARTS
- 1. Sensor on the inside:
+ reset button
+ CR123A DV 3V battery - 2. Magnet
- 3. LED indicator light

SPECIFICATIONS
| Internet: | 2.4GHz. WIFI |
| Battery: | DC 3V CR123A |
| Max. distance sensors: | 20 mm |
| Dimension sensor: | 82 x 28 x 20.6 mm |
| Magnet size: | 36 x 12 x 18.8 mm |
| Use: | indoors only |
| Temperature: | -10~55 Celsius |
| App: | Smart Life /Tuya Smart |
The app shows: – how full the battery is, – whether the door/window is open or closed,
- open/close history.
- You can switch on/off in the app whether the sensor should give a push notification via the app when it is opened. When closing, no push notification can be given, but closing can be seen in the app
- If the sensor flashes quickly, the app will automatically try to connect to the network that transmits the sensor. But this doesn’t always work. Therefore, it is preferable to choose the mode where the sensor flashes slowly and it is necessary to manually connect to the network transmitting the sensor.
SCAN THIS QR CODE TO WATCH A VIDEO ON YOUTUBE

WWW.DOORSAFE.EU
Doorsafe Postbus 63 3645 ZK Vinkeveen
The Netherlands www.doorsafe.eu
Made in China

























