MC-303 PG+ Vanishing Door/Window Magnetic Contact
Installation Guide
Installation guidelines
The reference to MC-303 PG+ throughout this manual includes the model MC-303 P9M0.
CAUTION: Only qualified personnel may install this equipment. Place this device in nonhazardous indoor locations only.
Important: Check the device and the entire alarm system weekly to ensure optimal performance.
Note:
To comply with FCC RF exposure compliance requirements, locate the device at a distance of at least 20 cm from all persons during normal operation.
Do not co-locate the antennas used for this product, or operate them in conjunction with any other antenna or transmitter.
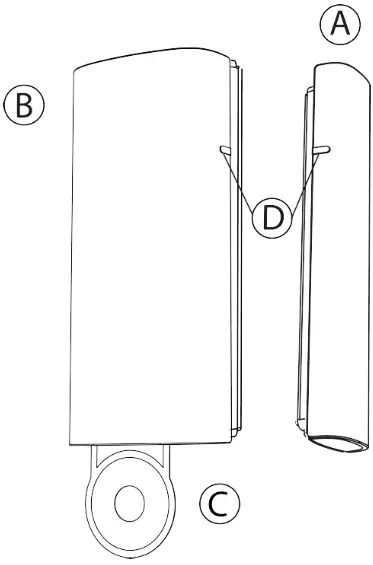
Figure 1: MC-303 PG+

| Callout | Description |
| A | Magnet |
| B | Device |
| C | Battery pull-tab |
| D | Positioning marks |
For more information refer to the section About MC-303 PG+.
Enrolling the device
- Refer to the control panel installation manual for the complete set of enrollment instructions and testing procedures.
- From the Installation menu, enter the Device enrollment menu and select the option to add a new device.
- Remove the battery pull-tab to power on the device and begin the auto-enrollment process. If the battery pull tab is not available or if the device does not automatically enroll, open the device cover to trigger the enrollment.
- If requested, enter the PIN code printed on the device label.
- To manually enroll the device:
a. Scan the QR Code on the device box, using the IQ4 camera if available, or see step b.
b. Manually enter the device ID, printed on the product label, in the format 103-XXXX.
Note: If the device has been powered up for more than 2 hours it will be identified by the system only after the device has been reset.
The MC-303 PG+ is enrolled with device ID 103-XXXX. In fallback mode, it enrolls as MC-303 PG2 with device ID 109-XXXX. - Select the desired zone.
- Configure any device parameters that are required.
- Mount and test the device. See Local diagnostics test for information on testing the device.
Configuring the device parameters
- Enter the DEVICE SETTINGS menu and select the required configuration as described in the following table:
Table 1: Configuration optionsOption Action Alarm LED Define whether the alarm LED indication will be activated. Optional settings: LED ON (default) and LED OFF.
Mounting the device using tape
- Peel the release liners off the two strips of double-sided adhesive tape and attach the tape to the back of the device and the magnet. See the following figure.
Figure 2: Double-sided adhesive tape placement on the device and magnet
Callout Description A Double-sided adhesive tape - Place the device on the frame of a window or door and place the magnet on the moving surface of the window or door itself, directed according to the positioning marks. See the following figure.
Figure 3: Device and magnet position on the door and door frame
Mounting the device using screws
- To open the device cover, insert and turn a 4mm flat screwdriver into the four corners of the device.
Figure 4: Device cover removal
- Screw the device base onto the door or window frame. See figure 5 A.
Note: Make sure to fasten the break-away segment to the frame. If the device is forcibly removed from the wall, this segment will break away from the base, causing the tamper switch to open. See figure 5 B. - Clip the cover onto the device base. See figure 5 C.
Figure 5: Device screw installation
Callout Description A Screwing device base B Break-away segment C Closing the device cover
Replacing the battery
Before you begin:
CAUTION: Risk of explosion if the battery is replaced by an incorrect type. Dispose of used batteries according to the manufacturer’s instructions and according to local rules and regulations.
WARNING: This product contains a coin battery. If it is swallowed, it can cause severe internal burns in just 2 hours and can lead to death. Keep new and used batteries away from children.
If the battery compartment does not close securely, stop using the product, and keep it away from children. Seek immediate medical attention if you think batteries might have been swallowed or placed inside any part of the body.
- Remove the device cover. See Figure 4.
- Wedge a flat screwdriver under the battery. See A in the following figure.
- Twist the screwdriver using leverage to remove the battery.
- Insert the battery at an angle while observing battery polarity.
Note: When you insert the battery, the (+) symbol should be visible. See B in the following figure.
Figure 6: Battery removal and insertion
- Press down on the battery until it fits into place.
- Close the device cover. See figure 5 C.
Note: After restoring a low battery, the system may take up to 5 minutes to clear the trouble.
Directional magnet distances for event triggers
The following figure and table display the directional magnet distances that trigger open or close events.
Figure 7: Range coverage directions 
Table 2: Directional magnet distances for event triggers
| Non-metallic surface | Supports | Metallic surface | ||
| Opening | Closing | Direction | Opening | Closing |
| 27 mm (1.06 in.) | 23 mm (0.91 in.) | X | 12 mm (0.47 in.) | 10 mm (0.39 in.) |
| 16 mm (0.63 in.) | 14 mm (0.55 in.) | Y | 15 mm (0.59 in.) | 12 mm (0.47 in.) |
| 27 mm (1.06 in.) | 22 mm (0.87 in.) | Z | 26 mm (1.02 in.) | 21 mm (0.83 in.) |
Local diagnostics test
About this task:
After power-up or closing the cover, the device automatically enters Test Mode for 15 minutes. To manually enter the devices into Test Mode refer to the Control Panel Installer Guide.
- Before you start the test, remove the device cover from the base. See Figure 4.
- Close the cover to return the tamper switch to its normal position.
- Momentarily open the door or window and verify the red LED blinks, indicating detection.
After 2 seconds one of the LEDs blinks three times.
The following table displays the received signal strength indication.
Table 3: Signal strength indication
| LED response | Reception |
| Green LED blinks | Strong |
| Yellow LED blinks | Good |
| Red LED blinks | Poor |
| No blinks | No communication |
Important: Reliable reception must be assured. Therefore, poor signal strength is not acceptable. If you receive a poor signal from the device, relocate it and re-test until a strong signal strength is received.
Note: It is recommended to have strong signal strength and you must verify the signal strength using the control panel’s diagnostic test. For detailed Diagnostics Test instructions, refer to the control panel installer guide.
Specifications
Table 4: Specifications
| Frequency Band | 912 to 919 MHz |
| Modulation | GFSK |
| Communication Protocol | PowerG |
| Battery Type | 3 V Lithium CR2450 Panasonic or GP battery only |
| Battery Life | 6 years with typical use at room temperature 25°C (77°F) |
| Low Battery Threshold | 2 V at room temperature 25°C (77°F) |
| Nominal Operating Voltage | 3 V |
| Operating Temperature | -10°C (14°F ) to 55°C (131°F) |
| Storage Temperature | -20°C (-4°F) to 70°C (158°F) |
| Relative Humidity | Up to 95% non-condensing |
| Dimensions (LxWxD) | 68 mm x 31 mm x 12 mm (2.7 in. x 1.1 in. x 0.4 in.) |
| Weight (including battery) | 20 g (0.71 oz) |
| Color | White |
Compliance with standards
MC-303 PG+ complies with the following standards:
| MC-303 P9M0 | FCC (915 MHz): 47CFR part 15.247 |
FCC Compliance Statement
This device complies with FCC Rules Part 15 license-exempt standard(s). Operation is subject to two conditions:
(1) This device may not cause harmful interference, and (2) this device must accept any interference that may be received or that may cause undesired operation.
Note: The digital circuit of this device has been tested and found to comply with the limits for a Class B digital device, pursuant to part 15 of the FCC Rules. These limits are designed to provide reasonable protection against harmful interference in a residential installation.
This equipment generates, uses, and can radiate radio frequency energy and, if not installed and used in accordance with the instructions, may cause harmful interference to radio communications. However, there is no guarantee that interference will not occur in a particular installation. If this equipment does cause harmful interference to radio or television reception, which can be determined by turning the equipment off and on, the user is encouraged to try to correct the interference by one or more of the following measures:
- -Reorient or relocate the receiving antenna.
- -Increase the separation between the equipment and receiver.
- -Connect the equipment into an outlet on a circuit different from that to which the receiver is connected.
- -Consult the dealer or an experienced radio/TV technician for help.
WARNING: Changes or modifications to this equipment not expressly approved by the party responsible for compliance (Visonic Ltd.) could void the user’s authority to operate the equipment.
To comply with FCC RF exposure compliance requirements, the device should be located at a distance of at least 20 cm from all persons during normal operation. The antennas used for this product must not be co-located or operated in conjunction with any other antenna or transmitter.
Safety Instructions
Read the safety information before you install the equipment.
The detector shall be installed and used within an environment that provides the pollution degree max 2 and over voltages category II in non-hazardous locations, indoor only. The equipment is designed to be installed by SERVICE PERSONS only; (SERVICE PERSON is defined as a person having the appropriate technical training and experience necessary to be aware of hazards to which that person may be exposed in performing a task and of measures to minimize the risks to that person or other persons).
![]() | W.E.E.E Product recycling declaration For information regarding the recycling of this product, you must contact the company from which you originally purchased it. If you are discarding this product and not returning it for repair then you must ensure that it is returned as identified by your supplier. This product is not to be thrown away with everyday waste. Directive 2012/19/EU Waste Electrical and Electronic Equipment. |
About MC-303 PG+
The MC-303 PG+ is a thin, ultra-long-life PowerG magnetic contact device that is compatible with Johnson Controls’ PowerG control panels.
The MC-303 PG+ includes a built-in reed switch that opens a circuit when the magnet is moved from its usual position. The device has the following features:
- Two-way PowerG communication with the control panel
- Front and back cover tamper detection
- LED light signal strength indication during installation
- Discreet transmission of supervision message
- PowerG two-way frequency hopping spread spectrum time-division multiple access (FHSSTDMA) technologies
- Low battery indication
- Remote firmware upgrade
Warranty
Visonic Ltd. (“Seller”) warrants the Products to the original purchaser only (the “Buyer”) against defective workmanship and materials under normal use of the Products for a period of twelve (12) months from the date of shipment by the Seller.
This Warranty is absolutely conditional upon the Products having been properly installed, maintained, and operated under conditions of normal use in accordance with the Seller’s recommended installation and operation instructions. Products that have become defective for any other reason, according to the Seller’s discretion, such as improper installation, failure to follow recommended installation and operational instructions, neglect, wilful damage, misuse or vandalism, accidental damage, alteration or tampering, or repair by anyone other than the Seller, are not covered by this Warranty.
There is absolutely no warranty on software, and all software products are sold as a user license under the terms of the software license agreement included with such Product.
The Seller does not represent that Products may not be compromised and/or circumvented or that the Products will prevent any death and/or personal injury and/or damage to property resulting from burglary, robbery, fire, or otherwise, or that the Products will in all cases provide adequate warning or protection. The Products, properly installed and maintained, only reduce the risk of such events without warning and it is not a guarantee or insurance that such events will not occur.
Conditions to Void Warranty: This warranty applies only to defects in parts and workmanship relating to normal use of the Products. It does not cover:
- damage incurred in shipping or handling;
- damage caused by disasters such as fire, flood, wind, earthquake, or lightning;
- damage due to causes beyond the control of the Seller such as excessive voltage, mechanical shock, or water damage;
- damage caused by unauthorized attachment, alterations, modifications, or foreign objects being used with or in conjunction with the Products;
- damage caused by peripherals (unless such peripherals were supplied by the Seller;
- defects caused by failure to provide a suitable installation environment for the products;
- damage caused by the use of the Products for purposes other than those for which they were designed;
- damage from improper maintenance;
- damage arising out of any other abuse, mishandling, or improper application of the Products.
Items Not Covered by Warranty: In addition to the items which void the Warranty, the following items shall not be covered by Warranty: (i) freight cost to the repair center; (ii) customs fees, taxes, or VAT that may be due; (iii) Products which are not identified with the Seller’s product label and lot number or serial number; (iv) Products disassembled or repaired in such a manner as to adversely affect performance or prevent adequate inspection or testing to verify any warranty claim. Access cards or tags returned for the replacement under warranty will be credited or replaced at the Seller’s option.
This warranty is exclusive and expressly in lieu of all other warranties, obligations, or liabilities, whether written, oral, express, or implied, including any warranty of merchantability or fitness for a particular purpose, or otherwise. In no case shall the SELLER be liable to anyone for any consequential or incidental damages for breach of this warranty or any other warranties whatsoever, as aforesaid.
The Seller shall in no event be liable for any special, indirect, incidental, consequential, or punitive damages or for loss, damage, or expense, including loss of use, profits, revenue, or goodwill, directly or indirectly arising from Purchaser’s use or inability to use the Product, or for loss or destruction of other property or from any other cause, even if Seller has been advised of the possibility of such damage.
The SELLER shall have no liability for any death, personal and/or bodily injury and/or damage to property or other loss whether direct, indirect, incidental, consequential, or otherwise, based on a claim that the Product failed to function. However, if the Seller is held liable, whether directly or indirectly, for any loss or damage arising under this limited warranty, the SELLER’S maximum liability (if any) shall not, in any case, exceed the purchase price of the Product INVOLVED, which shall be fixed as liquidated damages and not as a penalty, and shall be the complete and exclusive remedy against the Seller.
When accepting the delivery of the Products, the buyer agrees to the said conditions of sale and warranty and he recognizes having been informed of them.
Some jurisdictions do not allow the exclusion or limitation of incidental or consequential damages, so these limitations may not apply under certain circumstances.
The Seller shall be under no liability whatsoever arising out of the corruption and/or malfunctioning of any telecommunication or electronic equipment or any programs. The Seller’s obligations under this Warranty are limited solely to repair and/or replace at the Seller’s discretion any Product or part thereof that may prove defective. Any repair and/or replacement shall not extend the original warranty period. The Seller shall not be responsible for dismantling and/or reinstallation costs. To exercise this Warranty the Products must be returned to the Seller freight pre-paid and insured. All freight and insurance costs are the responsibility of the Buyer and are not included in this Warranty.
This warranty shall not be modified, varied, or extended, and the Seller does not authorize any person to act on its behalf in the modification, variation, or extension of this warranty. This warranty shall apply to the Products only. All products, accessories, or attachments of others used in conjunction with the Products, including batteries, shall be covered solely by their own warranty if any. The Seller shall not be liable for any damage or loss whatsoever, whether directly, indirectly, incidentally, consequentially, or otherwise, caused by the malfunction of the Products due to products, accessories, or attachments of others, including batteries, used in conjunction with the Products. This Warranty is exclusive to the original Buyer and is not assignable.
This Warranty is in addition to and does not affect your legal rights. Any provision in this warranty which is contrary to the Law in the state or country where the Product is supplied shall not apply.
Governing Law: This disclaimer of warranties and limited warranty are governed by the domestic laws of Israel.
Warning
The user must follow the Seller’s installation and operating instructions including testing the Product and its whole system at least once a week and taking all necessary precautions for his/her safety and the protection of his/her property.
Email: [email protected]
Website: www.visonic.com
D-308437 Rev. 0 (01/22)
©2022 Johnson Controls.
All rights reserved.
JOHNSON CONTROLS, TYCO, and VISONIC are trademarks and/or registered trademarks. Unauthorized use is strictly prohibited.

























