RISCO RWX73M 2-Way Wireless Magnetic Door/Window Contact with Shutter
TECHNICAL SPECIFICATION
| ELECTRICAL | Modulation type: ASK |
| Battery Type:CR123 3V Lithium Battery | Battery Life: 3 years typical |
| Current Consumption: 11µA standby, 40 mA max | Low battery: 2.6 V |
| Frequency: RWX73M43300x 433.92 MHz White | Contact Size: 32 x 35 x 72 mm (1.3 x 1.4 x 2.8 in.) |
| Magnet Size:16 x 11 x 72 mm (0.6 x 0.44 x 2.8 in.) | |
| Output power: 10mW Max. | |
| ENVIRONMENTAL | |
| Operating temperature: -10°C—55°C (14°F—131°F) | |
| Storage temperature: -20°C—60°C (-4°F—140°F) | |
| Dead Time (HOLD ON): 2.5 minutes | RF immunity: According to EN50130-4 |
| Supervision Transmission: 0-255 minutes | |
| Specifications are subject to change without prior notice. Should any questions arise please contact your supplier. | |
GENERAL DESCRIPTION
The RWX73M is a 2-way supervised transmitter that combines the Magnetic/Door Contact (against opening doors and windows) with additional universal input or shutter. The RWX73M operates with RISCO’s 2-way wireless systems.
MAIN FEATURES
- Communication: Bi-directional
- Range: Up to 300 m (1,000 ft.) range line of sight
- Supervision: Up to 255 minutes
- Selective input termination: NO, NC, DEOL, Shutter
- Selective input response: 10 / 500ms
- Tamper protection: Back + cover
LED INDICATION
- Upon successful learning: short flash sequence
- Normal operation: brief light upon transmission
- Low battery: short flash sequence during transmission
OPERATING MODE
The RWX73M reports events from IN2 and from the magnetic reed switch. In normal operation mode, an alarm is sent when the input or magnet is triggered. When restored, it transmits a restoral message.
NOTE: If configured as Roller Shutter, the magnetic reed switch will not function.
INSTALLATION
Step 1: Transmitter-to-Receiver Communication Setup
The RWX73M must identify itself to the system’s receiver by writing its coded message into the receiver’s address memory. This registration is performed either by entering the RWX73M’s 11-digit serial code number or by performing the following RF allocation steps:
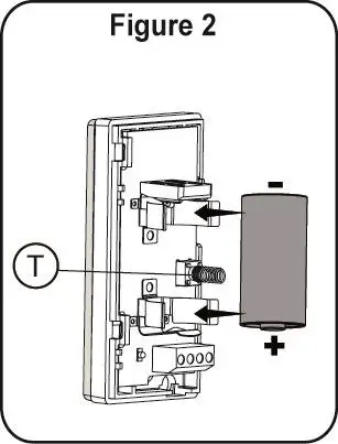
- Remove the front cover (Fig 1).

- Set the main unit to Learn mode.
- Remove the battery from the insulation material and reinsert it into the transmitter, paying attention to the polarity (Fig. 2).

- Send a written message by pressing the front tamper switch (without detaching back bracket) for at least 3 seconds until panel recognition displays (Fig. 2).
NOTE: After registration or after exiting the control panel’s Programming mode, the magnet will receive 2-Way data from the control panel for approx. 30 seconds. During this time period, the magnet will not respond to any trigger but only to tamper activation. At the termination of this time period, the magnet will revert to normal operation.
NOTE: Wait at least 1 minute before closing the front cover
Step 2: Input Wiring
Use the diagrams for appropriate input termination wiring. For DEOL termination connect two 10K Ohm resistors (supplied). See Figure 8.
NOTE: Cable length must be 15m Max.
Step 3: Selecting the Mounting Location
- Select a location for best communication quality and near the intended wired detector. It’s recommended to place the unit at the highest possible position.
- Temporarily attach the unit to this point using two-sided adhesive tape.
- Generate an alarm signal (by momentarily opening or closing the input terminals) and verify that the receiver has received the signal. If the alarm signal is not detected, reposition the transmitter and try again.
Step 4: Mounting (Fig. 3—Fig. 6)
- Detach the back of the transmitter from the back bracket (Fig. 3A). At mounting location note the alignment marks for both components (Fig. 3B), and then install accordingly using 2 mountingscrews and a back tamper screw (Fig 3C).

- Detach magnet casing (Fig. 4A) and install with mounting screws (Fig 4B).

- Optionally, mount spacer(s) for transmitter and/or magnet as required(Fig. 6), positioned between the back bracket and the mounting surface.

NOTES
- It’s best to mount the transmitter on the non-moving part (door/window frame), and the magnet on the moving part.
- Spacers are purchased separately (Figure 6).
- The mark on the magnet’s case must be aligned with the mark on the transmitter’s case (Fig. 5).


- For installations on wood or alloy, the maximum distance for normal operation is 10 mm (1cm), while for metal ferromagnetic materials (such as iron) it is 5 mm (Fig. 5).
Step 5: Defining Parameters
These parameters can be defined for RWX73M:
If defined
EN 50131-2-6 Grade 2 Environmental Class II
RED COMPLIANCE STATEMENT
Hereby, RISCO Ltd. declares that this product is in compliance with the essential requirements and other relevant provisions of Directive 2014/53/EU. The declaration of conformity may be consulted at
www.riscogroup.com
CONTACTING RISCO GROUP
- ITALY: Tel: +39-02-66590054
E-mail: [email protected] - CHINA: (Hu) Tel: +86-21-52390066 E-mail: [email protected]
- SPAIN: Tel: +34-91-490-2133
E-mail: [email protected] - ISRAEL: Tel: +972-3-963-7777
E-mail: [email protected] - USA: Tel: +1-631-719-4400
E-mail: [email protected] - UK: Tel: +44-(0)-161-655-5500
E-mail: [email protected] - FRANCE: Tel: +33-164-73-28-50
E-mail: [email protected] - BELGIUM: Tel: +32-2522-7622
E-mail: [email protected]
RCM Statement
The Equipment complies with the regulatory requirements of Australia and New Zealand.
STANDARD LIMITED PRODUCT WARRANTY (“LIMITED WARRANTY”)
RISCO Ltd. (“RISCO”) guarantees RISCO’s hardware products (“Products”) to be free from defects in materials and workmanship when used and stored under normal conditions and in accordance with the instructions for use supplied by RISCO, for a period of (i) 24 months from the date of delivery of the Product (the “Warranty Period”). This Limited Warranty covers the Product only within the country where the Product was originally purchased and only covers Products purchased as new. Contact with customers only. This Limited Warranty is solely for the benefit of customers who purchased the Products directly from RISCO or from an authorized distributor of RISCO. RISCO does not warrant the Product to consumers and nothing in this Warranty obligates RISCO to accept Product returns directly from end-users who purchased the Products for their own use from RISCO’s customer or from any installer of RISCO, or otherwise provide a warranty or other services to any such end user directly. RISCO’s authorized distributor or installer shall handle all interactions with its end-users in connection with this Limited Warranty. RISCO’s authorized distributor or installer shall make no warranties, representations, guarantees or statements to its end users or other third parties that suggest that RISCO has any warranty or service obligation to, or any contractual privy with, any recipient of a Product. Remedies. In the event that a material defect in a Product is discovered and reported to RISCO during the Warranty Period, RISCO shall accept return of the defective Product in accordance with the below RMA procedure and, at its option, either (i) repair or have repaired the defective Product, or (ii) provide a replacement product to the customer. Return Material Authorization. In the event that you need to return your product for repair or replacement, RISCO will provide you with a Return Merchandise Authorization Number (RMA#) as well as return instructions. Do not return your product without prior approval from RISCO. Any Product returned without a valid, unique RMA# will be refused and returned to the sender at the sender’s expense. The returned Product must be accompanied with a detailed description of the defect discovered (“Defect Description”) and must otherwise follow RISCO’s then-current RMA procedure published in RISCO’s website at www.riscogroup.com in connection with any such return. If RISCO determines in its reasonable discretion that any Product returned by the customer conforms to the applicable warranty (“Non-Defective Product”), RISCO will notify the customer of such determination and will return the applicable Product to the customer at the customer’s expense. In addition, RISCO may propose and assess customers a charge for testing and examination of Non-Defective Products. Entire Liability. The repair or replacement of Products in accordance with this Limited Warranty shall be RISCO’s entire liability and the customer’s sole and exclusive remedy in case a material defect in a Product is discovered and reported as required herein. RISCO’s obligation and this Limited Warranty are contingent upon the full payment by the customer for such Product and upon proven weekly testing and examination of the Product functionality. Limitations. This Limited Warranty is the only warranty made by RISCO with respect to the Products. The warranty is not transferable to any third party. To the maximum extent permitted by applicable law, this Limited Warranty shall not apply and will be void if: (i) the conditions set forth above are not met (including, but not limited to, full payment by the customer for the Product and proven weekly testing and examination of the Product functionality); (ii) if the Products or any part or component thereof: (a) have been subjected to improper operation or installation; (b) have been subject to neglect, abuse, wilful damage, abnormal working conditions, failure to follow RISCO’s instructions (whether oral or in writing); (c) have been misused, altered, modified or repaired without RISCO’s written approval or combined with, or installed on products, or equipment of the customer or of any third party; (d) have been damaged by any factor beyond RISCO’s reasonable control such as, but not limited to, power failure, electric power surges, or unsuitable third party components and the interaction of software therewith or (e) any failure or delay in the performance of the Product attributable to any means of communication provided by any third party service provider, including, but not limited to, GSM interruptions, lack of or internet outage and/or telephony failure.
BATTERIES ARE EXPLICITLY EXCLUDED FROM THE WARRANTY AND RISCO SHALL NOT BE HELD RESPONSIBLE OR LIABLE IN RELATION THERETO, AND THE ONLY WARRANTY APPLICABLE THERETO, IF ANY, IS THE BATTERY MANUFACTURER’S WARRANTY. RISCO does not install or integrate the Product in the end user’s security system and is therefore not responsible for and cannot guarantee the performance of the end user’s security system which uses the Product or which the Product is a component of. This Limited Warranty applies only to Products manufactured by or for RISCO. Further, this Limited Warranty does not apply to any software (including operating system) added to or provided with the Products or any third-party software, even if packaged or sold with the RISCO Product. Manufacturers, suppliers, or third parties other than RISCO may provide their own warranties, but RISCO, to the extent permitted by law and except as otherwise specifically set forth herein, provides its Products “AS IS”. Software and applications distributed or made available by RISCO in conjunction with the Product (with or without the RISCO brand), including, but not limited to system software, as well as P2P services or any other service made available by RISCO in relation to the Product, are not covered under this Limited Warranty. Refer to the Terms of Service at: www.riscogroup.com/warranty for details of your rights and obligations with respect to the use of such applications, software or any service. RISCO does not represent that the Product may not be compromised or circumvented; that the Product will prevent any personal injury or property loss by burglary, robbery, fire or otherwise, or that the Product will in all cases provide adequate warning or protection. A properly installed and maintained alarm may only reduce the risk of a burglary, robbery or fire without warning, but it is not insurance or a guarantee that such will not occur or will not cause or lead to personal injury or property loss.
CONSEQUENTLY, RISCO SHALL HAVE NO LIABILITY FOR ANY PERSONAL INJURY, PROPERTY DAMAGE OR OTHER LOSS BASED ON ANY CLAIM AT ALL INCLUDING A CLAIM THAT THE PRODUCT FAILED TO GIVE WARNING.
EXCEPT FOR THE WARRANTIES SET FORTH HEREIN, RISCO AND ITS LICENSORS HEREBY DISCLAIM ALL EXPRESS, IMPLIED OR STATUTORY, REPRESENTATIONS, WARRANTIES, GUARANTEES, AND CONDITIONS WITH REGARD TO THE PRODUCTS, INCLUDING BUT NOT LIMITED TO ANY REPRESENTATIONS, WARRANTIES, GUARANTEES, AND CONDITIONS OF MERCHANTABILITY, FITNESS FOR A PARTICULAR PURPOSE, TITLE AND WARRANTIES AGAINST HIDDEN OR LATENT DEFECTS, TO THE EXTENT PERMITTED BY LAW. WITHOUT LIMITING THE GENERALITY OF THE FOREGOING, RISCO AND ITS LICENSORS DO NOT REPRESENT OR WARRANT THAT: (I) THE OPERATION OR USE OF THE PRODUCT WILL BE TIMELY, SECURE, UNINTERRUPTED OR ERROR-FREE; (ii) THAT ANY FILES, CONTENT OR INFORMATION OF ANY KIND THAT MAY BE ACCESSED THROUGH THE PRODUCT SHALL REMAIN SECURED OR NON DAMAGED. CUSTOMER ACKNOWLEDGES THAT NEITHER RISCO NOR ITS LICENSORS CONTROL THE TRANSFER OF DATA OVER COMMUNICATIONS FACILITIES, INCLUDING THE INTERNET, GSM OR OTHER MEANS OF COMMUNICATIONS AND THAT RISCO’S PRODUCTS, MAY BE SUBJECT TO LIMITATIONS, DELAYS, AND OTHER PROBLEMS INHERENT IN THE USE OF SUCH MEANS OF COMMUNICATIONS. RISCO IS NOT RESPONSIBLE FOR ANY DELAYS, DELIVERY FAILURES, OR OTHER DAMAGE RESULTING FROM SUCH PROBLEMS. RISCO WARRANTS THAT ITS PRODUCTS DO NOT, TO THE BEST OF ITS KNOWLEDGE, INFRINGE UPON ANY PATENT, COPYRIGHT, TRADEMARK, TRADE SECRET OR OTHER INTELLECTUAL PROPERTY RIGHT IN ANY EVENT RISCO SHALL NOT BE LIABLE FOR ANY AMOUNTS REPRESENTING LOST REVENUES OR PROFITS, PUNITIVE DAMAGES, OR FOR ANY OTHER INDIRECT, SPECIAL, INCIDENTAL, OR CONSEQUENTIAL DAMAGES, EVEN IF THEY WERE FORESEEABLE OR RISCO HAS BEEN INFORMED OF THEIR POTENTIAL.




























